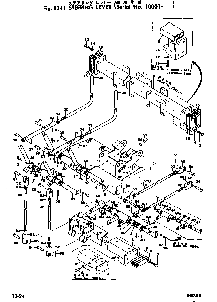
Запчасти Komatsu D80A-12 РУЛЕВ. УПРАВЛЕНИЕ РЫЧАГ КОНЕЧНАЯ ПЕРЕДАЧА И СИСТЕМАУПРАВЛЕНИЯ ПОВОРОТОМ

Схема запчастей Komatsu D80A-12 - РУЛЕВ. УПРАВЛЕНИЕ РЫЧАГ КОНЕЧНАЯ ПЕРЕДАЧА И СИСТЕМАУПРАВЛЕНИЯ ПОВОРОТОМ
FIT
1:1
100%

Артикул

Название

Примечание

Количество

1

154-44-11110

BRACKET

SN: 10001-24999

1шт.

2

154-44-11125

SUPPORT

SN: 10588-24999

1шт.

|2

154-44-11122

BRACKET

SN: 10011-10587

1шт.

|2

154-44-11121

BRACKET

SN: 10001-10010

1шт.

3

154-44-11371

BRACKET

SN: 10588-24999

1шт.

4

01010-31230

BOLT

SN: 10588-24999

2шт.

5

01602-01236

WASHER

SN: 10588-24999

2шт.

6

01010-31225

BOLT

SN: 10001-24999

4шт.

7

01010-31230

BOLT

SN: 10588-24999

2шт.

|7

01010-31235

BOLT

SN: 10001-10587

2шт.

8

01602-01236

WASHER

SN: 10001-24999

6шт.

9

150-43-81130

BRACKET

SN: 21356-24999

1шт.

|9

0

BRACKET

SN: 11428-21355

1шт.

|9

150-43-31112

BRACKET

SN: 10588-11427

1шт.

|9

150-43-31110

BEAM

SN: 10001-10587

1шт.

|9

154-44-11132

BEAM

SN: 10000-10000

1шт.

|9

154-44-11131

BRACKET

SN: 10000-10000

1шт.

|9

154-44-11130

BEAM

SN: 10000-10000

1шт.

10

154-44-11380

BRACKET

SN: 10588-11427

1шт.

11

01010-31230

BOLT

SN: 10588-11427

3шт.

12

01602-01236

WASHER

SN: 10588-11427

3шт.

13

01010-31230

BOLT

SN: 10588-24999

8шт.

|13

01010-31235

BOLT

SN: 10001-10587

8шт.

14

01602-01236

WASHER

SN: 10001-24999

8шт.

15

154-44-11150

SHIM¤ 0.5MM

SN: 10011-10587

50шт.

|15

154-44-11150

SHIM¤ 0.5MM

SN: 10001-10010

30шт.

16

154-44-11210

SHAFT

SN: 10001-24999

1шт.

17

154-44-11220

LEVER

SN: 10001-24999

2шт.

18

06120-02520

BEARING

SN: 10001-24999

2шт.

19

06122-02504

SEAL

SN: 10001-24999

4шт.

20

154-44-11230

SPACER

SN: 10001-24999

1шт.

21

01010-30812

BOLT

SN: 14660-24999

1шт.

|21

01000-30812

BOLT

SN: 10001-14659

1шт.

22

01602-00825

WASHER

SN: 10001-24999

1шт.

23

07020-00000

FITTING

SN: 10001-UP

1шт.

24

154-44-11240

SHAFT

SN: 10001-UP

1шт.

25

154-44-11250

LEVER

SN: 10001-UP

2шт.

26

06120-02520

BEARING

SN: 10001-UP

2шт.

27

06122-02504

SEAL

SN: 10001-UP

4шт.

28

154-44-11260

SPACER

SN: 10001-UP

1шт.

29

01010-30812

BOLT

SN: 14660-UP

1шт.

|29

01000-30812

BOLT

SN: 10001-14659

1шт.

30

01602-00825

WASHER

SN: 10001-UP

1шт.

31

07020-00675

FITTING

SN: 10001-UP

1шт.

32

154-44-11270

ROD

SN: 10001-UP

2шт.

33

150-43-11472

ROD

SN: 6515-UP

2шт.

34

01582-01613

NUT

SN: 14660-UP

2шт.

|34

01501-31608

NUT

SN: 10001-14659

2шт.

35

09305-11400

KNOB

SN: 10001-UP

2шт.

36

04205-01235

PIN

SN: 10001-UP

4шт.

37

04050-03020

PIN

SN: 10001-UP

4шт.

38

154-44-11210

SHAFT

SN: 10001-UP

1шт.

39

154-44-11281

LEVER

SN: 15596-UP

1шт.

|39

154-44-11280

LEVER

SN: 10001-15595

1шт.

40

06120-02520

BEARING

SN: 10001-UP

2шт.

41

06122-02504

SEAL

SN: 10001-UP

2шт.

42

154-44-11290

SPACER

SN: 10001-15595

1шт.

43

154-44-11311

LEVER

SN: 15596-UP

1шт.

|43

154-44-11310

LEVER

SN: 10001-15595

1шт.

44

06120-02520

BEARING

SN: 15596-UP

2шт.

|44

06120-02520

BEARING

SN: 10001-15595

1шт.

45

06122-02504

SEAL

SN: 10001-UP

2шт.

46

01010-30812

BOLT

SN: 14660-UP

1шт.

|46

01000-30812

BOLT

SN: 10001-14659

1шт.

47

01602-00825

WASHER

SN: 10001-UP

1шт.

48

07020-00675

FITTING

SN: 10001-UP

1шт.

49

154-44-11320

ROD

SN: 10001-UP

2шт.

50

154-44-11330

ROD

SN: 10001-UP

1шт.

51

154-44-11340

ROD

SN: 10001-UP

1шт.

52

04210-11248

YOKE

SN: 10001-UP

8шт.

53

01582-01210

NUT

SN: 10001-UP

8шт.

54

04205-01235

PIN

SN: 10001-UP

8шт.

55

04050-03020

PIN

SN: 10001-UP

8шт.

56

154-44-11350

PLATE

SN: 10001-UP

2шт.

57

154-44-11360

STOPPER

SN: 10001-UP

2шт.

58

01016-30835

BOLT

SN: 10001-UP

2шт.

59

01580-00806

NUT

SN: 14660-UP

2шт.

|59

01501-30805

NUT

SN: 10001-14659

2шт.

Выбрано товаров: 78