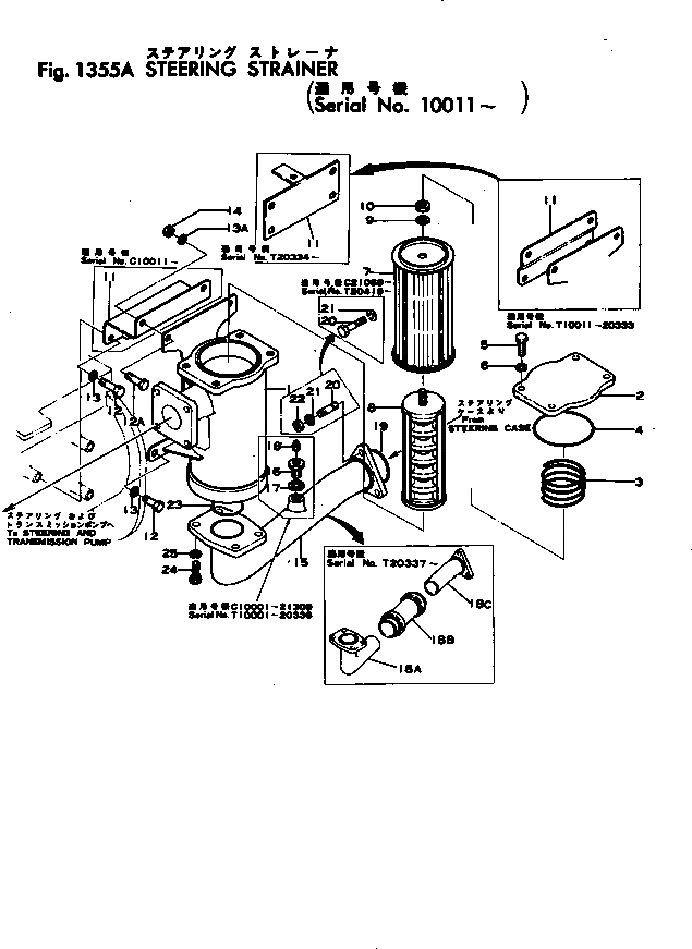
Запчасти Komatsu D80A-12 ФИЛЬТР РУЛЕВ. УПРАВЛ-Я(№-) КОНЕЧНАЯ ПЕРЕДАЧА И СИСТЕМАУПРАВЛЕНИЯ ПОВОРОТОМ

Схема запчастей Komatsu D80A-12 - ФИЛЬТР РУЛЕВ. УПРАВЛ-Я(№-) КОНЕЧНАЯ ПЕРЕДАЧА И СИСТЕМАУПРАВЛЕНИЯ ПОВОРОТОМ
FIT
1:1
100%

Артикул

Название

Примечание

Количество

|1

150-19-00020

STRAINER ASS'Y

SN: 10011-UP

1шт.

1

154-19-11111

CASE

SN: 10011-UP

1шт.

2

154-19-11121

COVER

SN: 10011-UP

1шт.

3

154-19-11230

SPRING

SN: 10011-UP

1шт.

4

07000-03120

O-RING (KIT)

SN: 10011-UP

1шт.

5

01010-31225

BOLT

SN: 10011-UP

4шт.

6

01602-01236

WASHER

SN: 10011-UP

4шт.

7

154-19-11142

SCREEN

SN: 10011-UP

1шт.

8

154-19-11250

MAGNET

SN: 10011-UP

1шт.

9

01602-01236

WASHER

SN: 10011-UP

1шт.

10

01580-01210

NUT

SN: 10011-UP

1шт.

11

150-19-11191

BRACKET

SN: 10011-UP

1шт.

|11

154-49-13320

BRACKET

SN: 10000-10000

1шт.

|11

154-49-11181

BRACKET

SN: 10000-10000

1шт.

12

01010-31225

BOLT

SN: 10011-UP

4шт.

12A

01010-31230

BOLT

SN: 20337-UP

2шт.

|12A

01010-31225

BOLT

SN: 10011-20336

2шт.

13

01602-01236

WASHER

SN: 10011-UP

4шт.

13A

01602-01236

WASHER

SN: 10011-UP

2шт.

14

01580-01210

NUT

SN: 10001-UP

2шт.

|15

154-19-18112

TUBE

SN: 21310-UP

1шт.

|15

0

TUBE ASS'Y

SN: 15596-21309

1шт.

|15

154-19-00051

TUBE ASS'Y

SN: 14660-15595

1шт.

|15

0

TUBE ASS'Y

SN: 10001-14659

1шт.

15

0

TUBE

SN: 15596-UP

1шт.

|15

0

TUBE

SN: 10001-15595

1шт.

16

154-19-17122

PLUG

SN: 14660-21309

1шт.

|16

154-19-17121

PLUG

SN: 10001-14659

1шт.

17

07003-11621

GASKET (KIT)

SN: 10001-21309

1шт.

18

07042-00108

PLUG

SN: 10001-21309

1шт.

18A

154-19-18190

TUBE

SN: 10000-10000

1шт.

18B

07332-02000

COUPLING

SN: 10000-10000

1шт.

18C

154-19-18113

TUBE

SN: 10000-10000

1шт.

19

07000-02065

O-RING (KIT)

SN: 15596-UP

1шт.

|19

07000-03055

O-RING (KIT)

SN: 10001-15595

1шт.

20

01010-31230

BOLT

SN: 21069-UP

3шт.

|20

01120-31230

STUD

SN: 10011-21068

3шт.

21

01602-01236

WASHER

SN: 10011-UP

3шт.

22

01582-01210

NUT

SN: 10011-21068

3шт.

23

07000-02065

O-RING

SN: 10000-10000

1шт.

|23

07000-03058

O-RING (KIT)

SN: 10001-UP

1шт.

24

01010-31230

BOLT

SN: 10011-UP

4шт.

25

01602-01236

WASHER

SN: 10011-UP

4шт.

Выбрано товаров: 43