Запчасти Komatsu NH-220-CI-1N СМАЗЫВ. НАСОС СИСТЕМА СМАЗКИ МАСЛ. СИСТЕМА

Схема запчастей Komatsu NH-220-CI-1N - СМАЗЫВ. НАСОС СИСТЕМА СМАЗКИ МАСЛ. СИСТЕМА
FIT
1:1
100%

Артикул

Название

Примечание

Количество

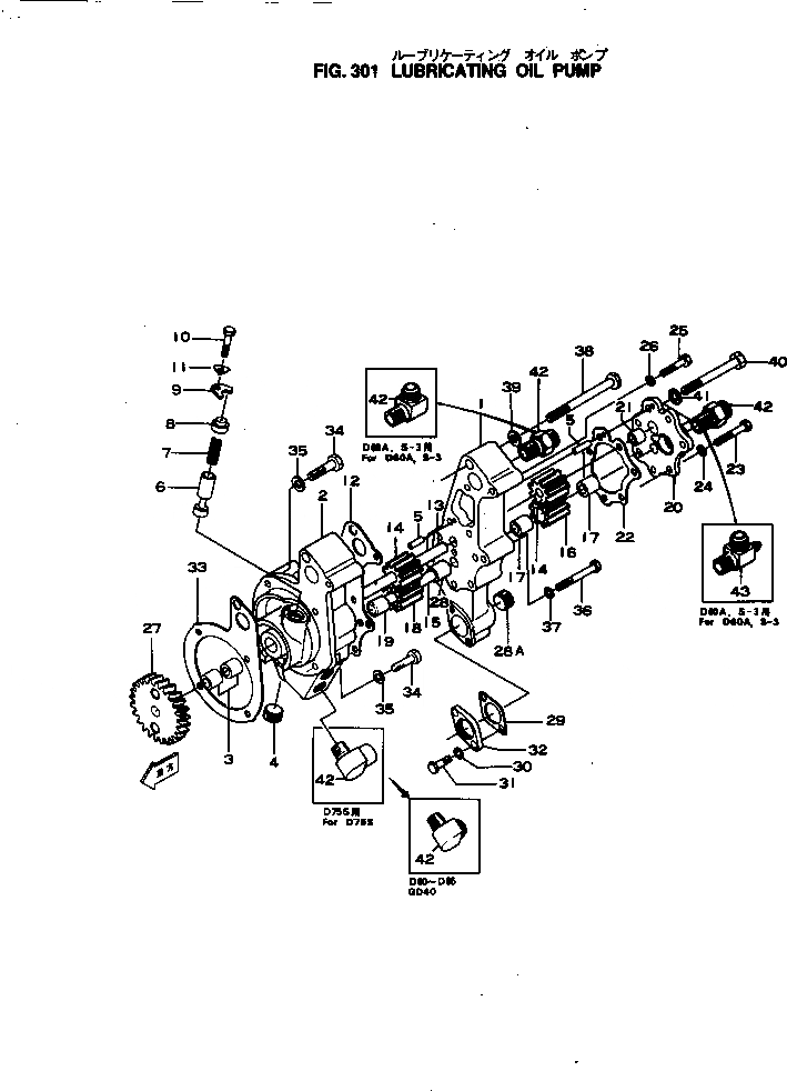
|1

6620-51-1021

OIL PUMP ASS'Y

SN: .-UP

1шт.

|1

0

OIL PUMP ASS'Y

SN: 8013-.

1шт.

1

6610-51-1210

BODY,INNER

SN: 8013-UP

1шт.

|2

6620-51-3030

BODY ASS'Y

SN: 8013-UP

1шт.

2

0

BODY

SN: 8013-UP

1шт.

3

0

BUSHING

SN: 8013-UP

2шт.

4

02720-21214

PLUG

SN: 8013-UP

1шт.

5

02400-20619

PIN,DOWEL

SN: 8013-UP

2шт.

6

6610-51-1710

PLUNGER,REGULATOR

SN: 8013-UP

1шт.

7

6610-51-1720

SPRING,BYPASS VALVE

SN: 8013-UP

1шт.

8

6610-51-1740

PLUG

SN: 8013-UP

1шт.

9

6610-51-1730

RETAINER

SN: 8013-UP

1шт.

10

02010-20622

BOLT

SN: 8013-UP

1шт.

11

6610-51-1750

PLATE,LOCK

SN: 8013-UP

1шт.

12

6610-51-1610

GASKET

SN: 8013-UP

1шт.

13

6610-51-1321

SHAFT,DRIVE

SN: 8013-UP

1шт.

14

6610-51-1340

GEAR,IMPELLER DRIVE

SN: 8013-UP

2шт.

15

6610-51-1330

SHAFT,IDLER

SN: 8013-UP

1шт.

|16

6610-51-1300

GEAR ASS'Y,LUBRICATING PUMP

SN: 8013-UP

1шт.

16

0

GEAR

SN: 8013-UP

1шт.

17

0

BUSHING

SN: 8013-UP

2шт.

|18

6610-51-1400

GEAR ASS'Y,LUBRICATING PUMP

SN: 8013-UP

1шт.

18

0

GEAR

SN: 8013-UP

1шт.

19

0

BUSHING

SN: 8013-UP

2шт.

|20

6610-51-1500

COVER ASS'Y,LUBRICATING PUMP

SN: 8013-UP

1шт.

20

0

COVER

SN: 8013-UP

1шт.

21

0

BUSHING

SN: 8013-UP

1шт.

22

6610-51-1620

GASKET

SN: 8013-UP

1шт.

23

02010-20676

BOLT

SN: 8013-UP

6шт.

24

02310-11224

WASHER,SPRING

SN: 8013-UP

6шт.

25

02010-20564

BOLT

SN: 8013-UP

2шт.

26

02310-11020

WASHER,SPRING

SN: 8013-UP

2шт.

27

6620-51-1380

GEAR,MAIN DRIVE

SN: 8013-UP

1шт.

28

02720-21213

PLUG

SN: 8013-UP

1шт.

28A

02720-21214

PLUG

SN: 8013-UP

1шт.

29

6610-51-1650

GASKET (K4)

SN: 8013-UP

1шт.

30

02310-11224

WASHER,SPRING

SN: 8013-UP

2шт.

33

6610-51-1811

GASKET (K4)

SN: 8013-UP

1шт.

34

02030-20725

BOLT

SN: 8013-UP

2шт.

35

02310-11428

WASHER,SPRING

SN: 8013-UP

2шт.

36

02030-20770

BOLT

SN: 8013-UP

1шт.

37

02310-11428

WASHER,SPRING

SN: 8013-UP

1шт.

38

6600-01-2120

BOLT

SN: 8013-UP

1шт.

39

02310-11428

WASHER,SPRING

SN: 8013-UP

1шт.

40

6610-51-1630

BOLT

SN: 8013-UP

1шт.

41

02310-11428

WASHER,SPRING

SN: 8013-UP

1шт.

42

6672-52-9281

ELBOW

SN: 33536-UP

1шт.

|42

6672-52-9280

ELBOW

SN: 8013-33535

1шт.

|1

6620-51-1021

OIL PUMP ASS'Y

SN: .-UP

1шт.

|1

0

OIL PUMP ASS'Y

SN: 8013-.

1шт.

1

6610-51-1210

BODY,INNER

SN: 8013-UP

1шт.

|2

6620-51-3030

BODY ASS'Y

SN: 8013-UP

1шт.

2

0

BODY

SN: 8013-UP

1шт.

3

0

BUSHING

SN: 8013-UP

2шт.

4

02720-21214

PLUG

SN: 8013-UP

1шт.

5

02400-20619

PIN,DOWEL

SN: 8013-UP

2шт.

6

6610-51-1710

PLUNGER,REGULATOR

SN: 8013-UP

1шт.

7

6610-51-1720

SPRING,BYPASS VALVE

SN: 8013-UP

1шт.

8

6610-51-1740

PLUG

SN: 8013-UP

1шт.

9

6610-51-1730

RETAINER

SN: 8013-UP

1шт.

10

02010-20622

BOLT

SN: 8013-UP

1шт.

11

6610-51-1750

PLATE,LOCK

SN: 8013-UP

1шт.

12

6610-51-1610

GASKET

SN: 8013-UP

1шт.

13

6610-51-1321

SHAFT,DRIVE

SN: 8013-UP

1шт.

14

6610-51-1340

GEAR,IMPELLER DRIVE

SN: 8013-UP

2шт.

15

6610-51-1330

SHAFT,IDLER

SN: 8013-UP

1шт.

|16

6610-51-1300

GEAR ASS'Y,LUBRICATING PUMP

SN: 8013-UP

1шт.

16

0

GEAR

SN: 8013-UP

1шт.

17

0

BUSHING

SN: 8013-UP

2шт.

|18

6610-51-1400

GEAR ASS'Y,LUBRICATING PUMP

SN: 8013-UP

1шт.

18

0

GEAR

SN: 8013-UP

1шт.

19

0

BUSHING

SN: 8013-UP

2шт.

|20

6610-51-1500

COVER ASS'Y,LUBRICATING PUMP

SN: 8013-UP

1шт.

20

0

COVER

SN: 8013-UP

1шт.

21

0

BUSHING

SN: 8013-UP

1шт.

22

6610-51-1620

GASKET

SN: 8013-UP

1шт.

23

02010-20676

BOLT

SN: 8013-UP

6шт.

24

02310-11224

WASHER,SPRING

SN: 8013-UP

6шт.

25

02010-20564

BOLT

SN: 8013-UP

2шт.

26

02310-11020

WASHER,SPRING

SN: 8013-UP

2шт.

27

6620-51-1380

GEAR,MAIN DRIVE

SN: 8013-UP

1шт.

28

02720-21213

PLUG

SN: 8013-UP

1шт.

28A

02720-21214

PLUG

SN: 8013-UP

1шт.

29

6610-51-1650

GASKET (K4)

SN: 8013-UP

1шт.

30

02310-11224

WASHER,SPRING

SN: 8013-UP

2шт.

33

6610-51-1811

GASKET (K4)

SN: 8013-UP

1шт.

34

02030-20725

BOLT

SN: 8013-UP

2шт.

35

02310-11428

WASHER,SPRING

SN: 8013-UP

2шт.

36

02030-20770

BOLT

SN: 8013-UP

1шт.

37

02310-11428

WASHER,SPRING

SN: 8013-UP

1шт.

38

6600-01-2120

BOLT

SN: 8013-UP

1шт.

39

02310-11428

WASHER,SPRING

SN: 8013-UP

1шт.

40

6610-51-1630

BOLT

SN: 8013-UP

1шт.

41

02310-11428

WASHER,SPRING

SN: 8013-UP

1шт.

42

6672-52-9281

ELBOW

SN: 33536-UP

1шт.

|42

6672-52-9280

ELBOW

SN: 8013-33535

1шт.

Выбрано товаров: 96