Запчасти Komatsu D80A-18 БАЛКА БАЛАНСИРА ЧАСТИ КОРПУСА

Схема запчастей Komatsu D80A-18 - БАЛКА БАЛАНСИРА ЧАСТИ КОРПУСА
FIT
1:1
100%

Артикул

Название

Примечание

Количество

|$0

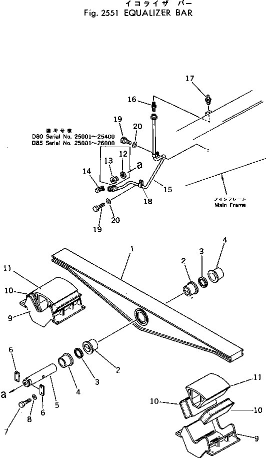
154-50-00015

EQUALIZER BAR ASS'Y

SN: 25001-UP

1шт.

1

0

BAR,EQUALIZER

SN: 25001-UP

1шт.

2

154-50-11164

BUSHING

SN: 25001-UP

2шт.

3

154-50-11250

SEAL

SN: 25001-UP

2шт.

4

154-50-11171

BUSHING

SN: 25001-UP

2шт.

5

154-50-11135

PIN

SN: 25401-UP

2шт.

5

154-50-11134

PIN

SN: 25001-25400

2шт.

6

04082-00616

LOCK

SN: 25001-UP

2шт.

7

01010-51640

BOLT

SN: 25001-UP

4шт.

8

01643-31645

WASHER

SN: 26836-UP

4шт.

8

0

WASHER,SPRING

SN: 25001-26835

4шт.

9

154-50-11152

SUPPORT

SN: 25001-UP

2шт.

10

154-50-11193

PAD

SN: 26825-UP

4шт.

10

154-50-11192

PAD

SN: 25001-25824

4шт.

11

154-50-11123

SEAT

SN: 25001-UP

2шт.

12

07003-11621

GASKET

SN: 25001-UP

1шт.

13

154-50-11270

PLUG

SN: 25001-UP

1шт.

14

07217-50510

ELBOW

SN: 25001-UP

1шт.

15

154-50-11260

TUBE

SN: 25001-UP

1шт.

16

07213-50510

CONNECTOR

SN: 25001-UP

1шт.

17

07020-00000

FITTING

SN: 25001-UP

1шт.

18

08036-10814

CLIP

SN: 26097-UP

2шт.

18

0

CLIP

SN: 25001-26096

2шт.

19

01010-51016

BOLT

SN: 25001-UP

2шт.

20

01643-31032

WASHER

SN: 26097-UP

2шт.

20

0

WASHER,SPRING

SN: 25001-26096

2шт.

Выбрано товаров: 26