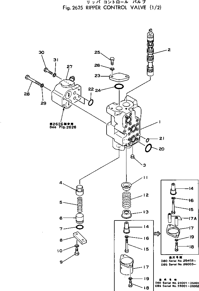
Запчасти Komatsu D80A-18 УПРАВЛ-Е РЫХЛИТЕЛЕМ КЛАПАН (/) УПРАВЛ-Е РАБОЧИМ ОБОРУДОВАНИЕМ

Схема запчастей Komatsu D80A-18 - УПРАВЛ-Е РЫХЛИТЕЛЕМ КЛАПАН (/) УПРАВЛ-Е РАБОЧИМ ОБОРУДОВАНИЕМ
FIT
1:1
100%

Артикул

Название

Примечание

Количество

|$0

154-60-52003

HYDRAULIC TANK ASS'Y

SN: 25402-UP

1шт.

|$1

0

HYDRAULIC TANK ASS'Y

SN: 25401-25401

1шт.

|$2

0

HYDRAULIC TANK ASS'Y

SN: 25001-25400

1шт.

|$$4

-1шт.

|$4

701-32-27001

VALVE ASS'Y,RIPPER

SN: 25402-UP

1шт.

|$5

0

VALVE ASS'Y,RIPPER

SN: 25001-25401

1шт.

|$6

701-32-42001

CONTROL VALVE A.

SN: 25402-UP

1шт.

|$7

0

CONTROL VALVE A.

SN: 25001-25401

1шт.

|$8

701-31-00070

BODY ASS'Y

SN: 25001-UP

1шт.

1

0

BODY

SN: 25001-UP

1шт.

2

0

SPOOL

SN: 25401-UP

1шт.

2

0

SPOOL

SN: 25001-25400

1шт.

3

07043-00312

PLUG

SN: 25001-UP

1шт.

4

701-33-31120

VALVE

SN: 25001-UP

1шт.

5

701-33-31130

SPRING

SN: 25001-UP

1шт.

6

701-33-31150

SEAT

SN: 25001-UP

1шт.

7

07000-13035

O-RING

SN: 25001-UP

1шт.

8

701-33-31160

PLATE

SN: 25001-UP

1шт.

9

01010-31235

BOLT

SN: 25001-UP

2шт.

10

01602-01236

WASHER,SPRING

SN: 25001-UP

2шт.

11

701-33-31380

RETAINER

SN: 25001-UP

1шт.

12

701-33-31191

SPRING

SN: 25402-UP

1шт.

12

0

SPRING

SN: 25001-25401

1шт.

13

701-33-31380

RETAINER

SN: 25402-UP

1шт.

13

701-33-31390

RETAINER

SN: 25001-25401

1шт.

14

701-33-46171

COLLAR

SN: 25402-UP

1шт.

14

701-33-46180

COLLAR

SN: 25001-25401

1шт.

15

01010-31280

BOLT

SN: 25001-UP

1шт.

16

01602-01236

WASHER

SN: 25001-UP

1шт.

17

701-33-46340

PLATE

SN: 25402-UP

1шт.

17

701-33-46190

CASE

SN: 25001-25401

1шт.

17A

701-33-46350

COLLAR

SN: 25001-UP

2шт.

18

01010-31095

BOLT

SN: 25402-UP

1шт.

18

01010-31030

BOLT

SN: 25001-25401

2шт.

19

01602-01030

WASHER,SPRING

SN: 25001-UP

2шт.

20

07000-13045

O-RING

SN: 25001-UP

3шт.

21

07000-12015

O-RING

SN: 25001-UP

14шт.

22

07000-13030

O-RING

SN: 25001-UP

2шт.

23

701-33-31360

PLATE

SN: 25001-UP

1шт.

24

07000-13040

O-RING

SN: 25001-UP

1шт.

25

01010-31440

BOLT

SN: 25001-UP

2шт.

26

01602-01442

WASHER,SPRING

SN: 25001-UP

2шт.

27

701-30-99000

SAFETY VALVE ASS'Y

SN: 25001-UP

1шт.

28

01011-31210

BOLT

SN: 25001-UP

2шт.

29

01602-01236

WASHER,SPRING

SN: 25001-UP

2шт.

30

01010-31245

BOLT

SN: 25001-UP

2шт.

31

01602-01236

WASHER,SPRING

SN: 25001-UP

2шт.

Выбрано товаров: 47