Запчасти Komatsu D80A-18 ГУСЕНИЧНАЯ РАМА ГУСЕНИЦЫ

Схема запчастей Komatsu D80A-18 - ГУСЕНИЧНАЯ РАМА ГУСЕНИЦЫ
FIT
1:1
100%

Артикул

Название

Примечание

Количество

|$0

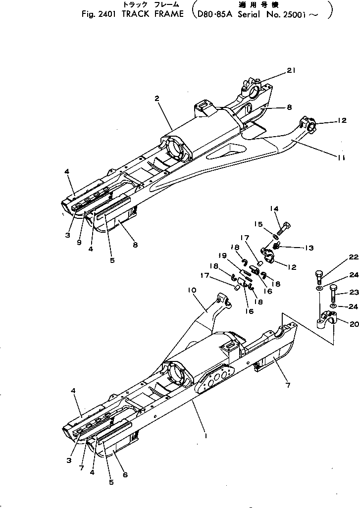
154-30-00462

TRACK FRAME ASS'Y,L.H.

SN: 25001-UP

1шт.

|$1

154-30-00472

TRACK FRAME ASS'Y,R.H.

SN: 25001-UP

1шт.

1

154-30-14112

FRAME,L.H.

SN: 25001-UP

1шт.

2

154-30-14122

FRAME,R.H.

SN: 25001-UP

1шт.

3

155-30-11390

PLATE (WELDED)

SN: 25001-UP

2шт.

4

154-30-12590

PLATE (WELDED)

SN: 25001-UP

2шт.

5

154-30-12310

PLATE (WELDED)

SN: 25001-UP

2шт.

6

154-30-11925

GUARD (WELDED)

SN: 25001-UP

1шт.

7

154-30-11935

GUARD (WELDED)

SN: 25001-UP

2шт.

8

154-30-11925

GUARD (WELDED)

SN: 25001-UP

2шт.

9

154-30-11935

GUARD (WELDED)

SN: 25001-UP

1шт.

|$11

154-30-00015

BRACE HEAD ASS'Y,L.H.

SN: 25001-UP

1шт.

|$12

154-30-00025

BRACE HEAD ASS'Y,R.H.

SN: 25001-UP

1шт.

10

0

HEAD,L.H. (WELDED)

SN: 25001-UP

1шт.

11

0

HEAD,R.H. (WELDED)

SN: 25001-UP

1шт.

12

0

CAP

SN: 25001-UP

1шт.

13

07020-00000

FITTING,GREASE

SN: 25001-UP

1шт.

14

01011-52400

BOLT

SN: 25001-UP

4шт.

15

01643-32460

WASHER

SN: 26376-UP

4шт.

15

0

WASHER,SPRING

SN: 25001-26375

4шт.

16

154-30-11810

BUSHING

SN: 25001-UP

2шт.

17

04020-01024

PIN

SN: 25001-UP

2шт.

18

154-30-11821

PACKING

SN: 25001-UP

4шт.

19

154-30-11831

PACKING

SN: 25001-UP

2шт.

20

154-30-12530

CAP

SN: 25001-UP

1шт.

21

154-30-12540

CAP

SN: 25001-UP

1шт.

22

01011-52410

BOLT

SN: 25001-UP

1шт.

23

01011-52450

BOLT

SN: 25001-UP

1шт.

24

01643-32460

WASHER

SN: 26376-UP

2шт.

24

0

WASHER,SPRING

SN: 25001-26375

2шт.

Выбрано товаров: 30