Запчасти Komatsu D80A-18 МАРКИРОВКА¤ ФРАНЦИЯ ЧАСТИ КОРПУСА

Схема запчастей Komatsu D80A-18 - МАРКИРОВКА¤ ФРАНЦИЯ ЧАСТИ КОРПУСА
FIT
1:1
100%

Артикул

Название

Примечание

Количество

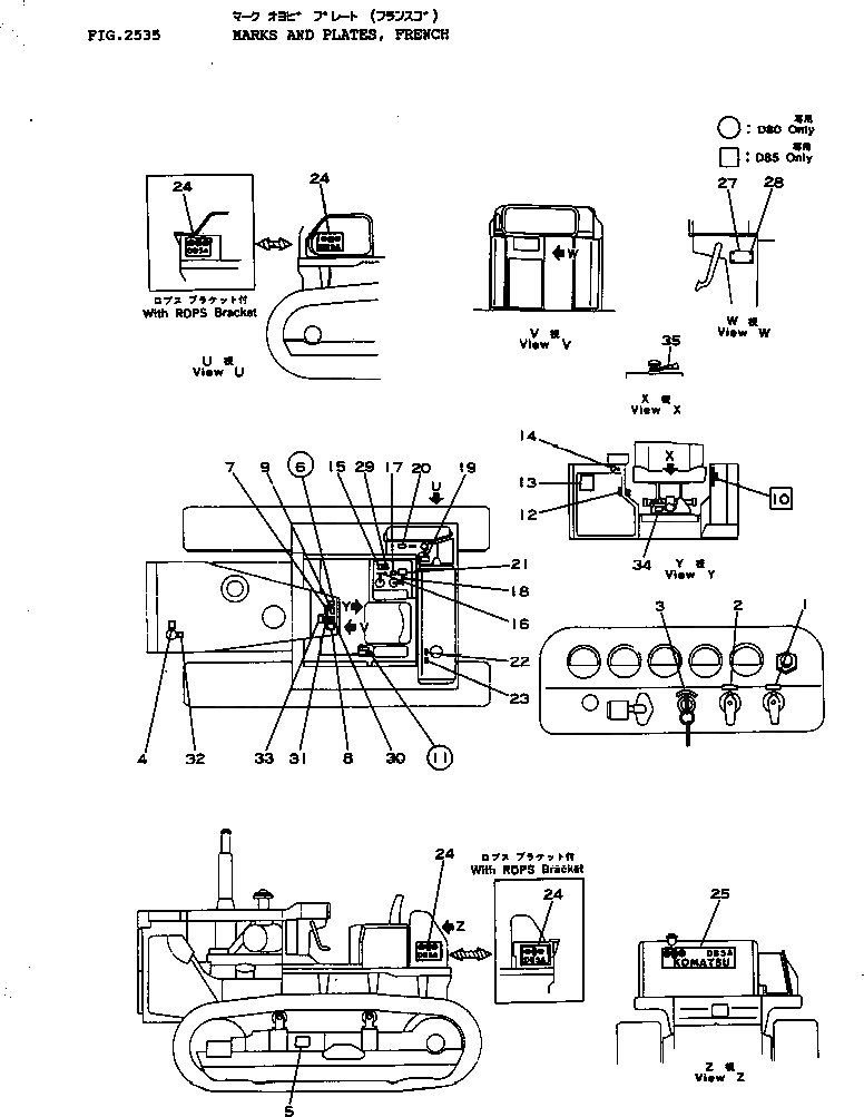
1

09609-54007

PLATE, NAME,PREHEATER SWITCH

SN: 25001-UP

1шт.

2

09609-54008

PLATE, NAME,LAMP SWITCH

SN: 25001-UP

1шт.

3

09683-51050

PLATE, OPERATING,STARTING SWITCH

SN: 25001-UP

1шт.

4

09650-50101

PLATE, INSTRUCTION,RADIATOR

SN: 25001-UP

1шт.

5

09657-05000

PLATE, SAFETY,TRACK ADJUSTING

SN: 25001-UP

1шт.

6

09674-00005

PLATE, OPERATING,TRANSMISSION CONTROL LEVER

SN: 26406-UP

1шт.

6

0

PLATE, OPERATING,TRANSMISSION CONTROL LEVER

SN: 25001-26405

1шт.

7

175-900-3630

PLATE, CAUTION,TRAVELING ON SLOPE

SN: 25001-UP

1шт.

8

09654-05000

PLATE, SAFETY,WARNING

SN: 25001-UP

1шт.

9

09649-20400

PLATE, INSTRUCTION,ENGINE STOP

SN: 25001-UP

1шт.

11

09687-50070

PLATE, OPERATING,MAIN CLUTCH LEVER

SN: 25001-UP

1шт.

12

09685-50016

PLATE, OPERATING,PARKING BRAKE LEVER LOCK

SN: 25001-UP

1шт.

13

150-98-12221

CHART, LUBRICATION

SN: 25001-UP

1шт.

14

09679-02002

PLATE, OPERATING,HORN SWITCH

SN: 25001-UP

1шт.

15

09670-50270

PLATE, OPERATING,ANGLE BLADE LEVER

SN: 25001-UP

1шт.

15

09670-50070

PLATE, OPERATING,STRAIGHT TILT BLADE LEVER

SN: 25001-UP

1шт.

16

09685-50216

PLATE, OPERATING,BLADE CONTROL LEVER LOCK

SN: 25001-UP

1шт.

17

09671-50468

PLATE, OPERATING,RIPPER CONTROL LEVER

SN: 25001-UP

1шт.

18

09685-50016

PLATE, OPERATING,RIPPER CONTROL LEVER LOCK

SN: 25001-UP

1шт.

19

09655-51120

PLATE, INSTRUCTION,OIL FILTER

SN: 25001-UP

1шт.

20

09653-05000

PLATE, SAFETY,HYDRAULIC OIL TANK

SN: 25001-UP

1шт.

21

198-98-16310

PLATE, CAUTION,SEAT BELT

SN: 25001-UP

1шт.

22

09652-51100

PLATE, CAUTION,FUEL TANK

SN: 25001-UP

1шт.

23

09656-51080

PLATE, INSTRUCTION,FUEL TANK STRAINER

SN: 25001-UP

1шт.

24

09691-05802

PLATE, MARK,D80A

SN: 25001-UP

2шт.

25

09692-06802

PLATE, MARK,D80A

SN: 25001-UP

1шт.

27

09602-51643

PLATE, NAME,(LIMITED SUPPLY)

SN: 25001-UP

1шт.

28

01220-30406

SCREW

SN: 25001-UP

4шт.

29

09173-05000

PLATE, SAFETY,LUBRICATING

SN: 25001-UP

1шт.

30

09651-05000

PLATE, SAFETY,BEFORE OPERATING

SN: 25001-UP

1шт.

31

09667-05000

PLATE, SAFETY,ENGINE COVER

SN: 25001-UP

1шт.

32

09668-05000

PLATE, SAFETY,RADIATOR CAP

SN: 25001-UP

1шт.

33

09666-05000

PLATE, SAFETY,FIRE PREVENTION

SN: 25001-UP

1шт.

34

178-98-12380

PLATE, OPERATING,ADJUST,WEIGHT,OPERATOR'S SEAT

SN: 25001-UP

1шт.

35

178-98-12390

PLATE, OPERATING,LEVER OPERATOR'S SEAT

SN: 25001-UP

1шт.

Выбрано товаров: 35