Запчасти Komatsu D80E-18 ВЕРХН. ЗАЩИТА(№-98) ОПЦИОННЫЕ КОМПОНЕНТЫ

Схема запчастей Komatsu D80E-18 - ВЕРХН. ЗАЩИТА(№-98) ОПЦИОННЫЕ КОМПОНЕНТЫ
FIT
1:1
100%

Артикул

Название

Примечание

Количество

|$0

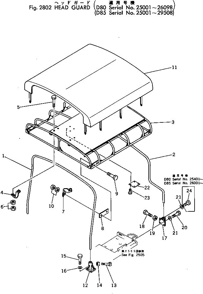
154-906-0031

HEAD GUARD ASS'Y

SN: 25401-26098

1шт.

|$1

154-906-0030

HEAD GUARD ASS'Y

SN: 25001-25400

1шт.

1

154-906-1160

POLE

SN: 25001-@

1шт.

2

175-906-2121

POLE

SN: 25001-@

1шт.

3

175-906-2210

ROOF,HEAD GUARD

SN: 25001-@

1шт.

4

195-906-1141

CLAMP

SN: 25001-@

4шт.

5

01010-31275

BOLT

SN: 25001-@

8шт.

6

01580-01210

NUT

SN: 25001-@

16шт.

7

195-906-1141

CLAMP

SN: 25001-@

4шт.

8

195-906-1260

SHIM, 2.3MM

SN: 25001-@

12шт.

9

01010-31270

BOLT

SN: 25001-@

8шт.

10

01580-01210

NUT

SN: 25001-@

16шт.

11

175-906-2220

SHEET

SN: 25001-26098

1шт.

12

09470-06420

BRACKET

SN: 25001-@

2шт.

13

01016-31450

BOLT

SN: 25001-@

4шт.

14

01580-01411

NUT

SN: 25001-@

4шт.

15

01010-31440

BOLT

SN: 25001-@

8шт.

16

01643-31445

WASHER

SN: 25001-@

8шт.

16

0

WASHER,SPRING

SN: 25001-26098

8шт.

17

09470-06425

BRACKET

SN: 25001-@

2шт.

18

01016-31450

BOLT

SN: 25001-@

4шт.

19

01580-01411

NUT

SN: 25001-@

4шт.

20

01010-31860

BOLT

SN: 25401-@

4шт.

20

01010-31870

BOLT

SN: 25001-25400

8шт.

21

01643-31845

WASHER

SN: 25001-@

8шт.

21

0

WASHER,SPRING

SN: 25001-26098

8шт.

22

09660-20100

PLATE, SAFETY

SN: 25001-@

1шт.

23

04418-13060

SCREW

SN: 25001-@

4шт.

24

01010-31850

BOLT

SN: 25401-@

4шт.

Выбрано товаров: 29