Запчасти Komatsu D80E-18 ЗАДН. ОСВЕЩЕНИЕ ОПЦИОННЫЕ КОМПОНЕНТЫ

Схема запчастей Komatsu D80E-18 - ЗАДН. ОСВЕЩЕНИЕ ОПЦИОННЫЕ КОМПОНЕНТЫ
FIT
1:1
100%

Артикул

Название

Примечание

Количество

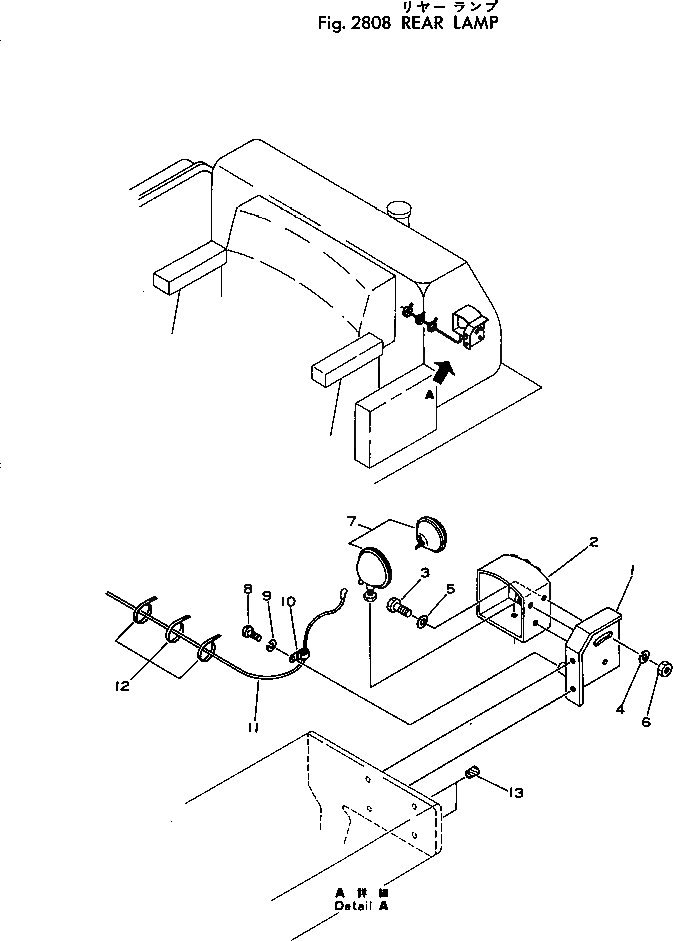
1

175-06-33250

BRACKET

SN: 25001-UP

1шт.

2

175-06-33122

COVER,R.H

SN: 25001-UP

1шт.

3

01010-31445

BOLT

SN: 25001-UP

3шт.

4

01602-01442

WASHER

SN: 25001-UP

3шт.

5

01643-31445

WASHER

SN: 25001-UP

3шт.

6

01580-01411

NUT

SN: 25001-UP

3шт.

7

08128-32400

LAMP

SN: 25001-UP

1шт.

7

08113-02480

BULB, 80W

SN: 25001-UP

1шт.

8

01010-31225

BOLT

SN: 25001-UP

1шт.

9

01602-01236

WASHER

SN: 25001-UP

1шт.

10

08036-10614

CLIP

SN: 25001-UP

1шт.

11

154-91-21340

WIRE

SN: 25001-UP

1шт.

12

08034-00519

BAND

SN: 25001-UP

3шт.

13

07049-01822

PLUG

SN: 25001-UP

2шт.

Выбрано товаров: 14