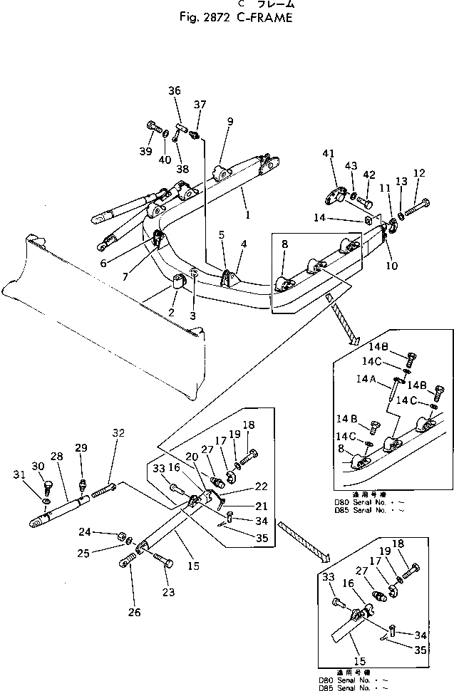
Запчасти Komatsu D80E-18 С-ОБРАЗН. РАМА ОПЦИОННЫЕ КОМПОНЕНТЫ

Схема запчастей Komatsu D80E-18 - С-ОБРАЗН. РАМА ОПЦИОННЫЕ КОМПОНЕНТЫ
FIT
1:1
100%

Артикул

Название

Примечание

Количество

|$0

154-70-00321

C-FRAME ASS'Y

SN: .-UP

1шт.

|$1

0

C-FRAME ASS'Y

SN: 25001-.

1шт.

1

0

C-FRAME

SN: .-UP

1шт.

1

0

C-FRAME

SN: 25001-.

1шт.

2

150-70-23315

JOINT

SN: .-UP

1шт.

2

0

JOINT

SN: 25001-.

1шт.

3

150-70-23320

COLLAR (WELDED)

SN: 25001-UP

1шт.

4

150-70-23182

BRACKET (WELDED)

SN: 25001-UP

1шт.

5

150-70-23192

BRACKET (WELDED)

SN: 25001-UP

1шт.

6

150-70-23162

BRACKET (WELDED)

SN: 25001-UP

1шт.

7

150-70-23172

BRACKET (WELDED)

SN: 25001-UP

1шт.

8

154-70-13134

BRACKET (WELDED)

SN: .-UP

3шт.

8

154-70-13133

BRACKET (WELDED)

SN: 25001-.

3шт.

9

154-70-13124

BRACKET (WELDED)

SN: .-UP

3шт.

9

154-70-13123

BRACKET (WELDED)

SN: 25001-.

3шт.

|$15

150-70-00240

BRACKET ASS'Y

SN: 25001-UP

2шт.

10

0

BRACKET (WELDED)

SN: 25001-UP

1шт.

11

0

CAP

SN: 25001-UP

1шт.

12

154-71-31420

BOLT

SN: 25001-UP

2шт.

13

01643-32780

WASHER

SN: 25001-UP

2шт.

14

170-70-13141

NUT

SN: 25001-UP

2шт.

14A

154-70-19181

PIN

SN: .-UP

2шт.

14B

01010-31420

BOLT

SN: .-UP

6шт.

14C

205-06-62270

WASHER

SN: .-UP

6шт.

15

154-70-00311

ARM ASS'Y

SN: .-UP

2шт.

15

154-70-00310

ARM ASS'Y

SN: 25001-.

2шт.

15

0

ARM

SN: .-UP

1шт.

15

0

ARM

SN: 25001-.

1шт.

|$28

154-70-00214

CAP ASS'Y

SN: 25001-UP

1шт.

16

0

BRACKET (WELDED)

SN: 25001-UP

1шт.

17

0

CAP

SN: 25001-UP

1шт.

18

01010-32095

BOLT

SN: 25001-UP

4шт.

19

01643-32060

WASHER

SN: 25001-UP

4шт.

20

09245-50060

HOOK (WELDED)

SN: 25001-.

1шт.

21

154-70-12172

PIN

SN: 25001-.

1шт.

22

09245-04830

CHAIN (WELDED)

SN: 25001-.

1шт.

23

01010-31880

BOLT

SN: 25001-UP

2шт.

24

01580-01815

NUT

SN: 25001-UP

2шт.

25

01643-31845

WASHER

SN: 25001-UP

2шт.

26

175-70-12130

SCREW

SN: 25001-UP

2шт.

27

154-70-12162

SHAFT

SN: 25001-UP

2шт.

|$41

154-70-00085

BRACE ASS'Y

SN: 25001-UP

2шт.

28

154-70-17160

BRACE

SN: 25001-UP

1шт.

29

07020-00000

FITTING,GREASE

SN: 25001-UP

2шт.

30

175-70-12221

SCREW

SN: 25001-UP

1шт.

31

01643-31445

WASHER

SN: 25001-UP

1шт.

32

154-70-12251

SCREW

SN: 25001-UP

1шт.

33

150-70-13411

PIN

SN: 25001-UP

2шт.

34

170-70-12240

PIN

SN: 25001-UP

2шт.

35

04050-04025

PIN,COTTER

SN: 25001-UP

2шт.

36

154-71-22511

SHAFT

SN: 25001-UP

2шт.

37

07020-00000

FITTING,GREASE

SN: 25001-UP

2шт.

38

195-71-11520

PIN

SN: 25001-UP

2шт.

39

01010-31435

BOLT

SN: 25001-UP

2шт.

40

01643-31445

WASHER

SN: 25001-UP

2шт.

41

154-70-13214

TRUNNION

SN: 25001-UP

2шт.

41

154-70-32230

BALL (WELDED)

SN: 25001-UP

1шт.

42

01010-32250

BOLT

SN: 25001-UP

12шт.

43

01643-32260

WASHER

SN: 25001-UP

12шт.

Выбрано товаров: 59