Запчасти Komatsu D80E-18 ПРЯМОЙ ОТВАЛ ОПЦИОННЫЕ КОМПОНЕНТЫ

Схема запчастей Komatsu D80E-18 - ПРЯМОЙ ОТВАЛ ОПЦИОННЫЕ КОМПОНЕНТЫ
FIT
1:1
100%

Артикул

Название

Примечание

Количество

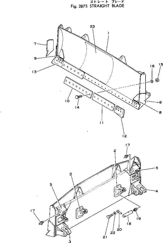
1

154-71-35100

BLADE

SN: 25001-UP

1шт.

2

0

BRACKET (WELDED)

SN: 25001-UP

2шт.

3

0

BRACKET,L.H. (WELDED)

SN: 25001-UP

1шт.

4

0

BRACKET,R.H. (WELDED)

SN: 25001-UP

1шт.

5

0

PIVOT (WELDED)

SN: 25001-UP

2шт.

6

154-71-22552

PLATE,L.H. (WELDED)

SN: 25001-UP

1шт.

7

154-71-22562

PLATE,R.H. (WELDED)

SN: 25001-UP

1шт.

8

154-71-22650

PLATE,L.H. (WELDED)

SN: 25001-UP

1шт.

9

154-71-22660

PLATE,R.H. (WELDED)

SN: 25001-UP

1шт.

10

154-70-11314

EDGE,CUTTING

SN: 25001-UP

1шт.

11

154-81-11191

EDGE,CUTTING

SN: 25001-UP

2шт.

12

150-70-21356

BIT,END

SN: 25001-UP

1шт.

13

150-70-21346

BIT,END

SN: 25001-UP

1шт.

14

154-70-11143

BOLT

SN: .-UP

32шт.

14

0

BOLT

SN: 25001-.

32шт.

15

154-70-22270

NUT

SN: 25001-UP

32шт.

16

01643-21845

WASHER

SN: 25001-UP

32шт.

17

07020-00000

FITTING

SN: 25001-UP

2шт.

18

154-71-22511

SHAFT

SN: 25001-UP

2шт.

19

07020-00000

FITTING,GREASE

SN: 25001-UP

2шт.

20

195-71-11520

PIN

SN: 25001-UP

2шт.

21

01010-31435

BOLT

SN: 25001-UP

2шт.

22

01643-31445

WASHER

SN: 25001-UP

2шт.

23

154-937-1110

PLATE,PUSHER (OP)

SN: 25001-UP

1шт.

Выбрано товаров: 24