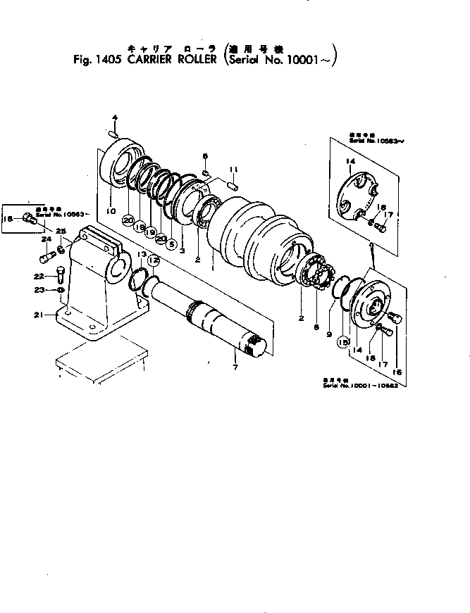
Запчасти Komatsu D80P-12 ПОДДЕРЖИВАЮЩИЙ КАТОК ГУСЕНИЦЫ И ЧАСТИ КОРПУСА

Схема запчастей Komatsu D80P-12 - ПОДДЕРЖИВАЮЩИЙ КАТОК ГУСЕНИЦЫ И ЧАСТИ КОРПУСА
FIT
1:1
100%

Артикул

Название

Примечание

Количество

|$0

154-30-00308

CARRIER ROLLER ASS'Y

SN: .-UP

4шт.

|$1

0

CARRIER ROLLER ASS'Y

SN: 1001-.

4шт.

1

150-30-14410

ROLLER

SN: 1001-UP

1шт.

2

06000-30211

BEARING

SN: 1001-UP

2шт.

3

154-30-11690

SEAL

SN: 1001-UP

1шт.

4

04020-00616

PIN

SN: 1001-UP

2шт.

5

07000-03125

O-RING (KIT)

SN: 1001-UP

1шт.

6

07049-00811

PLUG

SN: 1001-UP

2шт.

7

150-30-14311

SHAFT

SN: 1001-UP

1шт.

8

150-30-14420

NUT

SN: 1001-UP

1шт.

9

150-30-14430

RING

SN: 1001-UP

1шт.

10

154-30-25230

COLLAR

SN: .-UP

1шт.

10

0

COLLAR

SN: 1001-.

1шт.

11

04020-00616

PIN

SN: 1001-UP

2шт.

12

07000-03062

O-RING (KIT)

SN: 1001-UP

1шт.

13

150-30-14320

RING

SN: 1001-UP

1шт.

14

154-30-11871

COVER

SN: 1001-UP

1шт.

15

07000-03100

O-RING (KIT)

SN: 1001-UP

1шт.

16

07052-21624

PLUG

SN: 1001-UP

1шт.

17

01010-31030

BOLT

SN: 1001-UP

4шт.

18

01602-01030

WASHER

SN: 1001-UP

4шт.

18

154-30-00830

FLOATING SEAL ASS'Y

SN: .-UP

1шт.

18

0

FLOATING SEAL ASS'Y

SN: 1001-.

1шт.

19

154-30-00820

SEAL RING ASS'Y

SN: .-UP

1шт.

19

150-30-00360

SEAL RING ASS'Y

SN: 1001-.

1шт.

19

0

RING

SN: .-UP

2шт.

19

0

RING

SN: 1001-.

2шт.

20

150-30-00370

O-RING ASS'Y

SN: 1001-UP

1шт.

20

0

O-RING

SN: 1001-UP

2шт.

21

154-30-11291

BRACKET

SN: 1001-UP

4шт.

22

01010-32050

BOLT

SN: 1001-UP

16шт.

23

01602-02060

WASHER

SN: 1001-UP

16шт.

24

01010-32085

BOLT

SN: 1001-UP

8шт.

25

01602-02060

WASHER

SN: 1001-UP

8шт.

Выбрано товаров: 34