Запчасти Komatsu D80P-12 ПАНЕЛЬ ПРИБОРОВ КОМПОНЕНТЫ ДВИГАТЕЛЯ И ЭЛЕКТРИКА

Схема запчастей Komatsu D80P-12 - ПАНЕЛЬ ПРИБОРОВ КОМПОНЕНТЫ ДВИГАТЕЛЯ И ЭЛЕКТРИКА
FIT
1:1
100%

Артикул

Название

Примечание

Количество

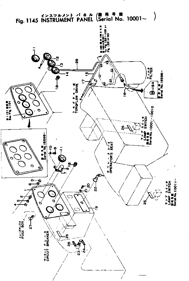
1

150-06-15692

PANEL

SN: 1001-UP

1шт.

2

154-06-13561

CUSHION

SN: 1001-UP

4шт.

3

01546-01015

NUT

SN: 1001-UP

4шт.

4

01582-01008

NUT

SN: 1001-UP

4шт.

5

01602-01030

WASHER

SN: 1001-UP

4шт.

6

01640-21016

WASHER

SN: 1001-UP

4шт.

7

08144-12400

LAMP

SN: 1001-UP

1шт.

8

08110-12410

BULB¤ 12W

SN: 1001-UP

1шт.

9

01220-30612

SCREW

SN: 1001-UP

1шт.

10

01602-00619

WASHER

SN: 1001-UP

1шт.

11

08601-13000

AMMETER

SN: 1001-UP

1шт.

|11

08601-15000

AMMETER,(FOR 800W ALTERNATOR)

SN: 1001-UP

1шт.

18

6610-81-4520

SIGNAL,GLOW

SN: 1001-UP

1шт.

19

154-06-13341

PLATE

SN: 1001-UP

1шт.

20

01220-40620

SCREW

SN: 1001-UP

2шт.

21

01602-00619

WASHER

SN: 1001-UP

2шт.

22

08086-00000

SWITCH,STARTING

SN: 1001-UP

1шт.

23

08061-00000

SWITCH,PREHEATER

SN: 1001-UP

1шт.

Выбрано товаров: 18