Запчасти Komatsu NTO-6-CI-1C КОРОМЫСЛО И КОЖУХ ГОЛОВКА ЦИЛИНДРОВ

Схема запчастей Komatsu NTO-6-CI-1C - КОРОМЫСЛО И КОЖУХ ГОЛОВКА ЦИЛИНДРОВ
FIT
1:1
100%

Артикул

Название

Примечание

Количество

|$0

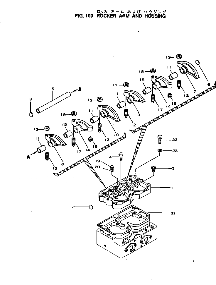
6620-11-7010

HOUSING ASS'Y,ROCKER ARM

SN: 116563-UP

3шт.

|$1

6610-11-7020

HOUSING ASS'Y,ROCKER ARM

SN: 116563-UP

1шт.

1

0

HOUSING,ROCKER ARM

SN: 116563-UP

1шт.

2

6710-11-7150

PLUG,EXPANSION

SN: 116563-UP

2шт.

3

6610-11-7140

PLUG,VENTILATOR

SN: 116563-UP

1шт.

4

6710-11-7330

SCREW

SN: 116563-UP

1шт.

|$6

6610-41-5020

SHAFT ASS'Y,ROCKER ARM

SN: 116563-UP

1шт.

5

0

SHAFT

SN: 116563-UP

1шт.

6

6610-41-5220

PLUG

SN: 116563-UP

2шт.

|$9

6610-41-5030

ARM ASS'Y,(A), (D)

SN: 116563-UP

2шт.

|$10

6610-41-5050

ARM ASS'Y,(B), (C)

SN: 116563-UP

2шт.

|$11

6610-41-5040

ARM ASS'Y,(A), (D)

SN: 116563-UP

1шт.

|$12

6610-41-5060

ARM ASS'Y,(B), (C)

SN: 116563-UP

1шт.

7

0

ARM,(A)

SN: 116563-UP

1шт.

8

0

ARM,(B)

SN: 116563-UP

1шт.

9

0

ARM,(C)

SN: 116563-UP

1шт.

10

0

ARM,(D)

SN: 116563-UP

1шт.

11

6610-41-5330

BUSHING

SN: 116563-UP

1шт.

12

6610-41-5350

SCREW,ADJUSTING

SN: 116563-UP

1шт.

13

6610-41-5360

NUT

SN: 116563-UP

1шт.

|$20

6610-41-5070

ARM ASS'Y,INJECTOR

SN: 116563-UP

2шт.

|$21

6610-41-5080

ARM ASS'Y,INJECTOR

SN: 116563-UP

1шт.

14

0

ARM,INJECTOR

SN: 116563-UP

1шт.

15

6710-41-5531

BUSHING

SN: 163749-UP

1шт.

15

0

BUSHING

SN: 126436-163748

1шт.

15

0

BUSHING,INJECTOR

SN: 116563-126435

1шт.

16

6610-41-5540

SOCKET,ADJUSTING

SN: 116563-UP

1шт.

17

6610-41-5550

SCREW

SN: 116563-UP

1шт.

18

6600-01-2510

NUT

SN: 116563-UP

1шт.

19

6610-11-7310

CAP,OIL PIPE

SN: 116563-UP

3шт.

20

6610-11-7320

GASKET (K1)

SN: 116563-UP

3шт.

21

6610-11-7811

GASKET (K1)

SN: 116563-UP

3шт.

22

02010-20889

BOLT

SN: 116563-UP

19шт.

23

02310-11632

WASHER,SPRING

SN: 116563-UP

19шт.

|$0

6620-11-7010

HOUSING ASS'Y,ROCKER ARM

SN: 116563-UP

3шт.

|$1

6610-11-7020

HOUSING ASS'Y,ROCKER ARM

SN: 116563-UP

1шт.

1

0

HOUSING,ROCKER ARM

SN: 116563-UP

1шт.

2

6710-11-7150

PLUG,EXPANSION

SN: 116563-UP

2шт.

3

6610-11-7140

PLUG,VENTILATOR

SN: 116563-UP

1шт.

4

6710-11-7330

SCREW

SN: 116563-UP

1шт.

|$6

6610-41-5020

SHAFT ASS'Y,ROCKER ARM

SN: 116563-UP

1шт.

5

0

SHAFT

SN: 116563-UP

1шт.

6

6610-41-5220

PLUG

SN: 116563-UP

2шт.

|$9

6610-41-5030

ARM ASS'Y,(A), (D)

SN: 116563-UP

2шт.

|$10

6610-41-5050

ARM ASS'Y,(B), (C)

SN: 116563-UP

2шт.

|$11

6610-41-5040

ARM ASS'Y,(A), (D)

SN: 116563-UP

1шт.

|$12

6610-41-5060

ARM ASS'Y,(B), (C)

SN: 116563-UP

1шт.

7

0

ARM,(A)

SN: 116563-UP

1шт.

8

0

ARM,(B)

SN: 116563-UP

1шт.

9

0

ARM,(C)

SN: 116563-UP

1шт.

10

0

ARM,(D)

SN: 116563-UP

1шт.

11

6610-41-5330

BUSHING

SN: 116563-UP

1шт.

12

6610-41-5350

SCREW,ADJUSTING

SN: 116563-UP

1шт.

13

6610-41-5360

NUT

SN: 116563-UP

1шт.

|$20

6610-41-5070

ARM ASS'Y,INJECTOR

SN: 116563-UP

2шт.

|$21

6610-41-5080

ARM ASS'Y,INJECTOR

SN: 116563-UP

1шт.

14

0

ARM,INJECTOR

SN: 116563-UP

1шт.

15

6710-41-5531

BUSHING

SN: 163749-UP

1шт.

15

0

BUSHING

SN: 126436-163748

1шт.

15

0

BUSHING,INJECTOR

SN: 116563-126435

1шт.

16

6610-41-5540

SOCKET,ADJUSTING

SN: 116563-UP

1шт.

17

6610-41-5550

SCREW

SN: 116563-UP

1шт.

18

6600-01-2510

NUT

SN: 116563-UP

1шт.

19

6610-11-7310

CAP,OIL PIPE

SN: 116563-UP

3шт.

20

6610-11-7320

GASKET (K1)

SN: 116563-UP

3шт.

21

6610-11-7811

GASKET (K1)

SN: 116563-UP

3шт.

22

02010-20889

BOLT

SN: 116563-UP

19шт.

23

02310-11632

WASHER,SPRING

SN: 116563-UP

19шт.

Выбрано товаров: 0