Запчасти Komatsu D80P-18 ПОДЪЕМ. ОТВАЛА И НАКЛОН. УПРАВЛЯЮЩ. КЛАПАН (/)(№-) УПРАВЛ-Е РАБОЧИМ ОБОРУДОВАНИЕМ

Схема запчастей Komatsu D80P-18 - ПОДЪЕМ. ОТВАЛА И НАКЛОН. УПРАВЛЯЮЩ. КЛАПАН (/)(№-) УПРАВЛ-Е РАБОЧИМ ОБОРУДОВАНИЕМ
FIT
1:1
100%

Артикул

Название

Примечание

Количество

|$0

154-60-52003

HYDRAULIC TANK ASS'Y

SN: .-UP

1шт.

|$1

0

HYDRAULIC TANK ASS'Y

SN: 2051-.

1шт.

|$$3

-1шт.

|$3

701-43-11002

VALVE ASS'Y,BLADE

SN: .-UP

1шт.

|$4

0

VALVE ASS'Y,BLADE

SN: 2051-.

1шт.

|$$6

-1шт.

|$6

701-30-51002

VALVE ASS'Y

SN: 2051-UP

1шт.

|$7

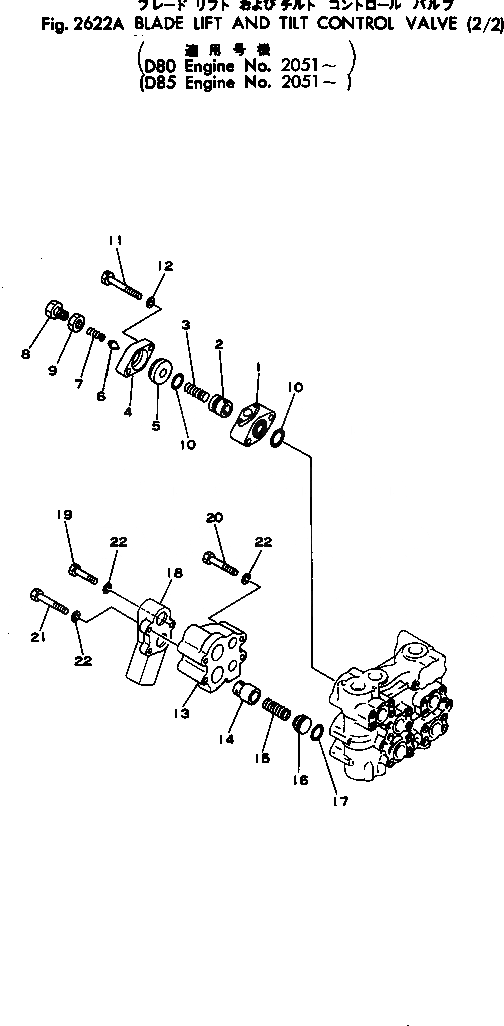
701-30-00010

HOUSING ASS'Y

SN: 2051-UP

1шт.

1

0

HOUSING

SN: 2051-UP

1шт.

2

0

VALVE

SN: 2051-UP

1шт.

3

701-30-51130

SPRING

SN: 2051-UP

1шт.

4

701-30-51140

BODY

SN: 2051-UP

1шт.

5

701-30-51151

SEAT

SN: 2051-UP

1шт.

6

701-30-51160

POPPET

SN: 2051-UP

1шт.

7

701-30-51171

SPRING

SN: 2051-UP

1шт.

8

701-10-51160

PLUG

SN: 2051-UP

1шт.

9

0

NUT

SN: 2051-UP

1шт.

10

07000-13048

O-RING

SN: 2051-UP

2шт.

11

01011-31405

BOLT

SN: 2051-UP

2шт.

12

01602-01442

WASHER,SPRING

SN: 2051-UP

2шт.

|$20

701-40-61002

VALVE ASS'Y

SN: 2051-UP

1шт.

13

701-40-61152

HOUSING

SN: 2051-UP

1шт.

14

701-40-61120

VALVE

SN: 2051-UP

2шт.

15

701-50-61131

SPRING

SN: 2051-UP

2шт.

16

701-40-72120

SEAT

SN: 2051-UP

2шт.

17

07000-13040

O-RING

SN: 2051-UP

2шт.

18

701-40-67110

BAFFLE

SN: 2051-UP

1шт.

19

01010-31480

BOLT

SN: 2051-UP

1шт.

20

01010-31495

BOLT

SN: 2051-UP

2шт.

21

01011-31435

BOLT

SN: 2051-UP

2шт.

22

01602-01442

WASHER

SN: 2051-UP

5шт.

Выбрано товаров: 31