Запчасти Komatsu D80P-18 РАМА ОТВАЛА РАБОЧЕЕ ОБОРУДОВАНИЕ

Схема запчастей Komatsu D80P-18 - РАМА ОТВАЛА РАБОЧЕЕ ОБОРУДОВАНИЕ
FIT
1:1
100%

Артикул

Название

Примечание

Количество

|$0

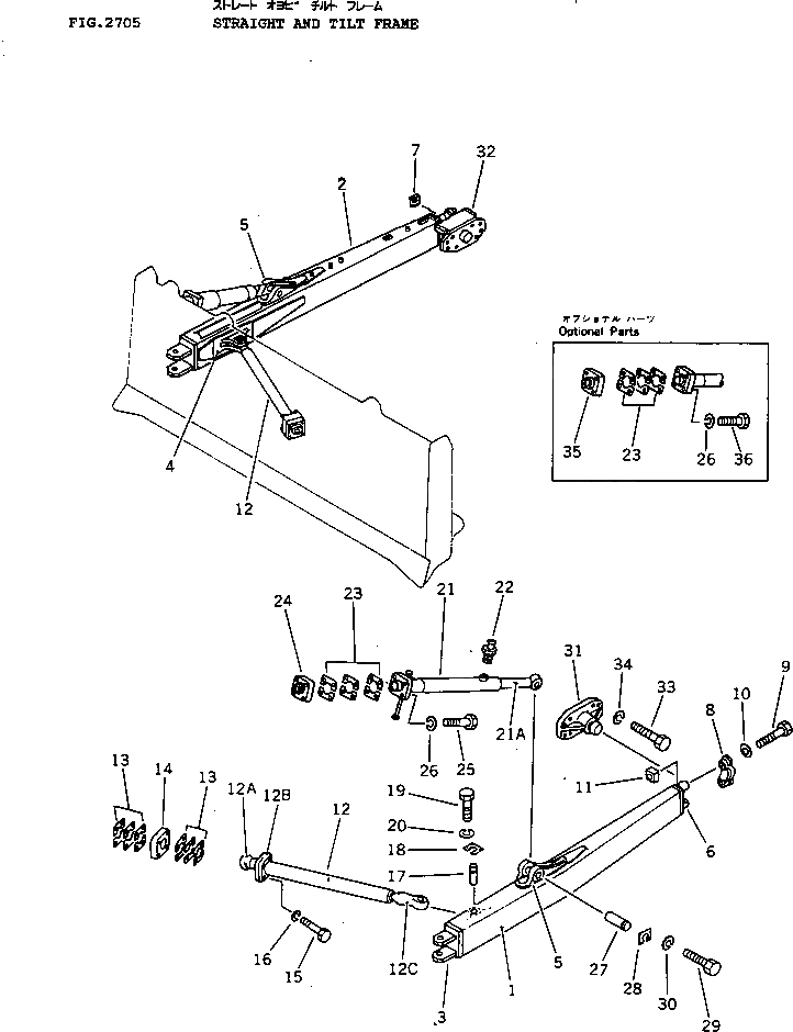
154-929-0011

FRAME ASS'Y,L.H.

SN: 2001-UP

1шт.

|$1

154-929-0021

FRAME ASS'Y,R.H.

SN: 2001-UP

1шт.

1

0

FRAME,L.H.

SN: 2001-UP

1шт.

2

0

FRAME,R.H.

SN: 2001-UP

1шт.

3

154-71-22231

BRACKET (WELDED)

SN: 1007-UP

1шт.

4

154-71-22240

BRACKET (WELDED)

SN: 1001-UP

1шт.

5

175-71-21381

BRACKET (WELDED)

SN: 1007-UP

1шт.

|$7

150-70-00240

BRACKET ASS'Y,L.H.

SN: 1007-UP

1шт.

|$8

154-71-00130

BRACKET ASS'Y,R.H.

SN: 2001-UP

1шт.

6

0

BRACKET (WELDED)

SN: 1007-UP

1шт.

7

154-71-31470

SEAT (WELDED)

SN: 2001-UP

1шт.

8

0

CAP

SN: 1007-UP

1шт.

9

154-71-31420

BOLT

SN: 1007-UP

2шт.

10

01602-02783

WASHER

SN: 1001-UP

2шт.

11

170-70-13141

NUT

SN: 1001-UP

2шт.

12

154-71-31221

ARM

SN: 2001-UP

2шт.

12A

154-71-22332

BALL (WELDED)

SN: 2001-UP

1шт.

12B

154-71-22340

CAP

SN: 2001-UP

1шт.

12C

154-71-22362

JOINT (WELDED)

SN: 2001-UP

1шт.

13

150-71-00017

SHIM ASS'Y

SN: 1001-UP

4шт.

13

154-71-22390

SHIM, 2.3MM

SN: 1001-UP

2шт.

13

154-71-22410

SHIM, 1.0MM

SN: 1001-UP

4шт.

13

154-71-22420

SHIM, 0.5MM

SN: 1001-UP

2шт.

14

154-71-22380

CAP

SN: 1007-UP

2шт.

15

154-929-1360

BOLT

SN: 1007-UP

8шт.

16

01643-32460

WASHER

SN: 2001-UP

8шт.

17

154-71-22480

PIN

SN: 1007-UP

2шт.

18

154-71-22490

PLATE

SN: 1007-UP

2шт.

19

01010-31435

BOLT

SN: 1007-UP

8шт.

20

01643-31445

WASHER

SN: 2001-UP

8шт.

21

154-929-3180

BRACE

SN: 2001-UP

1шт.

21A

154-929-3190

SCREW

SN: 2001-UP

1шт.

22

07020-00000

FITTING

SN: 2001-UP

1шт.

23

150-71-00017

SHIM ASS'Y

SN: 1001-UP

2шт.

23

154-71-22390

SHIM, 2.3MM

SN: 1001-UP

2шт.

23

154-71-22410

SHIM, 1.0MM

SN: 1001-UP

4шт.

23

154-71-22420

SHIM, 0.5MM

SN: 1001-UP

2шт.

24

154-929-3210

CAP

SN: 2001-UP

2шт.

25

01011-32420

BOLT

SN: 2001-UP

8шт.

26

01643-32460

WASHER

SN: 2001-UP

8шт.

27

154-71-21290

PIN

SN: 2001-UP

2шт.

28

175-71-21330

PLATE

SN: 2001-UP

2шт.

29

01010-31435

BOLT

SN: 1007-UP

8шт.

30

01643-31445

WASHER

SN: 2001-UP

8шт.

31

154-929-1220

TRUNNION

SN: 2001-UP

1шт.

32

154-929-1280

TRUNNION

SN: 2001-UP

1шт.

32

154-929-1290

BALL (WELDED)

SN: 2001-UP

1шт.

33

01010-32255

BOLT

SN: 1007-UP

16шт.

34

01643-32260

WASHER

SN: 2001-UP

16шт.

35

154-929-1260

CAP

SN: 2001-UP

2шт.

36

01011-32455

BOLT

SN: 2001-UP

8шт.

Выбрано товаров: 51