Запчасти Komatsu D80P-18 КРЕПЛЕНИЕ РАДИАТОРА(№-) КОМПОНЕНТЫ ДВИГАТЕЛЯ И ЭЛЕКТРИКА

Схема запчастей Komatsu D80P-18 - КРЕПЛЕНИЕ РАДИАТОРА(№-) КОМПОНЕНТЫ ДВИГАТЕЛЯ И ЭЛЕКТРИКА
FIT
1:1
100%

Артикул

Название

Примечание

Количество

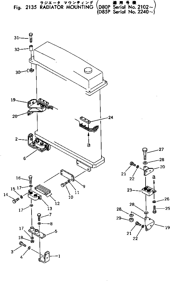
1

154-03-13290

BRACKET

SN: 2102-UP

1шт.

2

154-03-13280

BRACKET

SN: 2102-UP

1шт.

3

01010-51235

BOLT

SN: 2102-UP

6шт.

4

01643-31232

WASHER

SN: 2102-UP

6шт.

5

154-03-13310

PLATE

SN: 2102-UP

1шт.

6

154-03-13330

PLATE

SN: 2102-UP

1шт.

7

01010-51445

BOLT

SN: 2102-UP

4шт.

8

01643-31445

WASHER

SN: 2102-UP

4шт.

9

154-03-13320

PLATE

SN: 2102-UP

2шт.

10

01010-51240

BOLT

SN: 2102-UP

4шт.

11

01643-31232

WASHER

SN: 2102-UP

4шт.

12

195-03-22270

SHIM, 1.0MM

SN: 2102-UP

12шт.

13

195-03-22500

ISOLATOR ASS'Y

SN: 2102-UP

2шт.

14

01010-51240

BOLT

SN: 2102-UP

4шт.

15

01643-31232

WASHER

SN: 2102-UP

4шт.

16

01091-52250

BOLT

SN: 2102-UP

4шт.

17

01643-32260

WASHER

SN: 2102-UP

12шт.

18

01582-12218

NUT

SN: 2102-UP

4шт.

19

154-03-13190

BRACKET

SN: 2102-UP

2шт.

20

154-03-13210

BRACKET

SN: 2102-UP

2шт.

21

01010-31230

BOLT

SN: 2102-UP

8шт.

22

01643-31232

WASHER

SN: 2102-UP

8шт.

23

195-03-22400

ISOLATOR ASS'Y

SN: 2102-UP

2шт.

24

198-03-21530

PLATE

SN: 2102-UP

2шт.

25

01010-51075

BOLT

SN: 2102-UP

6шт.

26

01643-31032

WASHER

SN: 2102-UP

6шт.

27

01091-52220

BOLT

SN: 2102-UP

4шт.

28

01643-32260

WASHER

SN: 2102-UP

16шт.

29

01582-12218

NUT

SN: 2102-UP

4шт.

30

154-03-11611

SHIM, 0.6MM

SN: 2102-UP

5шт.

31

01011-51640

BOLT

SN: 2102-UP

4шт.

32

154-03-13240

COLLAR

SN: 2102-UP

4шт.

Выбрано товаров: 32