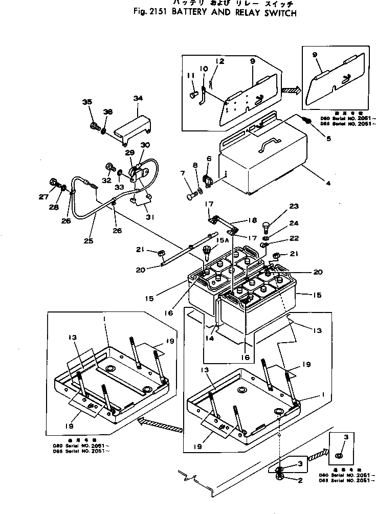
Запчасти Komatsu D80P-18 АККУМУЛЯТОР И РЕЛЕ КОМПОНЕНТЫ ДВИГАТЕЛЯ И ЭЛЕКТРИКА

Схема запчастей Komatsu D80P-18 - АККУМУЛЯТОР И РЕЛЕ КОМПОНЕНТЫ ДВИГАТЕЛЯ И ЭЛЕКТРИКА
FIT
1:1
100%

Артикул

Название

Примечание

Количество

1

154-06-36662

CASE

SN: 2051-UP

1шт.

1

154-06-36661

CASE

SN: 2001-2050

1шт.

2

01580-01210

NUT

SN: 2001-UP

4шт.

3

01602-01236

WASHER

SN: 2051-UP

4шт.

3

0

WASHER

SN: 2001-2050

4шт.

|$5

154-06-00600

COVER ASS'Y

SN: 2001-UP

1шт.

4

0

COVER

SN: 2001-UP

1шт.

5

09459-00000

LOCK

SN: 2001-UP

1шт.

6

195-57-11530

CATCHER

SN: 2001-UP

2шт.

7

01220-30512

SCREW

SN: 2001-UP

6шт.

8

01601-00513

WASHER

SN: 2001-UP

6шт.

9

154-06-36741

COVER

SN: 2051-UP

1шт.

9

0

COVER ASS'Y

SN: 2001-2050

1шт.

9

154-06-36740

COVER

SN: 2001-2050

1шт.

10

154-06-36730

BAR

SN: 2001-2050

1шт.

11

04205-00414

PIN

SN: 2001-2050

1шт.

12

04050-01008

PIN

SN: 2001-2050

1шт.

|$17

154-06-36471

SEAT

SN: 2001-2050

1шт.

13

08007-03549

CUSHION

SN: 2051-UP

3шт.

14

08007-06050

CUSHION

SN: 2001-UP

1шт.

15

08000-32220

BATTERY (165G51),(FOR JAPAN)

SN: 2001-UP

2шт.

15

08000-02221

BATTERY (C200),(FOR JAPAN)

SN: 2001-UP

2шт.

15

08000-42220

BATTERY (165G51),(EXCEPT JAPAN)

SN: 2001-UP

2шт.

15

08000-12221

BATTERY (C200),(EXCEPT JAPAN)

SN: 2001-UP

2шт.

15A

202-06-14120

FLOAT

SN: 2001-UP

2шт.

16

08000-00000

TERMINAL, (+)

SN: 2001-UP

2шт.

17

08000-00001

TERMINAL, (-)

SN: 2001-UP

2шт.

18

195-06-18581

WIRE ASS'Y

SN: 2001-UP

1шт.

19

175-06-39621

ROD

SN: 2001-UP

4шт.

20

195-06-19461

HOLDER

SN: 2001-UP

2шт.

21

01580-01008

NUT

SN: 2001-UP

8шт.

22

08036-01814

CLIP

SN: 2001-UP

1шт.

23

01010-31016

BOLT

SN: 2001-UP

1шт.

24

01602-01030

WASHER

SN: 2001-UP

1шт.

25

154-06-36581

WIRE ASS'Y

SN: 2001-UP

1шт.

26

08035-03010

CLIP

SN: 2001-UP

3шт.

27

01010-31020

BOLT

SN: 2001-UP

1шт.

28

01602-01030

WASHER

SN: 2001-UP

1шт.

29

08088-10000

SWITCH

SN: 2001-UP

1шт.

30

140-06-18260

CAP

SN: 2001-UP

1шт.

31

08038-00518

CAP

SN: 2001-UP

2шт.

32

01010-30816

BOLT

SN: 2001-UP

2шт.

33

01602-00825

WASHER

SN: 2001-UP

2шт.

34

154-06-36760

COVER

SN: 2001-UP

1шт.

35

01010-30816

BOLT

SN: 2001-UP

2шт.

36

01602-00825

WASHER

SN: 2001-UP

2шт.

Выбрано товаров: 46