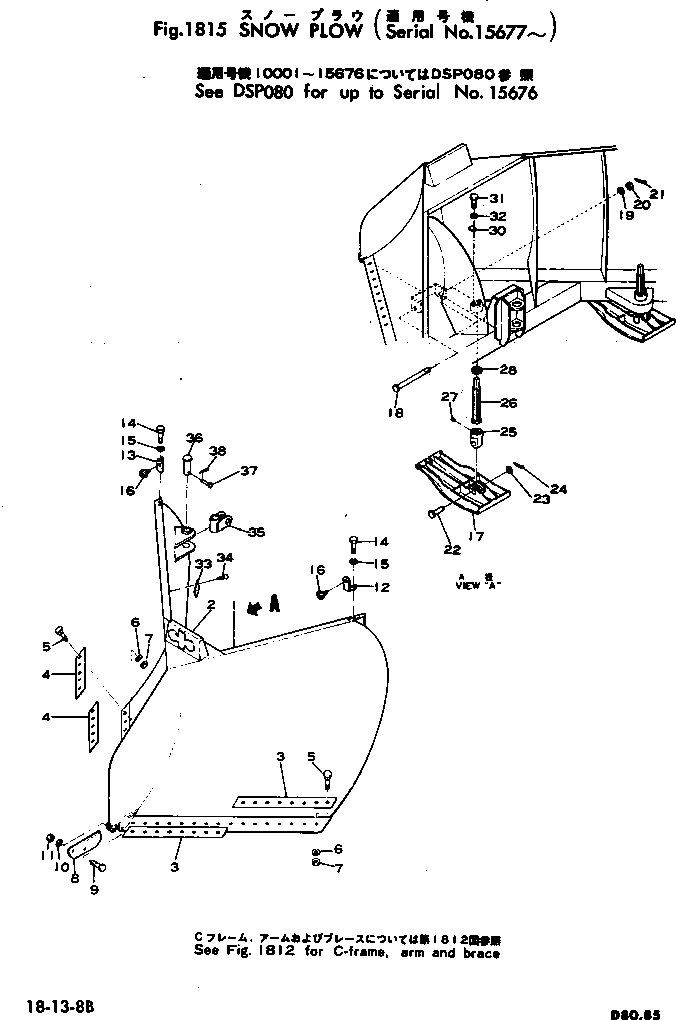
Запчасти Komatsu D85A-12 SNOW PНИЗ.(№77-) ОПЦИОННЫЕ КОМПОНЕНТЫ

Схема запчастей Komatsu D85A-12 - SNOW PНИЗ.(№77-) ОПЦИОННЫЕ КОМПОНЕНТЫ
FIT
1:1
100%

Артикул

Название

Примечание

Количество

|$0

154-97-00100

SNOW PLOW ASS'Y

SN: 15677-UP

1шт.

1

154-97-11110

SNOW PLOW

SN: 15677-UP

1шт.

2

154-70-15310

PLATE, MARK (WELDED)

SN: 15677-UP

1шт.

3

154-97-11120

EDGE,CUTTING, L.H.

SN: 15677-UP

2шт.

4

154-97-11130

EDGE,CUTTING, R.H.

SN: 15677-UP

2шт.

5

02090-11260

BOLT

SN: 15677-UP

32шт.

6

01643-01845

WASHER

SN: 15677-UP

32шт.

7

02290-01219

NUT

SN: 15677-UP

32шт.

8

154-97-11140

EDGE,CUTTING

SN: 15677-UP

1шт.

9

01010-31860

BOLT

SN: 15677-UP

2шт.

10

01602-01854

WASHER,SPRING

SN: 15677-UP

2шт.

11

01580-01815

NUT

SN: 15677-UP

2шт.

12

150-97-21321

BRACKET

SN: 15677-UP

1шт.

13

150-97-21311

BRACKET

SN: 15677-UP

1шт.

14

01010-30620

BOLT

SN: 15677-UP

4шт.

15

01602-00619

WASHER

SN: 15677-UP

4шт.

16

08170-00000

REFLECTOR

SN: 15677-UP

2шт.

17

150-97-21210

SLEDGE

SN: 15677-UP

3шт.

18

150-97-21221

BOLT

SN: 15677-UP

3шт.

19

01640-02440

WASHER

SN: 15677-UP

3шт.

20

01590-02427

NUT

SN: 15677-UP

3шт.

21

04050-05045

PIN

SN: 15677-UP

3шт.

22

150-97-21250

PIN

SN: 15677-UP

3шт.

23

01640-03950

WASHER

SN: 15677-UP

3шт.

24

04050-00060

PIN

SN: 15677-UP

3шт.

25

150-97-21240

BRACKET

SN: 15677-UP

3шт.

26

150-97-21230

BOLT

SN: 15677-UP

3шт.

27

01322-30816

SCREW

SN: 15677-UP

3шт.

28

150-97-21260

RING

SN: 15677-UP

3шт.

30

150-97-21280

LOCK

SN: 15677-UP

3шт.

31

01010-30820

BOLT

SN: 15677-UP

3шт.

32

01602-00825

WASHER

SN: 15677-UP

3шт.

33

09601-00835

PLATE, NAME

SN: 15677-UP

1шт.

34

04418-03060

SCREW

SN: 15677-UP

4шт.

35

170-70-12273

JOINT

SN: 15677-UP

4шт.

36

170-70-12290

PIN

SN: 15677-UP

4шт.

37

170-70-12310

PIN

SN: 15677-UP

4шт.

38

04050-04025

PIN

SN: 15677-UP

4шт.

Выбрано товаров: 38