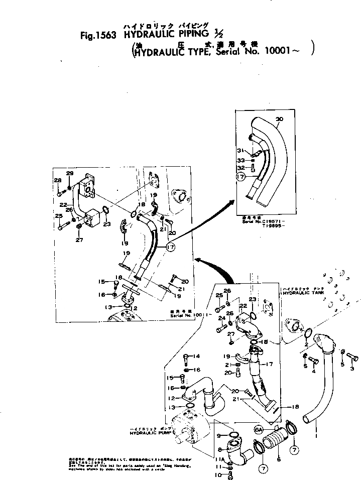
Запчасти Komatsu D85A-12 ГИДРОЛИНИЯ (/) РАБОЧЕЕ ОБОРУДОВАНИЕ И ITS СИСТЕМА УПРАВЛЕНИЯ

Схема запчастей Komatsu D85A-12 - ГИДРОЛИНИЯ (/) РАБОЧЕЕ ОБОРУДОВАНИЕ И ITS СИСТЕМА УПРАВЛЕНИЯ
FIT
1:1
100%

Артикул

Название

Примечание

Количество

1

154-60-21110

TUBE

SN: H10001-UP

1шт.

2

07000-03078

O-RING (KIT)

SN: H10001-UP

1шт.

3

01010-31480

BOLT

SN: H14660-UP

1шт.

|3

01040-31480

BOLT

SN: H10001-14659

1шт.

4

01010-31435

BOLT

SN: H14660-UP

1шт.

|4

01040-31435

BOLT

SN: H10001-14659

1шт.

5

01602-01442

WASHER

SN: H10001-UP

2шт.

6

07260-05816

HOSE

SN: H10011-UP

1шт.

|6

07260-05814

HOSE

SN: H10001-10010

1шт.

7

07280-07429

CLAMP

SN: H10001-UP

2шт.

8

154-60-21130

TUBE

SN: H10001-UP

1шт.

9

07000-03070

O-RING (KIT)

SN: H10001-UP

1шт.

10

01010-31245

BOLT

SN: H10001-UP

2шт.

11

01602-01236

WASHER

SN: H10001-UP

2шт.

11A

01640-01223

WASHER

SN: H10001-UP

2шт.

12

154-60-21153

TUBE

SN: H19571-UP

1шт.

|12

0

TUBE

SN: H10011-19570

1шт.

|12

154-60-21150

TUBE

SN: H10001-10010

1шт.

13

07000-13042

O-RING (KIT)

SN: H10001-UP

1шт.

14

01010-31070

BOLT

SN: H10001-10010

2шт.

15

07372-01045

BOLT

SN: 22006-UP

4шт.

|15

0

BOLT

SN: H10011-22005

4шт.

|15

07372-01045

BOLT

SN: H10001-10010

2шт.

16

01602-01030

WASHER

SN: H10001-UP

4шт.

17

07114-01406

HOSE

SN: H10011-UP

1шт.

|17

154-19-18170

HOSE

SN: H10001-10010

1шт.

18

07000-13048

O-RING (KIT)

SN: H10001-UP

2шт.

19

07371-31465

FLANGE

SN: H22834-UP

4шт.

|19

0

FLANGE

SN: H10001-22833

4шт.

20

01010-31240

BOLT

SN: H22834-UP

8шт.

|20

01010-31235

BOLT

SN: H10001-22833

8шт.

21

01602-01236

WASHER

SN: H10001-UP

8шт.

22

154-60-21181

TUBE

SN: H10011-UP

1шт.

|22

154-60-21180

ELBOW

SN: H10001-10010

1шт.

23

07000-13050

O-RING (KIT)

SN: H10001-UP

1шт.

24

01010-31250

BOLT

SN: H10001-10010

2шт.

25

01011-31205

BOLT

SN: H10011-UP

4шт.

|25

01010-31275

BOLT

SN: H10001-10010

2шт.

26

01602-01236

WASHER

SN: H10001-UP

4шт.

27

07042-00108

PLUG

SN: H10001-UP

1шт.

28

01010-31440

BOLT

SN: H14660-UP

2шт.

|28

01040-31440

BOLT

SN: H10011-14659

2шт.

29

01602-01442

WASHER

SN: H10011-UP

2шт.

30

154-60-21210

COVER

SN: H19571-UP

1шт.

31

154-60-21220

CLAMP

SN: H19571-UP

2шт.

32

01010-31025

BOLT

SN: H22515-UP

4шт.

|32

0

BOLT

SN: H19571-22514

4шт.

33

01602-01030

WASHER

SN: H19571-UP

4шт.

|$$49

FOR SLAG HANDLING

-1шт.

6A

175-822-7260

TAPE

SN: H10001-UP

2шт.

7

07280-08029

CLAMP

SN: H10001-UP

2шт.

17

154-890-2290

HOSE

SN: H10011-UP

1шт.

Выбрано товаров: 52