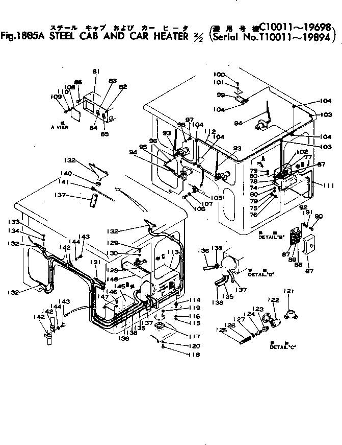
Запчасти Komatsu D85A-12 СТАЛЬНАЯ КАБИНА И ОБОГРЕВАТЕЛЬ. (/)(№-998) ОПЦИОННЫЕ КОМПОНЕНТЫ

Схема запчастей Komatsu D85A-12 - СТАЛЬНАЯ КАБИНА И ОБОГРЕВАТЕЛЬ. (/)(№-998) ОПЦИОННЫЕ КОМПОНЕНТЫ
FIT
1:1
100%

Артикул

Название

Примечание

Количество

1

154-90-11161

SEAT

SN: 15596-@

1шт.

2

154-90-11171

SEAT

SN: 15596-@

2шт.

3

154-90-11390

SEAT

SN: 15596-@

2шт.

4

154-90-11490

SEAT

SN: 15596-@

1шт.

5

01010-31440

BOLT

SN: 15596-@

14шт.

6

01580-01411

NUT

SN: 15596-@

11шт.

7

01602-01442

WASHER

SN: 15596-@

14шт.

|8

154-90-00031

CABIN ASS'Y

SN: 15596-19698

1шт.

|8

0

CABIN ASS'Y

SN: 10011-15595

1шт.

8

154-90-11112

CABIN

SN: 15596-19698

1шт.

9

154-90-11470

PLATE

SN: 15596-@

1шт.

10

01010-31020

BOLT

SN: 15596-@

4шт.

11

01602-01030

WASHER

SN: 15596-@

4шт.

|12

154-90-00051

DOOR ASS'Y,L.H.

SN: 15596-@

1шт.

|12

154-90-00050

DOOR ASS'Y,L.H.

SN: 10011-15595

1шт.

|12

154-90-00061

DOOR ASS'Y,R.H.

SN: 15596-@

1шт.

|12

154-90-00060

DOOR ASS'Y,R.H.

SN: 10011-15595

1шт.

12

154-90-11125

DOOR,L.H.

SN: 15596-@

1шт.

|12

154-90-11122

DOOR,L.H.

SN: 10011-15595

1шт.

13

154-90-11135

DOOR,R.H.

SN: 15596-@

1шт.

|13

154-90-11132

DOOR,R.H.

SN: 10011-15595

1шт.

14

154-90-11270

GLASS

SN: 15596-@

2шт.

15

09410-00175

STRIP,WEATHER

SN: 15596-@

2шт.

16

154-90-16280

HANDLE ASS'Y

SN: 15596-@

1шт.

17

154-90-16270

HANDLE ASS'Y

SN: 15596-@

1шт.

18

01225-40416

SCREW

SN: 15596-@

2шт.

19

01225-30408

SCREW

SN: 15596-@

4шт.

20

154-90-16310

COVER,L.H.

SN: 15596-@

1шт.

21

154-90-16290

COVER,R.H.

SN: 15596-@

1шт.

22

01220-30612

SCREW

SN: 15596-@

3шт.

23

01641-00608

WASHER

SN: 15596-@

3шт.

24

150-90-11280

PLATE

SN: 10011-15595

1шт.

25

150-90-11290

PLATE

SN: 10011-15595

1шт.

26

150-90-11200

COVER

SN: 10011-15595

1шт.

27

150-90-11300

COVER

SN: 10011-15595

1шт.

28

01210-40425

SCREW

SN: 10011-15595

4шт.

29

01580-00403

NUT

SN: 10011-15595

4шт.

30

01601-00410

WASHER

SN: 10011-15595

4шт.

31

150-90-11391

HANDLE

SN: 10011-15595

1шт.

32

150-90-11170

COLLAR

SN: 10011-15595

1шт.

33

154-90-11411

BAR

SN: 10011-15595

1шт.

34

154-90-11421

BAR

SN: 10011-15595

1шт.

35

130-911-1170

PLATE

SN: 10011-15595

1шт.

36

130-911-1130

RIVET

SN: 10011-15595

4шт.

37

150-90-11180

PLATE

SN: 10011-15595

1шт.

38

150-90-11190

PLATE

SN: 10011-15595

1шт.

39

150-90-11340

SPRING

SN: 10011-15595

1шт.

40

130-911-1160

PLATE

SN: 10011-15595

1шт.

41

150-90-11321

LOCK

SN: 10011-15595

1шт.

42

01324-30412

SCREW

SN: 10011-15595

1шт.

43

130-911-9130

RIVET

SN: 10011-15595

4шт.

44

150-90-11270

HINGE

SN: 15596-@

6шт.

45

01225-30616

SCREW

SN: 15596-@

36шт.

46

01580-00605

NUT

SN: 15596-@

36шт.

47

01602-00619

WASHER

SN: 15596-@

36шт.

48

154-90-11210

GLASS

SN: 15596-@

2шт.

49

09410-00240

STRIP,WEATHER

SN: 15596-@

2шт.

50

154-90-11231

GLASS

SN: 15596-@

1шт.

51

09410-00180

STRIP,WEATHER

SN: 15596-@

1шт.

52

154-90-11251

GLASS

SN: 15596-@

1шт.

53

09410-00145

STRIP,WEATHER

SN: 15596-@

1шт.

54

154-90-11451

GLASS

SN: 15596-@

2шт.

55

09410-00225

STRIP,WEATHER

SN: 15596-@

2шт.

56

154-90-11321

GLASS

SN: 15596-@

1шт.

57

09410-00245

STRIP,WEATHER

SN: 15596-@

1шт.

58

154-90-11480

GLASS

SN: 15596-@

2шт.

59

09410-00120

STRIP,WEATHER

SN: 15596-@

2шт.

60

154-90-11341

STRIP,WEATHER

SN: 15596-@

1шт.

61

150-90-12020

PLATE

SN: 15596-@

2шт.

|61

154-90-11190

PLATE,(WITH STARTING MOTOR)

SN: 15596-@

1шт.

62

01010-30612

BOLT

SN: 15596-@

2шт.

63

01602-00619

WASHER

SN: 15596-@

2шт.

64

154-90-11351

STRIP

SN: 15596-@

1шт.

65

154-90-11361

PLATE

SN: 15596-@

2шт.

66

154-90-11370

PLATE

SN: 15596-@

1шт.

67

154-90-11380

PLATE

SN: 15596-@

1шт.

68

01010-30612

BOLT

SN: 15596-@

6шт.

69

01602-10619

WASHER

SN: 15596-@

6шт.

70

154-90-11180

STRIP

SN: 15596-@

1шт.

74

154-90-13161

BRACKET

SN: 15596-@

1шт.

75

01010-30820

BOLT

SN: 15596-@

4шт.

76

01602-00825

WASHER

SN: 15596-@

4шт.

77

154-90-13132

CASE

SN: 15596-@

1шт.

78

154-06-13910

ISOLATOR

SN: 15596-@

3шт.

79

01582-01008

NUT

SN: 15596-@

6шт.

80

01602-01030

WASHER

SN: 15596-@

6шт.

81

154-90-13144

COVER

SN: 15596-@

1шт.

82

08060-00040

SWITCH,LAMP

SN: @-UP

1шт.

|82

0

SWITCH,LAMP

SN: 15596-@

1шт.

83

08060-10000

SWITCH,WIPER

SN: 15596-@

1шт.

84

154-90-16440

PLATE

SN: @-UP

1шт.

|84

0

PLATE

SN: 15596-@

1шт.

85

150-30-11924

PLATE¤ NAME

SN: @-UP

1шт.

|85

0

PLATE¤ NAME

SN: 15596-@

1шт.

86

01220-40612

SCREW

SN: 15596-@

4шт.

87

08043-04000

BOX,FUSE

SN: 15596-@

1шт.

88

08040-01000

FUSE¤ 10A

SN: 15596-@

2шт.

89

08040-02000

FUSE¤ 20A

SN: 15596-@

2шт.

90

01220-30420

SCREW

SN: 15596-@

2шт.

91

01601-00410

WASHER

SN: 15596-@

2шт.

92

01641-00405

WASHER

SN: 15596-@

2шт.

93

154-90-13180

WIPER

SN: 15596-19698

2шт.

94

110-90-11410

WIPER

SN: 15596-19698

2шт.

95

01010-30616

BOLT

SN: 15596-19698

4шт.

96

01602-00619

WASHER

SN: 15596-@

4шт.

97

01010-30625

BOLT

SN: 15596-@

8шт.

98

01602-00619

WASHER

SN: 15596-@

8шт.

99

150-90-11580

LAMP

SN: 15596-19698

1шт.

100

01220-30616

SCREW

SN: @-UP

2шт.

100

0

SCREW

SN: 15596-@

2шт.

101

01602-00619

WASHER

SN: 15596-@

2шт.

102

08037-02512

GROMMET

SN: 15596-@

1шт.

103

08037-01610

GROMMET

SN: 15596-@

2шт.

104

08037-01008

GROMMET

SN: 15596-@

6шт.

105

08036-10810

CLIP

SN: 15596-@

2шт.

106

01010-30816

BOLT

SN: 15596-@

2шт.

107

01602-00825

WASHER

SN: 15596-@

2шт.

108

195-904-1350

PLATE

SN: 15596-@

1шт.

109

01220-40412

SCREW

SN: 15596-@

4шт.

110

01601-20410

WASHER

SN: 15596-@

4шт.

111

154-90-13112

WIRE ASS'Y

SN: 15596-@

1шт.

112

154-90-13122

WIRE ASS'Y

SN: 15596-@

1шт.

112A

154-55-16252

FENDER

SN: 15596-@

1шт.

112B

154-55-16262

FENDER

SN: 15596-@

1шт.

113

154-90-14102

HEATER ASS'Y

SN: 15596-@

1шт.

114

154-90-14160

CONNECTOR

SN: 15596-@

4шт.

115

01580-00806

NUT

SN: 15596-@

8шт.

116

01602-10825

WASHER

SN: 15596-@

8шт.

117

154-90-14141

GASKET

SN: 15596-@

1шт.

118

01010-30825

BOLT

SN: 15596-@

4шт.

119

01580-00806

NUT

SN: 15596-@

4шт.

120

01602-00825

WASHER

SN: 15596-@

4шт.

121

154-90-14150

JOINT

SN: 15596-@

1шт.

122

07700-30504

VALVE

SN: 15596-@

1шт.

123

175-822-3431

NIPPLE

SN: 15596-@

1шт.

124

154-90-15760

NIPPLE

SN: 15596-@

1шт.

125

154-90-15450

TUBE

SN: 15596-@

1шт.

126

154-90-15460

WIRE

SN: 15596-@

1шт.

127

140-999-9370

CLAMP

SN: 15596-@

2шт.

128

08036-21414

CLIP

SN: 15596-@

2шт.

129

01010-31016

BOLT

SN: 15596-@

2шт.

130

01602-01030

WASHER

SN: 15596-@

2шт.

131

150-90-13320

NOZZLE

SN: 15596-@

1шт.

132

150-90-13330

NOZZLE

SN: 15596-@

3шт.

133

01220-30516

SCREW

SN: 15596-@

8шт.

134

01601-00513

WASHER

SN: 15596-@

8шт.

135

154-90-15630

TUBE

SN: 15596-@

1шт.

136

154-90-15640

TUBE

SN: 15596-@

1шт.

137

154-90-15650

TUBE

SN: 15596-@

1шт.

138

154-90-15660

TUBE

SN: 15596-@

1шт.

139

07280-04426

CLAMP

SN: 15596-@

4шт.

140

150-90-13340

RUBBER

SN: 15596-@

4шт.

141

150-90-13370

CLAMP

SN: 15596-@

4шт.

142

175-822-3550

CLAMP

SN: 15596-@

10шт.

143

01010-30820

BOLT

SN: 15596-@

8шт.

144

01602-00825

WASHER

SN: 15596-@

8шт.

145

154-90-14111

GUARD

SN: 15596-@

1шт.

146

01010-30820

BOLT

SN: 15596-@

4шт.

147

01602-00825

WASHER

SN: 15596-@

4шт.

148

154-55-16491

SUPPORT

SN: 15596-@

1шт.

Выбрано товаров: 160