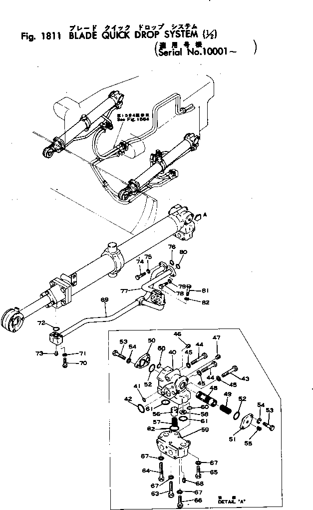
Запчасти Komatsu D85A-12 ОТВАЛ QUICK DROP СИСТЕМА (/) ОПЦИОННЫЕ КОМПОНЕНТЫ

Схема запчастей Komatsu D85A-12 - ОТВАЛ QUICK DROP СИСТЕМА (/) ОПЦИОННЫЕ КОМПОНЕНТЫ
FIT
1:1
100%

Артикул

Название

Примечание

Количество

|1

154-61-01201

CYLINDER ASS'Y,L.H.

SN: H15530-UP

1шт.

|1

154-61-01200

CYLINDER ASS'Y,L.H.

SN: H10001-15529

1шт.

|1

154-61-01211

CYLINDER ASS'Y,R.H.

SN: H15530-UP

1шт.

|1

154-61-01210

CYLINDER ASS'Y,R.H.

SN: H10001-15529

1шт.

|1

154-61-01221

CYLINDER ASS'Y

SN: H15530-UP

1шт.

|1

154-61-01220

CYLINDER ASS'Y

SN: H10001-15529

1шт.

1

154-61-11112

TUBE,CYLINDER

SN: H10001-UP

1шт.

2

154-61-11212

HEAD,CYLINDER

SN: H10001-UP

1шт.

3

154-61-11221

BOX

SN: H10001-UP

1шт.

4

154-61-11232

SEAL,DUST

SN: H10001-UP

1шт.

5

154-61-11271

RING,BACK-UP

SN: H10001-UP

1шт.

6

154-61-11261

U-PACKING

SN: H10001-UP

1шт.

7

04065-09030

RING

SN: H10001-UP

1шт.

8

154-61-11291

BUSHING

SN: H10001-UP

1шт.

9

154-61-11320

PLATE

SN: H10001-UP

1шт.

10

01010-31240

BOLT

SN: H10001-UP

4шт.

11

01602-01236

WASHER

SN: H10001-UP

4шт.

12

01010-32260

BOLT

SN: H10001-UP

4шт.

13

01602-02268

WASHER

SN: H10001-UP

4шт.

14

154-61-11311

RING,BACK-UP

SN: H10001-UP

1шт.

15

07000-15110

O-RING

SN: H10001-UP

1шт.

16

154-61-11412

ROD

SN: H15530-UP

1шт.

|16

154-61-11411

ROD

SN: H10001-15529

1шт.

17

150-61-21581

BEARING,BALL

SN: 15530-UP

1шт.

|17

0

BEARING,BALL

SN: H10001-15529

1шт.

18

154-61-11440

BUSHING

SN: H10001-UP

1шт.

19

154-61-11450

BUSHING

SN: H10001-UP

1шт.

20

154-61-01040

SHIM ASS'Y

SN: H10001-UP

2шт.

|20

0

SHIM¤ 0.2MM

SN: H10001-24229

2шт.

|20

0

SHIM¤ 0.3MM

SN: H10001-24229

2шт.

21

01010-31290

BOLT

SN: H10001-UP

3шт.

22

01602-01236

WASHER

SN: H10001-UP

3шт.

23

07020-00000

FITTING

SN: H10001-15529

1шт.

24

110-61-14250

U-PACKING

SN: H10001-UP

2шт.

25

110-61-14240

SUPPORT

SN: H10001-UP

2шт.

26

150-61-21670

PISTON

SN: H10001-UP

1шт.

27

150-61-21680

PLATE

SN: H10001-UP

2шт.

28

150-61-21690

SPACER

SN: H10001-UP

1шт.

29

110-61-14230

RING

SN: H10001-UP

1шт.

30

150-61-21721

VALVE

SN: H18028-UP

3шт.

|30

150-61-21720

VALVE

SN: H10001-18027

3шт.

31

150-61-21731

SLEEVE

SN: H18028-UP

6шт.

|31

150-61-21730

SLEEVE

SN: H10001-18027

6шт.

32

04020-00616

PIN

SN: H10001-UP

2шт.

33

07165-13941

NUT

SN: H10001-UP

1шт.

34

154-61-11620

PLATE

SN: H18227-UP

1шт.

|34

0

PLATE

SN: H10001-18226

1шт.

35

01010-31245

BOLT

SN: H10001-UP

1шт.

36

01602-01236

WASHER

SN: H10001-UP

1шт.

37

01010-30825

BOLT

SN: H10001-UP

1шт.

38

01580-00806

NUT

SN: H10001-UP

1шт.

39

01602-00825

WASHER

SN: H10001-UP

1шт.

|40

154-61-01100

VALVE ASS'Y

SN: H10001-UP

1шт.

40

175-61-11110

BODY

SN: H10001-UP

1шт.

41

07000-13022

O-RING

SN: H10001-UP

1шт.

42

07000-12055

O-RING

SN: H10001-UP

1шт.

43

01011-31640

BOLT

SN: H10001-UP

1шт.

44

01011-31610

BOLT

SN: H10001-UP

2шт.

45

01602-01648

WASHER

SN: H10001-UP

3шт.

46

07042-20312

PLUG

SN: H10001-UP

1шт.

47

07043-00312

PLUG

SN: H10001-UP

1шт.

48

154-61-12110

VALVE

SN: H10001-UP

1шт.

49

175-61-11220

SPRING,VALVE

SN: H10001-UP

1шт.

50

175-61-11250

FLANGE

SN: H10001-UP

1шт.

51

175-61-11260

FLANGE

SN: H10001-UP

1шт.

52

07000-13045

O-RING

SN: H10001-UP

2шт.

53

01010-31235

BOLT

SN: H10001-UP

5шт.

54

01602-01236

WASHER

SN: H10001-UP

5шт.

55

07042-20312

PLUG

SN: H10001-UP

1шт.

56

154-61-15260

VALVE

SN: H10001-UP

1шт.

57

175-61-11270

SPRING

SN: H10001-UP

1шт.

58

175-61-11310

ORIFICE

SN: H10001-UP

1шт.

59

175-61-11380

ELBOW

SN: H10001-UP

1шт.

60

07000-13025

O-RING

SN: H10001-UP

2шт.

61

07000-13042

O-RING

SN: H10001-UP

2шт.

62

07000-13045

O-RING

SN: H10001-UP

1шт.

63

01010-31480

BOLT

SN: H10001-UP

1шт.

64

01010-31485

BOLT

SN: H10001-UP

2шт.

65

01010-31460

BOLT

SN: H10001-UP

2шт.

66

01010-31445

BOLT

SN: H10001-UP

1шт.

67

01602-01442

WASHER

SN: H10001-UP

6шт.

68

07043-00312

PLUG

SN: H10001-UP

2шт.

69

154-61-21242

TUBE,L.H.

SN: H10001-UP

1шт.

|69

154-61-21222

TUBE,R.H.

SN: H10001-UP

1шт.

70

01010-31275

BOLT

SN: H10001-UP

4шт.

71

01602-01236

WASHER

SN: H10001-UP

4шт.

72

07000-13048

O-RING

SN: H10001-UP

1шт.

73

07042-00108

PLUG

SN: H10001-UP

1шт.

74

01010-31240

BOLT

SN: H10001-UP

2шт.

75

01602-01236

WASHER

SN: H10001-UP

2шт.

76

07000-13038

O-RING

SN: H10001-UP

1шт.

77

154-61-21312

TUBE,L.H.

SN: H10001-UP

1шт.

|77

154-61-21292

TUBE,R.H.

SN: H10001-UP

1шт.

78

01010-31240

BOLT

SN: H10001-UP

2шт.

79

01602-01236

WASHER

SN: H10001-UP

2шт.

80

07000-13038

O-RING

SN: H10001-UP

1шт.

81

01010-30816

BOLT

SN: H10001-UP

2шт.

82

01602-00825

WASHER

SN: H10001-UP

2шт.

Выбрано товаров: 98