Запчасти Komatsu D85A-12 ПАНЕЛЬ ПРИБОРОВ КОМПОНЕНТЫ ДВИГАТЕЛЯ И ЭЛЕКТРИКА

Схема запчастей Komatsu D85A-12 - ПАНЕЛЬ ПРИБОРОВ КОМПОНЕНТЫ ДВИГАТЕЛЯ И ЭЛЕКТРИКА
FIT
1:1
100%

Артикул

Название

Примечание

Количество

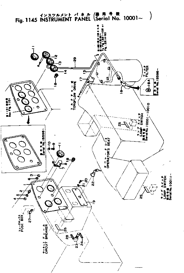
1

150-06-15692

PANEL

SN: 10000-10000

1шт.

|1

154-06-13333

PANEL,INSTRUMENT

SN: 15596-UP

1шт.

|1

154-06-13332

PANEL,INSTRUMENT

SN: 10001-15595

1шт.

2

154-06-13561

CUSHION

SN: 14660-UP

4шт.

|2

154-06-13560

CUSHION

SN: 10001-14659

4шт.

3

01546-01015

NUT

SN: 18516-UP

4шт.

|3

154-06-13390

NUT

SN: 10001-18515

4шт.

4

01582-01008

NUT

SN: 18119-UP

4шт.

|4

01580-01008

NUT

SN: 10001-18118

4шт.

5

01602-01030

WASHER

SN: 10001-UP

4шт.

6

01640-21016

WASHER

SN: 10011-UP

4шт.

7

08144-12400

LAMP

SN: 15596-UP

1шт.

|7

0

LAMP

SN: 10011-15595

1шт.

|7

08143-02400

LAMP

SN: 6001-10010

1шт.

8

08110-12410

BULB¤ 12W

SN: 6001-UP

1шт.

9

01220-30612

SCREW

SN: 10001-UP

1шт.

10

01602-00619

WASHER

SN: 10001-UP

1шт.

11

08601-13000

AMMETER

SN: 10011-UP

1шт.

|11

08600-13000

AMMETER

SN: 10001-10010

1шт.

|11

08601-15000

AMMETER,(FOR 800W ALTERNATOR)

SN: 10001-UP

1шт.

12

08634-03500

GAUGE,OIL PRESSURE

SN: .-15595

1шт.

|12

0

GAUGE,OIL PRESSURE

SN: 10011-.

1шт.

|12

154-06-13530

GAUGE,OIL PRESSURE

SN: 10001-10010

1шт.

13

08631-22000

GAUGE,OIL PRESSURE

SN: 14660-15595

1шт.

|13

08631-21000

GAUGE,OIL PRESSURE

SN: 10011-14659

1шт.

|13

0

GAUGE,OIL PRESSURE

SN: 10001-10010

1шт.

14

08664-12000

GAUGE,OIL TEMPERATURE

SN: 14660-15595

1шт.

|14

08664-02000

GAUGE,OIL TEMPERATURE

SN: 10011-14659

1шт.

|14

154-06-12120

GAUGE,OIL TEMPERATURE

SN: 10001-10010

1шт.

15

154-06-13510

TUBE

SN: 10001-15595

1шт.

16

6610-81-8820

ELBOW

SN: 10001-15595

1шт.

16A

07042-20108

PLUG

SN: 15596-UP

1шт.

17

150-01-13770

CLAMP

SN: 10001-15595

1шт.

18

6610-81-4520

SIGNAL,GLOW

SN: 6650-UP

1шт.

19

154-06-13341

PLATE

SN: 10001-UP

1шт.

20

01220-40620

SCREW

SN: 10001-UP

2шт.

21

01602-00619

WASHER

SN: 10001-UP

2шт.

22

08086-00000

SWITCH,STARTING

SN: 19001-UP

1шт.

|22

08085-10000

SWITCH,STARTING

SN: 10071-19000

1шт.

|22

0

SWITCH,STARTING

SN: 10001-10070

1шт.

|22

08085-10001

KEY

SN: 10071-19000

2шт.

23

08061-00000

SWITCH,PREHEATER

SN: 15596-UP

1шт.

|23

22-400345-01

SWITCH,PREHEATER

SN: 6001-15595

1шт.

|24

154-06-00051

NAME PLATE ASS'Y

SN: 10011-15595

1шт.

|24

154-06-00050

NAME PLATE ASS'Y

SN: 10001-10010

1шт.

|24

154-06-00060

NAME PLATE ASS'Y

SN: 10000-10000

1шт.

24

09609-04007

PLATE¤ NAME,PREHEATER SWITCH

SN: 6001-15595

1шт.

25

09609-04008

PLATE¤ NAME,LAMP SWITCH

SN: 6001-15595

1шт.

26

09609-04009

PLATE¤ NAME,CIRCUIT BREAKER

SN: 6001-15595

1шт.

27

09609-04012

PLATE¤ NAME,FUSE BOX

SN: 6001-15595

1шт.

28

150-06-12290

PLATE¤ NAME

SN: 6001-15595

1шт.

29

154-06-13880

TUBE

SN: 10011-15595

1шт.

Выбрано товаров: 52