Запчасти Komatsu NH-220-CI-2L ТРУБОПРОВОД ВПУСКА ВОЗДУХА И СОЕДИН-Е ГОЛОВКА ЦИЛИНДРОВ

Схема запчастей Komatsu NH-220-CI-2L - ТРУБОПРОВОД ВПУСКА ВОЗДУХА И СОЕДИН-Е ГОЛОВКА ЦИЛИНДРОВ
FIT
1:1
100%

Артикул

Название

Примечание

Количество

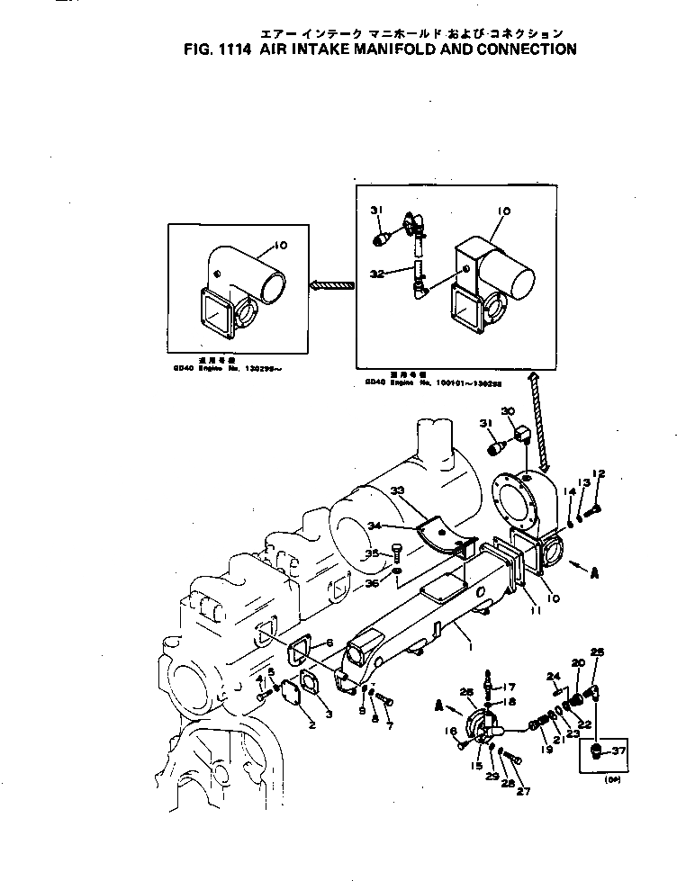
1

6682-13-4110

MANIFOLD,AIR INTAKE

SN: 100101-UP

1шт.

2

6685-11-4850

COVER

SN: 100101-UP

1шт.

3

6127-11-4640

GASKET (K1)

SN: 100101-UP

1шт.

4

01010-31025

BOLT

SN: 100101-UP

4шт.

5

01602-01030

WASHER,SPRING

SN: 100101-UP

4шт.

6

6610-11-4812

GASKET (K1)

SN: 100101-UP

3шт.

|6

0

GASKET (K1)

SN: (100101-151513)

3шт.

7

6645-13-4191

BOLT

SN: 100101-UP

9шт.

8

02310-11224

WASHER,SPRING

SN: 100101-UP

9шт.

9

02300-11320

WASHER

SN: 100101-UP

9шт.

10

6691-11-4210

CONNECTOR,AIR INTAKE

SN: 100101-UP

1шт.

11

6682-13-4320

GASKET (K1)

SN: 100101-UP

1шт.

12

01010-31245

BOLT

SN: 100101-UP

4шт.

13

01602-01236

WASHER,SPRING

SN: 100101-UP

4шт.

14

01640-21223

WASHER

SN: 100101-UP

4шт.

15

6675-11-4950

COVER,COLD START

SN: 100101-UP

1шт.

16

6610-21-2720

PLUG

SN: 100101-UP

1шт.

17

600-815-2110

GLOW PLUG,PREHEATER

SN: .-UP

1шт.

|17

6610-81-4211

GLOW PLUG ASS'Y,PREHEATER

SN: 100101-.

1шт.

18

600-815-2190

GASKET

SN: .-UP

1шт.

|18

6610-81-4230

GASKET

SN: 100101-.

1шт.

|19

6610-81-4103

NOZZLE ASS'Y,PREHEATER

SN: 100101-UP

1шт.

19

6610-81-4112

NOZZLE ASS'Y

SN: 100101-UP

1шт.

20

6610-81-4132

ADAPTER

SN: 100101-UP

1шт.

21

6610-81-4120

PLATE

SN: 100101-UP

1шт.

22

6610-81-4150

GASKET

SN: 100101-UP

1шт.

23

6610-81-4240

O-RING

SN: 100101-UP

1шт.

24

6610-81-4140

PIN,SPRING

SN: 100101-UP

1шт.

25

6610-81-8820

ELBOW,PRIMING PUMP

SN: 100101-UP

1шт.

26

6675-11-4960

GASKET (K1)

SN: 100101-UP

1шт.

27

01010-30825

BOLT

SN: 100101-UP

4шт.

28

01602-00825

WASHER,SPRING

SN: 100101-UP

4шт.

29

01640-20816

WASHER

SN: 100101-UP

4шт.

30

6110-83-9620

ADAPTER

SN: 100101-119082

1шт.

31

08670-00635

INDICATOR,DUST

SN: 119083-UP

1шт.

|31

0

INDICATOR,DUST

SN: 100101-119082

1шт.

33

6691-11-4510

BRACKET,AIR CLEANER

SN: 100101-UP

1шт.

34

6691-11-4520

FELT

SN: 100101-UP

1шт.

35

01010-31025

BOLT

SN: 100101-UP

2шт.

36

01602-01030

WASHER,SPRING

SN: 100101-UP

2шт.

1

6682-13-4110

MANIFOLD,AIR INTAKE

SN: 100101-UP

1шт.

2

6685-11-4850

COVER

SN: 100101-UP

1шт.

3

6127-11-4640

GASKET (K1)

SN: 100101-UP

1шт.

4

01010-31025

BOLT

SN: 100101-UP

4шт.

5

01602-01030

WASHER,SPRING

SN: 100101-UP

4шт.

6

6610-11-4812

GASKET (K1)

SN: 100101-UP

3шт.

|6

0

GASKET (K1)

SN: (100101-151513)

3шт.

7

6645-13-4191

BOLT

SN: 100101-UP

9шт.

8

02310-11224

WASHER,SPRING

SN: 100101-UP

9шт.

9

02300-11320

WASHER

SN: 100101-UP

9шт.

10

6691-11-4210

CONNECTOR,AIR INTAKE

SN: 100101-UP

1шт.

11

6682-13-4320

GASKET (K1)

SN: 100101-UP

1шт.

12

01010-31245

BOLT

SN: 100101-UP

4шт.

13

01602-01236

WASHER,SPRING

SN: 100101-UP

4шт.

14

01640-21223

WASHER

SN: 100101-UP

4шт.

15

6675-11-4950

COVER,COLD START

SN: 100101-UP

1шт.

16

6610-21-2720

PLUG

SN: 100101-UP

1шт.

17

600-815-2110

GLOW PLUG,PREHEATER

SN: .-UP

1шт.

|17

6610-81-4211

GLOW PLUG ASS'Y,PREHEATER

SN: 100101-.

1шт.

18

600-815-2190

GASKET

SN: .-UP

1шт.

|18

6610-81-4230

GASKET

SN: 100101-.

1шт.

|19

6610-81-4103

NOZZLE ASS'Y,PREHEATER

SN: 100101-UP

1шт.

19

6610-81-4112

NOZZLE ASS'Y

SN: 100101-UP

1шт.

20

6610-81-4132

ADAPTER

SN: 100101-UP

1шт.

21

6610-81-4120

PLATE

SN: 100101-UP

1шт.

22

6610-81-4150

GASKET

SN: 100101-UP

1шт.

23

6610-81-4240

O-RING

SN: 100101-UP

1шт.

24

6610-81-4140

PIN,SPRING

SN: 100101-UP

1шт.

25

6610-81-8820

ELBOW,PRIMING PUMP

SN: 100101-UP

1шт.

26

6675-11-4960

GASKET (K1)

SN: 100101-UP

1шт.

27

01010-30825

BOLT

SN: 100101-UP

4шт.

28

01602-00825

WASHER,SPRING

SN: 100101-UP

4шт.

29

01640-20816

WASHER

SN: 100101-UP

4шт.

30

6110-83-9620

ADAPTER

SN: 100101-119082

1шт.

31

08670-00635

INDICATOR,DUST

SN: 119083-UP

1шт.

|31

0

INDICATOR,DUST

SN: 100101-119082

1шт.

33

6691-11-4510

BRACKET,AIR CLEANER

SN: 100101-UP

1шт.

34

6691-11-4520

FELT

SN: 100101-UP

1шт.

35

01010-31025

BOLT

SN: 100101-UP

2шт.

36

01602-01030

WASHER,SPRING

SN: 100101-UP

2шт.

Выбрано товаров: 80