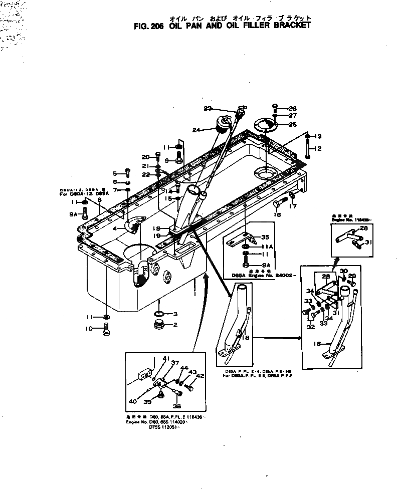
Запчасти Komatsu NH-220-CI-1L МАСЛЯНЫЙ ПОДДОН И МАСЛОНАЛИВНОЙ ПАТРУБОК КОРПУС БЛОК ЦИЛИНДРОВ

Схема запчастей Komatsu NH-220-CI-1L - МАСЛЯНЫЙ ПОДДОН И МАСЛОНАЛИВНОЙ ПАТРУБОК КОРПУС БЛОК ЦИЛИНДРОВ
FIT
1:1
100%

Артикул

Название

Примечание

Количество

1

6691-21-5114

PAN,OIL

SN: 30180-UP

1шт.

1

6691-21-5113

PAN,OIL

SN: 24212-30179

1шт.

1

6691-21-5111

PAN,OIL

SN: 8820-24211

1шт.

1

6691-21-5110

PAN,OIL

SN: 8019-8819

1шт.

2

07044-13620

PLUG,DRAIN

SN: 31949-UP

1шт.

2

07044-03620

PLUG,DRAIN

SN: 8019-31948

1шт.

3

07000-03032

O-RING (K4)

SN: 8019-UP

1шт.

4

6672-22-5520

SCREEN,OIL PAN

SN: 8019-UP

2шт.

5

01212-50612

SCREW

SN: 8019-UP

6шт.

6

01602-00619

WASHER,SPRING

SN: 8019-UP

6шт.

7

01640-20610

WASHER

SN: 8019-UP

6шт.

8

6623-21-5811

GASKET (K4)

SN: 30276-UP

1шт.

8

0

GASKET (K4)

SN: 8019-30275

1шт.

9

6610-21-5720

BOLT

SN: 8019-UP

26шт.

9A

02030-20738

BOLT

SN: 8019-UP

1шт.

10

02010-20732

BOLT

SN: 8019-UP

4шт.

11

01602-01134

WASHER,SPRING

SN: 26860-UP

31шт.

11

02310-11428

WASHER,SPRING

SN: 8019-26859

31шт.

12

02030-30570

BOLT

SN: 8019-UP

4шт.

13

02310-11020

WASHER,SPRING

SN: 8019-.

4шт.

14

01010-30825

BOLT

SN: 31949-UP

1шт.

14

01000-30825

BOLT

SN: 8019-31948

1шт.

15

01602-00825

WASHER,SPRING

SN: 8019-UP

1шт.

16

01010-31235

BOLT

SN: 8019-UP

5шт.

17

01602-01236

WASHER,SPRING

SN: 8019-UP

5шт.

18

6693-22-5411

BRACKET,OIL FILLER

SN: 15057-UP

1шт.

18

6693-22-5410

BRACKET,OIL FILLER

SN: 8019-15056

1шт.

19

6643-21-5421

GASKET (K4)

SN: 8019-UP

1шт.

20

01010-31230

BOLT

SN: 8019-UP

2шт.

21

01602-01236

WASHER,SPRING

SN: 8019-UP

2шт.

22

01641-21223

WASHER

SN: 8019-UP

1шт.

23

6693-22-5302

OIL GAUGE ASS'Y

SN: 31950-UP

1шт.

23

6693-22-5301

OIL GAUGE ASS'Y

SN: 15057-31949

1шт.

23

6693-22-5300

OIL GAUGE ASS'Y

SN: 8019-15056

1шт.

24

6610-21-7200

CAP,FILLER

SN: 8019-UP

1шт.

25

6643-21-5520

SCREEN,OIL PAN

SN: 8019-UP

1шт.

26

01010-30612

BOLT

SN: 8019-UP

4шт.

27

01602-00619

WASHER,SPRING

SN: 8019-UP

4шт.

36

6610-21-5730

CLAMP,(NOT SHOWN)

SN: 32972-UP

1шт.

1

6691-21-5114

PAN,OIL

SN: 30180-UP

1шт.

1

6691-21-5113

PAN,OIL

SN: 24212-30179

1шт.

1

6691-21-5111

PAN,OIL

SN: 8820-24211

1шт.

1

6691-21-5110

PAN,OIL

SN: 8019-8819

1шт.

2

07044-13620

PLUG,DRAIN

SN: 31949-UP

1шт.

2

07044-03620

PLUG,DRAIN

SN: 8019-31948

1шт.

3

07000-03032

O-RING (K4)

SN: 8019-UP

1шт.

4

6672-22-5520

SCREEN,OIL PAN

SN: 8019-UP

2шт.

5

01212-50612

SCREW

SN: 8019-UP

6шт.

6

01602-00619

WASHER,SPRING

SN: 8019-UP

6шт.

7

01640-20610

WASHER

SN: 8019-UP

6шт.

8

6623-21-5811

GASKET (K4)

SN: 30276-UP

1шт.

8

0

GASKET (K4)

SN: 8019-30275

1шт.

9

6610-21-5720

BOLT

SN: 8019-UP

26шт.

9A

02030-20738

BOLT

SN: 8019-UP

1шт.

10

02010-20732

BOLT

SN: 8019-UP

4шт.

11

01602-01134

WASHER,SPRING

SN: 26860-UP

31шт.

11

02310-11428

WASHER,SPRING

SN: 8019-26859

31шт.

12

02030-30570

BOLT

SN: 8019-UP

4шт.

13

02310-11020

WASHER,SPRING

SN: 8019-.

4шт.

14

01010-30825

BOLT

SN: 31949-UP

1шт.

14

01000-30825

BOLT

SN: 8019-31948

1шт.

15

01602-00825

WASHER,SPRING

SN: 8019-UP

1шт.

16

01010-31235

BOLT

SN: 8019-UP

5шт.

17

01602-01236

WASHER,SPRING

SN: 8019-UP

5шт.

18

6693-22-5411

BRACKET,OIL FILLER

SN: 15057-UP

1шт.

18

6693-22-5410

BRACKET,OIL FILLER

SN: 8019-15056

1шт.

19

6643-21-5421

GASKET (K4)

SN: 8019-UP

1шт.

20

01010-31230

BOLT

SN: 8019-UP

2шт.

21

01602-01236

WASHER,SPRING

SN: 8019-UP

2шт.

22

01641-21223

WASHER

SN: 8019-UP

1шт.

23

6693-22-5302

OIL GAUGE ASS'Y

SN: 31950-UP

1шт.

23

6693-22-5301

OIL GAUGE ASS'Y

SN: 15057-31949

1шт.

23

6693-22-5300

OIL GAUGE ASS'Y

SN: 8019-15056

1шт.

24

6610-21-7200

CAP,FILLER

SN: 8019-UP

1шт.

25

6643-21-5520

SCREEN,OIL PAN

SN: 8019-UP

1шт.

26

01010-30612

BOLT

SN: 8019-UP

4шт.

27

01602-00619

WASHER,SPRING

SN: 8019-UP

4шт.

36

6610-21-5730

CLAMP,(NOT SHOWN)

SN: 32972-UP

1шт.

Выбрано товаров: 78