Запчасти Komatsu NH-220-CI-1L АНТИКОРРОЗ. ЭЛЕМЕНТ ОХЛАЖД-Е И ЭЛЕКТРИКАS

Схема запчастей Komatsu NH-220-CI-1L - АНТИКОРРОЗ. ЭЛЕМЕНТ ОХЛАЖД-Е И ЭЛЕКТРИКАS
FIT
1:1
100%

Артикул

Название

Примечание

Количество

|$0

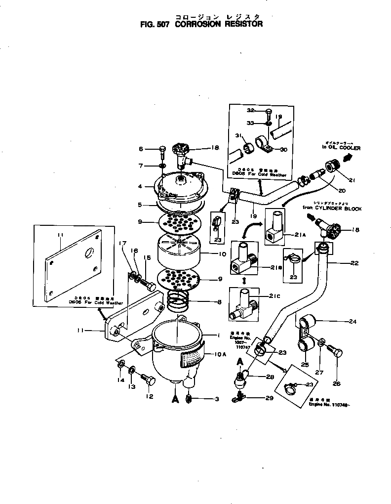
6610-61-8100

RESISTOR ASS'Y,CORROSION

SN: 8019-UP

1шт.

1

6610-61-8111

BODY

SN: 8019-UP

1шт.

3

6610-51-4520

PLUG,DRAIN

SN: 8019-UP

2шт.

4

6610-61-8121

COVER

SN: 8019-UP

1шт.

5

6610-61-8130

GASKET

SN: 8019-UP

1шт.

6

02010-20532

BOLT

SN: 8019-UP

2шт.

7

02300-11120

WASHER

SN: 8019-UP

2шт.

8

6610-61-8150

SPRING

SN: 8019-UP

1шт.

9

6610-61-8140

PLATE,MAGNESIUM

SN: 8019-UP

2шт.

10

6610-61-8210

ELEMENT,CORROSION RESISTOR

SN: 8019-UP

1шт.

10A

09647-00125

PLATE, INSTRUCTION,(JAPANESE-ENGLISH)

SN: 35090-UP

1шт.

10A

0

PLATE, INSTRUCTION,(JAPANESE-ENGLISH)

SN: 8019-35089

1шт.

11

6643-21-6110

BRACKET,CORROSION RESISTOR

SN: 8019-UP

1шт.

12

01010-31240

BOLT

SN: 8019-UP

2шт.

13

01602-01236

WASHER,SPRING

SN: 8019-UP

2шт.

14

01640-21223

WASHER

SN: 8019-UP

2шт.

15

02010-20832

BOLT

SN: 8019-UP

2шт.

16

02310-11632

WASHER,SPRING

SN: 8019-UP

2шт.

17

02300-11730

WASHER

SN: 8019-UP

2шт.

18

6610-61-8411

VALVE,SHUT-OFF

SN: 31949-UP

2шт.

18

6610-61-8410

VALVE,SHUT-OFF

SN: 8019-31948

2шт.

19

6691-61-8520

HOSE,OUTLET

SN: 8019-UP

2шт.

20

6610-61-8610

CONNECTOR

SN: 8019-15056

1шт.

21B

0

CONNECTOR

SN: (15057-.)

1шт.

21B

6672-62-8670

CONNECTOR

SN: 8019-15056

1шт.

21C

6631-61-8670

CONNECTOR

SN: 15057-UP

1шт.

22

6643-61-8510

HOSE,OUTLET

SN: 8019-UP

1шт.

23

07280-02523

CLAMP

SN: 8019-UP

4шт.

24

6643-61-8550

CLAMP

SN: 8019-UP

2шт.

25

6643-61-8560

FELT

SN: 8019-UP

2шт.

26

02010-20825

BOLT

SN: 8019-UP

1шт.

27

02310-11632

WASHER,SPRING

SN: 8019-UP

1шт.

|$32

6610-61-8061

VALVE ASS'Y

SN: 31949-UP

1шт.

|$33

6610-61-8060

VALVE ASS'Y

SN: 8019-31948

1шт.

28

6610-61-8622

ELBOW

SN: 31949-UP

1шт.

28

6610-61-8621

ELBOW

SN: 8019-31948

1шт.

29

6600-01-3920

VALVE,DRAIN

SN: 8019-UP

1шт.

|$0

6610-61-8100

RESISTOR ASS'Y,CORROSION

SN: 8019-UP

1шт.

1

6610-61-8111

BODY

SN: 8019-UP

1шт.

3

6610-51-4520

PLUG,DRAIN

SN: 8019-UP

2шт.

4

6610-61-8121

COVER

SN: 8019-UP

1шт.

5

6610-61-8130

GASKET

SN: 8019-UP

1шт.

6

02010-20532

BOLT

SN: 8019-UP

2шт.

7

02300-11120

WASHER

SN: 8019-UP

2шт.

8

6610-61-8150

SPRING

SN: 8019-UP

1шт.

9

6610-61-8140

PLATE,MAGNESIUM

SN: 8019-UP

2шт.

10

6610-61-8210

ELEMENT,CORROSION RESISTOR

SN: 8019-UP

1шт.

10A

09647-00125

PLATE, INSTRUCTION,(JAPANESE-ENGLISH)

SN: 35090-UP

1шт.

10A

0

PLATE, INSTRUCTION,(JAPANESE-ENGLISH)

SN: 8019-35089

1шт.

11

6643-21-6110

BRACKET,CORROSION RESISTOR

SN: 8019-UP

1шт.

12

01010-31240

BOLT

SN: 8019-UP

2шт.

13

01602-01236

WASHER,SPRING

SN: 8019-UP

2шт.

14

01640-21223

WASHER

SN: 8019-UP

2шт.

15

02010-20832

BOLT

SN: 8019-UP

2шт.

16

02310-11632

WASHER,SPRING

SN: 8019-UP

2шт.

17

02300-11730

WASHER

SN: 8019-UP

2шт.

18

6610-61-8411

VALVE,SHUT-OFF

SN: 31949-UP

2шт.

18

6610-61-8410

VALVE,SHUT-OFF

SN: 8019-31948

2шт.

19

6691-61-8520

HOSE,OUTLET

SN: 8019-UP

2шт.

20

6610-61-8610

CONNECTOR

SN: 8019-15056

1шт.

21B

0

CONNECTOR

SN: (15057-.)

1шт.

21B

6672-62-8670

CONNECTOR

SN: 8019-15056

1шт.

21C

6631-61-8670

CONNECTOR

SN: 15057-UP

1шт.

22

6643-61-8510

HOSE,OUTLET

SN: 8019-UP

1шт.

23

07280-02523

CLAMP

SN: 8019-UP

4шт.

24

6643-61-8550

CLAMP

SN: 8019-UP

2шт.

25

6643-61-8560

FELT

SN: 8019-UP

2шт.

26

02010-20825

BOLT

SN: 8019-UP

1шт.

27

02310-11632

WASHER,SPRING

SN: 8019-UP

1шт.

|$32

6610-61-8061

VALVE ASS'Y

SN: 31949-UP

1шт.

|$33

6610-61-8060

VALVE ASS'Y

SN: 8019-31948

1шт.

28

6610-61-8622

ELBOW

SN: 31949-UP

1шт.

28

6610-61-8621

ELBOW

SN: 8019-31948

1шт.

29

6600-01-3920

VALVE,DRAIN

SN: 8019-UP

1шт.

Выбрано товаров: 74