Запчасти Komatsu NH-220-CI-1L КОРПУС ШЕСТЕРЕНН. ПЕРЕДАЧИ КРЫШКАAND ПЕРЕДН. СУППОРТ БЛОК ЦИЛИНДРОВ

Схема запчастей Komatsu NH-220-CI-1L - КОРПУС ШЕСТЕРЕНН. ПЕРЕДАЧИ КРЫШКАAND ПЕРЕДН. СУППОРТ БЛОК ЦИЛИНДРОВ
FIT
1:1
100%

Артикул

Название

Примечание

Количество

|1

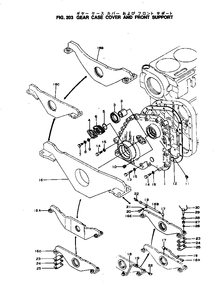
6643-21-3011

COVER ASS'Y,GEAR CASE

SN: 41227-UP

1шт.

|1

0

COVER ASS'Y,GEAR CASE

SN: 8019-41226

1шт.

1

0

COVER,GEAR CASE

SN: 41227-UP

1шт.

|1

0

COVER,GEAR CASE

SN: 8019-41226

1шт.

2

6610-21-3120

BUSHING

SN: 8019-UP

1шт.

3

6610-21-3511

SEAL,OIL¤ PUMP DRIVE (K4)

SN: 8019-UP

1шт.

4

6620-21-3210

PLATE,THRUST¤ CAMSHAFT

SN: 8019-UP

1шт.

5

6620-21-3240

O-RING (K4)

SN: 8019-UP

1шт.

6

6620-21-3040

SHIM ASS'Y,THRUST PLATE (K4)

SN: 8019-UP

1шт.

|6

6620-21-3310

SHIM¤ 0.25MM (K4)

SN: 8019-UP

4шт.

|6

6620-21-3320

SHIM¤ 0.13MM (K4)

SN: 8019-UP

4шт.

|6

6620-21-3330

SHIM¤ 0.05MM (K4)

SN: 8019-UP

4шт.

7

02010-20619

BOLT

SN: 8019-UP

2шт.

8

02310-11224

WASHER,SPRING

SN: 8019-UP

2шт.

9

02300-11320

WASHER

SN: 8019-UP

2шт.

10

02720-20608

PLUG

SN: 8019-UP

1шт.

11

02720-20204

PLUG

SN: 8019-UP

1шт.

12

6685-21-3810

GASKET (K4)

SN: .-UP

1шт.

|12

0

GASKET (K4)

SN: 8019-.

1шт.

13

02030-20764

BOLT

SN: 8019-UP

1шт.

14

02030-20751

BOLT

SN: 8019-UP

15шт.

15

02310-11428

WASHER,SPRING

SN: 8019-UP

16шт.

16A

6691-21-3720

SUPPORT,FRONT

SN: 14459-UP

1шт.

|16A

6691-21-3711

SUPPORT,FRONT

SN: 8019-14458

1шт.

23

6681-20-3931

SHIM ASS'Y,FRONT SUPPORT

SN: 8019-UP

2шт.

|23

6681-23-3941

SHIM¤ 0.2MM

SN: 8019-UP

2шт.

|23

6681-23-3951

SHIM¤ 0.1MM

SN: 8019-UP

1шт.

24

6681-20-3921

SHIM ASS'Y,FRONT SUPPORT

SN: 8019-UP

2шт.

|24

6681-22-3931

SHIM¤ 0.5MM

SN: 8019-UP

2шт.

|24

6681-22-3941

SHIM¤ 0.2MM

SN: 8019-UP

2шт.

|24

6681-22-3951

SHIM¤ 0.15MM

SN: 8019-UP

2шт.

26

6643-21-3982

BUSHING

SN: 8019-UP

4шт.

27

6643-21-3912

BUSHING

SN: 8019-UP

4шт.

28

6643-21-3871

SEAT,FRONT

SN: 8019-UP

4шт.

29

6675-21-3863

BOLT

SN: 8019-UP

4шт.

30

04059-01650

WIRE,LOCK

SN: 8019-UP

2шт.

|1

6643-21-3011

COVER ASS'Y,GEAR CASE

SN: 41227-UP

1шт.

|1

0

COVER ASS'Y,GEAR CASE

SN: 8019-41226

1шт.

1

0

COVER,GEAR CASE

SN: 41227-UP

1шт.

|1

0

COVER,GEAR CASE

SN: 8019-41226

1шт.

2

6610-21-3120

BUSHING

SN: 8019-UP

1шт.

3

6610-21-3511

SEAL,OIL¤ PUMP DRIVE (K4)

SN: 8019-UP

1шт.

4

6620-21-3210

PLATE,THRUST¤ CAMSHAFT

SN: 8019-UP

1шт.

5

6620-21-3240

O-RING (K4)

SN: 8019-UP

1шт.

6

6620-21-3040

SHIM ASS'Y,THRUST PLATE (K4)

SN: 8019-UP

1шт.

|6

6620-21-3310

SHIM¤ 0.25MM (K4)

SN: 8019-UP

4шт.

|6

6620-21-3320

SHIM¤ 0.13MM (K4)

SN: 8019-UP

4шт.

|6

6620-21-3330

SHIM¤ 0.05MM (K4)

SN: 8019-UP

4шт.

7

02010-20619

BOLT

SN: 8019-UP

2шт.

8

02310-11224

WASHER,SPRING

SN: 8019-UP

2шт.

9

02300-11320

WASHER

SN: 8019-UP

2шт.

10

02720-20608

PLUG

SN: 8019-UP

1шт.

11

02720-20204

PLUG

SN: 8019-UP

1шт.

12

6685-21-3810

GASKET (K4)

SN: .-UP

1шт.

|12

0

GASKET (K4)

SN: 8019-.

1шт.

13

02030-20764

BOLT

SN: 8019-UP

1шт.

14

02030-20751

BOLT

SN: 8019-UP

15шт.

15

02310-11428

WASHER,SPRING

SN: 8019-UP

16шт.

16A

6691-21-3720

SUPPORT,FRONT

SN: 14459-UP

1шт.

|16A

6691-21-3711

SUPPORT,FRONT

SN: 8019-14458

1шт.

23

6681-20-3931

SHIM ASS'Y,FRONT SUPPORT

SN: 8019-UP

2шт.

|23

6681-23-3941

SHIM¤ 0.2MM

SN: 8019-UP

2шт.

|23

6681-23-3951

SHIM¤ 0.1MM

SN: 8019-UP

1шт.

24

6681-20-3921

SHIM ASS'Y,FRONT SUPPORT

SN: 8019-UP

2шт.

|24

6681-22-3931

SHIM¤ 0.5MM

SN: 8019-UP

2шт.

|24

6681-22-3941

SHIM¤ 0.2MM

SN: 8019-UP

2шт.

|24

6681-22-3951

SHIM¤ 0.15MM

SN: 8019-UP

2шт.

26

6643-21-3982

BUSHING

SN: 8019-UP

4шт.

27

6643-21-3912

BUSHING

SN: 8019-UP

4шт.

28

6643-21-3871

SEAT,FRONT

SN: 8019-UP

4шт.

29

6675-21-3863

BOLT

SN: 8019-UP

4шт.

30

04059-01650

WIRE,LOCK

SN: 8019-UP

2шт.

Выбрано товаров: 72