Запчасти Komatsu D85A-18 R.O.P.S ЭЛЕКТРИКА КАБИНЫ (/) ОПЦИОННЫЕ КОМПОНЕНТЫ

Схема запчастей Komatsu D85A-18 - R.O.P.S ЭЛЕКТРИКА КАБИНЫ (/) ОПЦИОННЫЕ КОМПОНЕНТЫ
FIT
1:1
100%

Артикул

Название

Примечание

Количество

|$0

154-979-0011

CAB ASS'Y

SN: .-UP

1шт.

|$1

0

CAB ASS'Y

SN: 25001-.

1шт.

|$$3

THESE ASSEMBLIES CONSIST OF ALL PARTS SHOWN IN FIGS.2811 TO 2813 AND 2816 TO 2819.

-1шт.

1

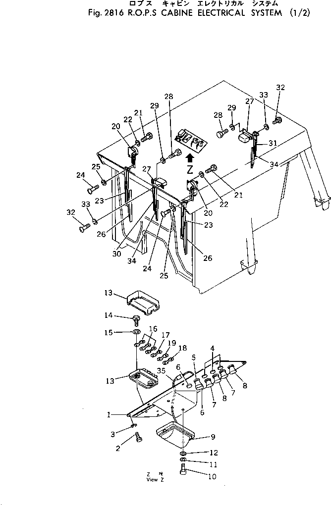
195-979-3361

PLATE

SN: 25001-UP

1шт.

2

01010-30616

BOLT

SN: 25001-UP

9шт.

3

01602-00619

WASHER,SPRING

SN: 25001-UP

9шт.

4

195-979-5380

CAP

SN: 25001-UP

3шт.

5

08060-00040

SWITCH

SN: 25001-UP

1шт.

6

195-979-3270

CAP

SN: 25001-UP

2шт.

7

08183-00000

SWITCH

SN: 25001-UP

2шт.

8

195-979-3140

SWITCH

SN: 25001-UP

2шт.

9

08142-32400

LAMP ASS'Y

SN: 25001-UP

1шт.

9

08110-12410

BULB, 12W

SN: 25001-UP

1шт.

10

01010-30616

BOLT

SN: 25001-UP

2шт.

11

01602-00619

WASHER,SPRING

SN: 25001-UP

2шт.

12

01643-30623

WASHER

SN: 25001-UP

2шт.

13

175-06-35430

BOX

SN: 25001-UP

1шт.

14

01220-30616

SCREW

SN: 25001-UP

2шт.

15

01611-06063

WASHER

SN: 25001-UP

2шт.

16

175-06-35420

FUSE, 10A

SN: 25001-UP

3шт.

17

175-06-35410

FUSE, 20A

SN: 25001-UP

1шт.

18

175-06-35390

FUSE, 30A

SN: 25001-UP

1шт.

19

175-06-35380

FUSE, 40A

SN: 25001-UP

1шт.

20

195-979-3120

WIPER MOTOR ASS'Y

SN: 25001-UP

2шт.

21

01010-30616

BOLT

SN: 25001-UP

8шт.

22

01602-00619

WASHER,SPRING

SN: 25001-UP

8шт.

23

195-979-3170

ARM

SN: 25001-UP

2шт.

24

01220-30616

SCREW

SN: 25001-UP

2шт.

25

01601-00619

WASHER,SPRING

SN: 25001-UP

2шт.

26

195-979-3150

BLADE

SN: 25001-UP

2шт.

27

195-979-3130

WIPER MOTOR ASS'Y

SN: 25001-UP

2шт.

28

01010-30616

BOLT

SN: 25001-UP

12шт.

29

01602-00619

WASHER,SPRING

SN: 25001-UP

12шт.

30

175-979-3160

ARM

SN: 25001-UP

1шт.

31

08184-01500

ARM

SN: 25001-UP

1шт.

32

01220-30616

SCREW

SN: 25001-UP

2шт.

33

01601-00619

WASHER

SN: 25001-UP

2шт.

34

08185-00400

BLADE

SN: 25001-UP

2шт.

35

195-Z79-1270

CABLE

SN: 25001-UP

1шт.

Выбрано товаров: 39