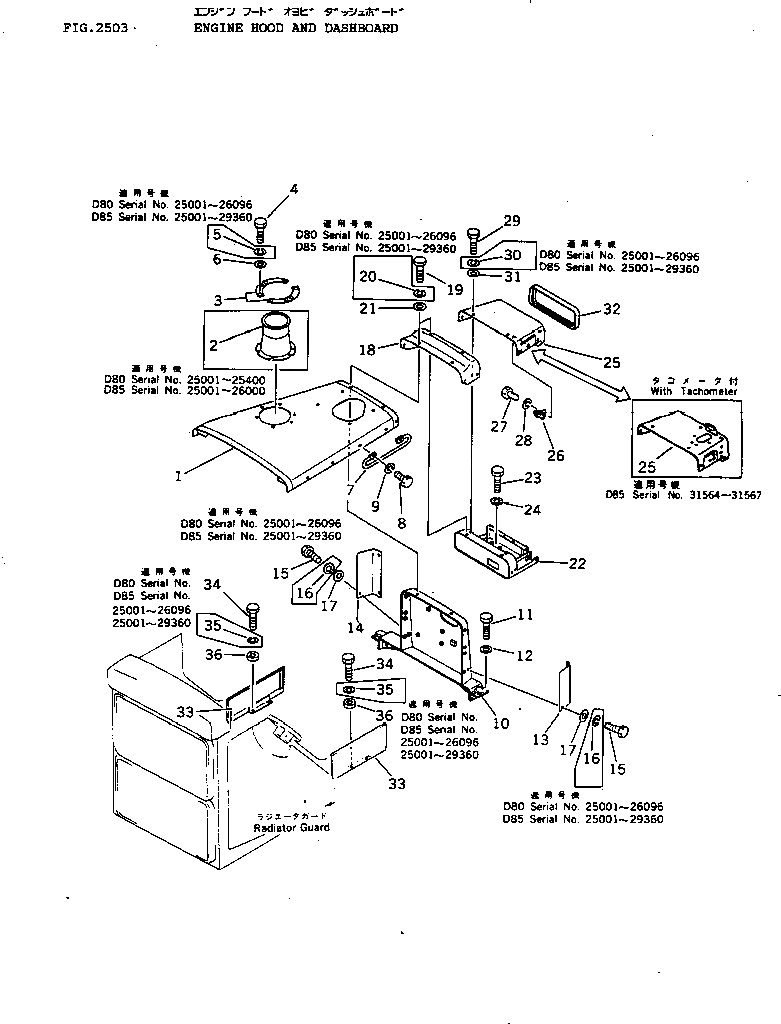
Запчасти Komatsu D85A-18 КАПОТ И ПРИБОРНАЯ ПАНЕЛЬ ЧАСТИ КОРПУСА

Схема запчастей Komatsu D85A-18 - КАПОТ И ПРИБОРНАЯ ПАНЕЛЬ ЧАСТИ КОРПУСА
FIT
1:1
100%

Артикул

Название

Примечание

Количество

1

154-54-11218

HOOD

SN: 26001-UP

1шт.

1

154-54-11217

HOOD

SN: 25001-26000

1шт.

2

154-54-12762

COVER

SN: 25001-26000

1шт.

3

154-54-14610

PLATE

SN: 25001-UP

2шт.

4

01010-51240

BOLT

SN: 25001-UP

6шт.

5

01602-21236

WASHER,SPRING

SN: 25001-29360

6шт.

6

01643-31232

WASHER

SN: 25001-UP

6шт.

7

09420-01903

HANDLE

SN: 25001-UP

2шт.

8

01010-51235

BOLT

SN: 25001-UP

4шт.

9

01602-21236

WASHER,SPRING

SN: 25001-UP

4шт.

10

154-54-12891

FRAME

SN: 25001-UP

1шт.

11

01010-51640

BOLT

SN: 25001-UP

10шт.

12

01643-31645

WASHER

SN: 25001-UP

10шт.

13

154-54-12931

COVER,L.H.

SN: 25001-UP

1шт.

14

154-54-12941

COVER,R.H.

SN: 25001-UP

1шт.

15

01010-51230

BOLT

SN: 25001-UP

6шт.

16

01602-21236

WASHER,SPRING

SN: 25001-29360

6шт.

17

01643-31232

WASHER

SN: 25001-UP

6шт.

18

154-54-12462

COVER

SN: 25001-UP

1шт.

18

154-55-31520

DASHBOARD,(WITH TACHOMETER)

SN: 31564-31567

1шт.

19

01010-51230

BOLT

SN: 25001-UP

8шт.

20

01602-21236

WASHER,SPRING

SN: 25001-29360

8шт.

21

175-54-34170

WASHER

SN: 29361-UP

8шт.

21

0

WASHER

SN: 25001-29360

8шт.

22

154-54-12422

DASHBOARD

SN: 25001-UP

1шт.

23

01010-51225

BOLT

SN: 25001-UP

4шт.

24

01602-21236

WASHER,SPRING

SN: 25001-UP

4шт.

25

154-54-12392

COVER

SN: 25001-UP

1шт.

25

154-55-31530

COVER,(WITH TACHOMETER)

SN: 31564-31567

1шт.

26

175-54-33940

LOCK ASS'Y

SN: 25001-UP

1шт.

27

01010-50812

BOLT

SN: 25001-UP

1шт.

28

01602-20825

WASHER,SPRING

SN: 25001-UP

1шт.

29

01010-51225

BOLT

SN: 25001-UP

6шт.

30

01602-21236

WASHER,SPRING

SN: 25001-29360

6шт.

31

01643-31232

WASHER

SN: 25001-UP

6шт.

32

154-54-12831

STRIP

SN: 25001-UP

1шт.

33

154-54-11225

COVER

SN: 25001-UP

2шт.

34

01010-51230

BOLT

SN: 29361-UP

4шт.

34

0

BOLT

SN: 25001-29360

4шт.

35

01602-21236

WASHER,SPRING

SN: 25001-UP

4шт.

36

175-54-21340

WASHER

SN: 25001-UP

4шт.

Выбрано товаров: 41