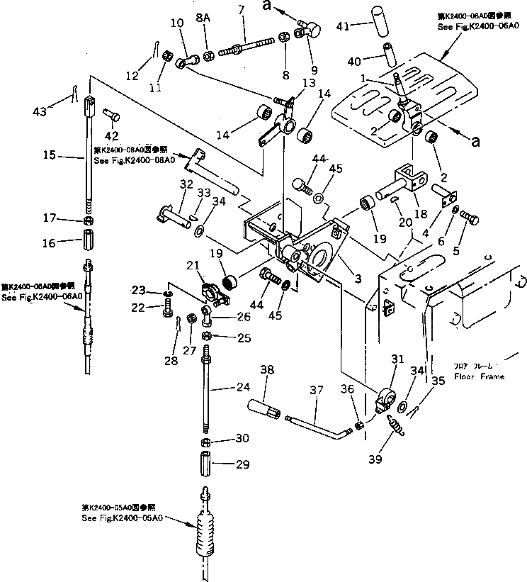
Запчасти Komatsu D85A-21-E РЫЧАГ УПРАВЛ-Я ТРАНСМИССИЕЙ КАБИНА ОПЕРАТОРА И СИСТЕМА УПРАВЛЕНИЯ

Схема запчастей Komatsu D85A-21-E - РЫЧАГ УПРАВЛ-Я ТРАНСМИССИЕЙ КАБИНА ОПЕРАТОРА И СИСТЕМА УПРАВЛЕНИЯ
FIT
1:1
100%

Артикул

Название

Примечание

Количество

G-1

0

CONTROL GROUP,TRANSMISSION

SN: 36534-UP

1шт.

|$$2

====================

-1шт.

1

195-43-43150

LEVER

SN: 36534-UP

1шт.

2

195-61-34120

BEARING

SN: 36534-UP

2шт.

3

154-43-43130

BRACKET

SN: 36534-UP

1шт.

4

195-43-43170

PIN

SN: 36534-UP

1шт.

5

01010-80616

BOLT

SN: 36534-UP

1шт.

6

01643-30623

WASHER

SN: 36534-UP

1шт.

7

113-43-11530

ROD

SN: 36534-UP

1шт.

8

01580-10806

NUT

SN: 36534-UP

1шт.

8A

01508-40805

NUT

SN: 36534-UP

1шт.

9

04256-00816

JOINT,BALL

SN: 36534-UP

1шт.

10

04250-90847

END,ROD

SN: 36534-UP

1шт.

11

01590-10809

NUT

SN: 36534-UP

1шт.

12

04050-12015

PIN,COTTER

SN: 36534-UP

1шт.

13

154-43-43150

LEVER

SN: 36534-UP

1шт.

14

195-43-43190

BEARING

SN: 36534-UP

2шт.

15

195-43-41580

ROD

SN: 36534-UP

1шт.

16

144-43-51130

JOINT

SN: 36534-UP

1шт.

17

01508-20805

NUT

SN: 36534-UP

1шт.

|$$21

====================

-1шт.

G-2

0

CONTROL GROUP,F-R

SN: 36534-UP

1шт.

|$$23

====================

-1шт.

18

154-43-43210

YOKE

SN: 36534-UP

1шт.

19

195-43-43190

BEARING

SN: 36534-UP

2шт.

20

04010-00519

KEY

SN: 36534-UP

1шт.

21

154-43-43220

LEVER

SN: 36534-UP

1шт.

22

01010-80830

BOLT

SN: 36534-UP

1шт.

23

01602-20825

WASHER,SPRING

SN: 36534-UP

1шт.

24

04248-31028

ROD

SN: 36534-UP

1шт.

25

01582-11008

NUT

SN: 36534-UP

1шт.

26

04250-81056

END

SN: 36534-UP

1шт.

27

01593-11008

NUT

SN: 36534-UP

1шт.

28

04050-12018

PIN,COTTER

SN: 36534-UP

1шт.

29

178-43-12180

BUCKLE,TURN

SN: 36534-UP

1шт.

30

01508-21006

NUT,L.H. THREAD

SN: 36534-UP

1шт.

|$$37

====================

-1шт.

G-3

0

LOCK GROUP,TRANSMISSION

SN: 36534-UP

1шт.

|$$39

====================

-1шт.

31

195-43-43241

LEVER

SN: 36534-UP

1шт.

32

154-43-43260

PIN

SN: 36534-UP

1шт.

33

04010-00519

KEY

SN: 36534-UP

1шт.

34

01640-21626

WASHER

SN: 36534-UP

2шт.

35

04050-14025

PIN,COTTER

SN: 36534-UP

1шт.

|$$45

====================

-1шт.

36

195-43-43370

NUT

SN: 36534-UP

1шт.

37

195-43-43360

LEVER

SN: 36534-UP

1шт.

|37

195-43-43390

LEVER,(TBG SPEC.)

SN: 36534-UP

1шт.

38

09305-00800

KNOB

SN: 36534-UP

1шт.

39

195-43-43260

SPRING

SN: 36534-UP

1шт.

|39

195-43-43410

SPRING,(TBG SPEC.)

SN: 36534-UP

1шт.

40

09361-01460

BUSHING

SN: 36534-UP

1шт.

41

09304-01240

KNOB

SN: 36534-UP

1шт.

42

04205-10822

PIN

SN: 36534-UP

1шт.

43

04050-12015

PIN,COTTER

SN: 36534-UP

1шт.

44

01010-81225

BOLT

SN: 36534-UP

4шт.

45

01643-31232

WASHER

SN: 36534-UP

4шт.

Выбрано товаров: 0