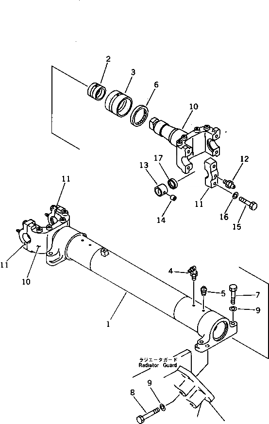
Запчасти Komatsu D85A-21-E ОПОРА ЦИЛИНДРА ЧАСТИ КОРПУСА

Схема запчастей Komatsu D85A-21-E - ОПОРА ЦИЛИНДРА ЧАСТИ КОРПУСА
FIT
1:1
100%

Артикул

Название

Примечание

Количество

|1

154-61-00080

CYLINDER STAY ASS'Y

SN: 36534-UP

1шт.

1

0

STAY,CYLINDER

SN: 36534-UP

1шт.

2

154-61-13130

BUSHING

SN: 36534-UP

2шт.

3

154-61-13141

BUSHING

SN: 36534-UP

2шт.

4

07020-00675

FITTING,GREASE

SN: 36534-UP

2шт.

5

07042-10108

PLUG

SN: 36534-UP

2шт.

6

154-61-13150

SEAL,DUST

SN: 36534-UP

2шт.

7

01010-62295

BOLT

SN: 36534-UP

4шт.

8

01011-62245

BOLT

SN: 36534-UP

4шт.

9

01643-32260

WASHER

SN: 36534-UP

8шт.

|10

154-61-00015

YOKE ASS'Y

SN: 36534-UP

2шт.

10

0

YOKE

SN: 36534-UP

1шт.

11

0

CAP

SN: 36534-UP

2шт.

12

07020-00000

FITTING,GREASE

SN: 36534-UP

2шт.

13

154-61-13246

BUSHING

SN: 36534-UP

2шт.

13A

154-61-13330

PLUG (WELDED)

SN: 36534-UP

2шт.

14

170-70-15190

PIN

SN: 36534-UP

2шт.

15

01010-61885

BOLT

SN: 36534-UP

4шт.

16

01643-31845

WASHER

SN: 36534-UP

4шт.

17

07145-00075

SEAL,DUST

SN: 36534-UP

2шт.

Выбрано товаров: 20