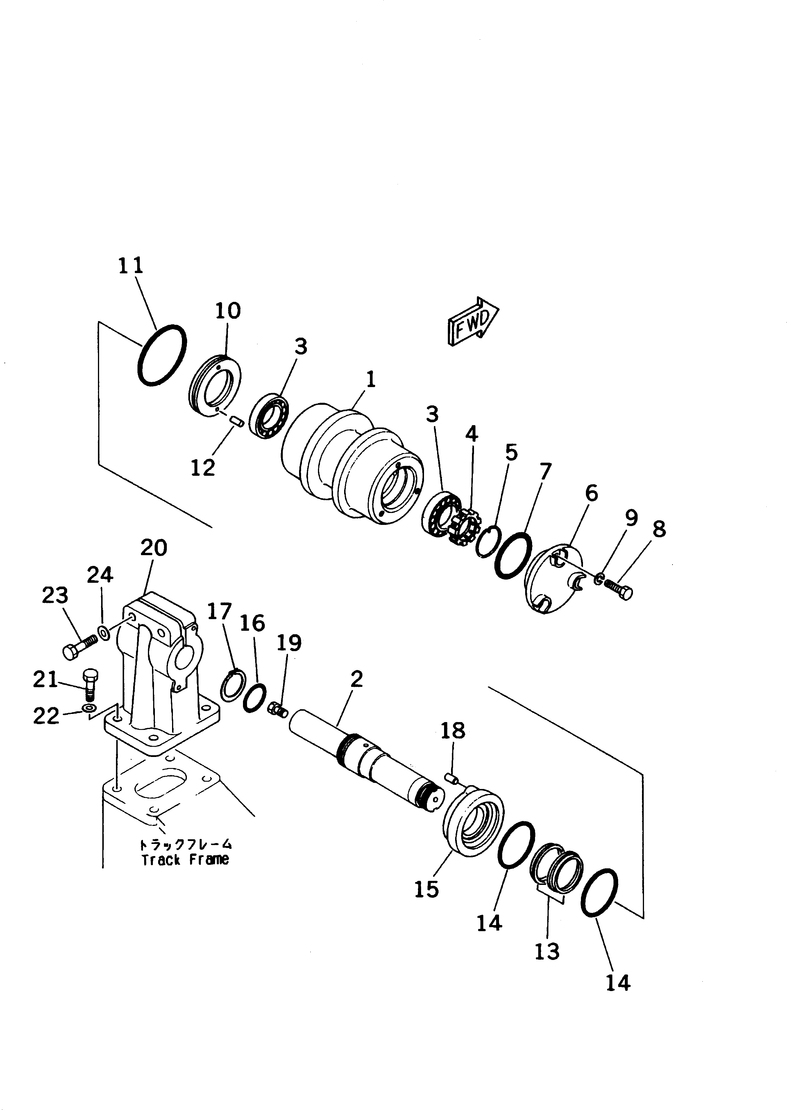
Запчасти Komatsu D85A-21-E ПОДДЕРЖИВАЮЩИЙ КАТОК ГУСЕНИЦЫ

Схема запчастей Komatsu D85A-21-E - ПОДДЕРЖИВАЮЩИЙ КАТОК ГУСЕНИЦЫ
FIT
1:1
100%

Артикул

Название

Примечание

Количество

|1

155-30-00233

CARRIER ROLLER ASS'Y

SN: 36534-UP

4шт.

1

154-30-25111

ROLLER

SN: 36534-UP

1шт.

2

150-30-14312

SHAFT

SN: 36534-UP

1шт.

3

06000-30211

BEARING

SN: 36534-UP

2шт.

4

150-30-14420

NUT

SN: 36534-UP

1шт.

5

150-30-14430

RING

SN: 36534-UP

1шт.

6

154-30-25121

COVER

SN: 36534-UP

1шт.

7

07000-12105

O-RING

SN: 36534-UP

1шт.

8

01010-81230

BOLT

SN: 36534-UP

3шт.

9

01602-21236

WASHER

SN: 36534-UP

3шт.

10

154-30-25220

COLLAR

SN: 36534-UP

1шт.

11

07000-12125

O-RING

SN: 36534-UP

1шт.

12

04020-00616

PIN

SN: 36534-UP

2шт.

|13

154-30-00831

FLOATING SEAL ASS'Y

SN: 36534-UP

1шт.

13

0

RING

SN: 36534-UP

2шт.

14

0

O-RING

SN: 36534-UP

2шт.

15

154-30-25230

COLLAR

SN: 36534-UP

1шт.

16

07000-03062

O-RING

SN: 36534-UP

1шт.

17

150-30-14320

RING

SN: 36534-UP

1шт.

18

155-30-15150

PIN

SN: 36534-UP

2шт.

19

07052-31624

PLUG

SN: 36534-UP

1шт.

20

154-30-11292

SUPPORT

SN: 36534-UP

4шт.

21

01010-82060

BOLT

SN: 36534-UP

16шт.

|22

01010-72060

,(SALTY RESISTANT)

SN: 37663-UP

16шт.

22

01643-32060

WASHER

SN: 36534-UP

16шт.

23

01010-82080

BOLT

SN: 36534-UP

8шт.

|24

01010-72080

,(SALTY RESISTANT)

SN: 37663-UP

8шт.

24

01643-32060

WASHER

SN: 36534-UP

8шт.

Выбрано товаров: 28