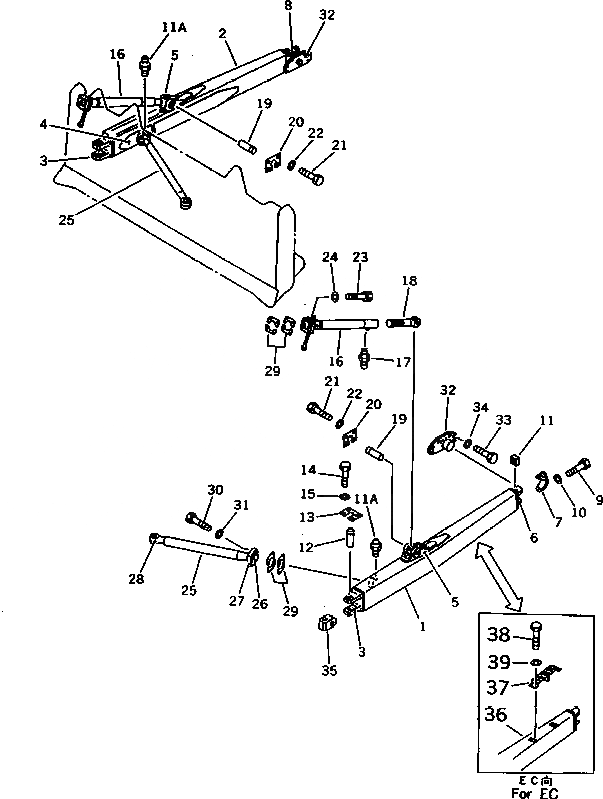
Запчасти Komatsu D85A-21-E ПРЯМ. РАМА РАБОЧЕЕ ОБОРУДОВАНИЕ

Схема запчастей Komatsu D85A-21-E - ПРЯМ. РАМА РАБОЧЕЕ ОБОРУДОВАНИЕ
FIT
1:1
100%

Артикул

Название

Примечание

Количество

G-1

0

FRAME GROUP,STRAIGHT

SN: 36534-UP

1шт.

|$$2

====================

-1шт.

|1

154-71-00081

FRAME ASS'Y,L.H.

SN: 36534-UP

1шт.

|1

154-71-00150

FRAME ASS'Y,R.H.

SN: 36534-UP

1шт.

1

0

FRAME,L.H.

SN: 36534-UP

1шт.

2

0

FRAME,R.H.

SN: 36534-UP

1шт.

3

154-71-22231

BRACKET (WELDED)

SN: 36534-UP

1шт.

4

154-71-31510

BRACKET,L.H. (WELDED)

SN: 36534-UP

1шт.

|4

154-71-31610

BRACKET,R.H. (WELDED)

SN: 36534-UP

1шт.

5

175-71-31650

BRACKET,L.H. (WELDED)

SN: 36534-UP

1шт.

|5

154-71-31580

BRACKET,R.H. (WELDED)

SN: 36534-UP

1шт.

|6

150-70-00240

BRACKET ASS'Y,L.H.

SN: 36534-UP

1шт.

|6

154-71-00130

BRACKET ASS'Y,R.H.

SN: 36534-UP

1шт.

6

0

BRACKET (WELDED)

SN: 36534-UP

1шт.

7

0

CAP

SN: 36534-UP

1шт.

8

154-71-31470

SEAT,R.H.

SN: 36534-UP

1шт.

9

154-71-31420

BOLT

SN: 36534-UP

2шт.

10

01643-32780

WASHER

SN: 36534-UP

2шт.

11

170-70-13141

NUT

SN: 36534-UP

2шт.

11A

07020-00000

FITTING,GREASE

SN: 36534-UP

2шт.

12

154-71-22470

PIN

SN: 36534-UP

2шт.

13

175-71-21330

PLATE,LOCK

SN: 36534-UP

2шт.

14

01010-61435

BOLT

SN: 36534-UP

8шт.

15

01643-31445

WASHER

SN: 36534-UP

8шт.

|$$25

====================

-1шт.

G-2

0

ARM AND BRACE GROUP

SN: 36534-UP

1шт.

|$$27

====================

-1шт.

|16

154-81-00054

BRACE ASS'Y

SN: 36534-UP

2шт.

16

154-71-22371

BRACE

SN: 36534-UP

1шт.

17

07020-00000

FITTING,GREASE

SN: 36534-UP

1шт.

18

154-71-21531

SCREW

SN: 36534-UP

1шт.

19

154-71-21290

PIN

SN: 36534-UP

2шт.

20

175-71-21330

PLATE,LOCK

SN: 36534-UP

2шт.

21

01010-61435

BOLT

SN: 36534-UP

8шт.

22

01643-31445

WASHER

SN: 36534-UP

8шт.

23

01010-62490

BOLT

SN: 36534-UP

8шт.

24

01643-32460

WASHER

SN: 36534-UP

8шт.

25

154-71-31221

ARM

SN: 36534-UP

2шт.

26

154-71-22332

BALL (WELDED)

SN: 36534-UP

1шт.

27

154-71-22340

CAP

SN: 36534-UP

1шт.

28

154-71-22362

JOINT (WELDED)

SN: 36534-UP

1шт.

29

150-71-00017

SHIM ASS'Y

SN: 36534-UP

2шт.

29

0

SHIM¤ 2.3MM

SN: 36534-UP

2шт.

29

0

SHIM¤ 1.0MM

SN: 36534-UP

4шт.

29

0

SHIM¤ 0.5MM

SN: 36534-UP

2шт.

30

01010-62490

BOLT

SN: 36534-UP

8шт.

31

01643-32460

WASHER

SN: 36534-UP

8шт.

|$$48

====================

-1шт.

G-3

0

TRANION GROUP

SN: 36534-UP

1шт.

|$$50

====================

-1шт.

32

154-70-13214

TRUNNION

SN: 36534-UP

2шт.

|32

154-70-32230

BALL,STUD (WELDED)

SN: 36534-UP

1шт.

33

01010-62250

BOLT

SN: 36534-UP

12шт.

34

01643-32260

WASHER

SN: 36534-UP

12шт.

|$$55

====================

-1шт.

35

154-71-22261

JOINT

SN: 36534-UP

2шт.

36

154-71-32210

FRAME,L.H. (FOR EC)

SN: 36534-UP

1шт.

37

154-71-31630

PLATE,(FOR EC)

SN: 36534-UP

1шт.

38

01010-81225

BOLT,(FOR EC)

SN: 36534-UP

4шт.

39

01643-31232

WASHER,(FOR EC)

SN: 36534-UP

4шт.

Выбрано товаров: 60