Запчасти Komatsu D85A-21-E СФЕРИЧ. ОТВАЛ (ДЛЯ УГОЛЬН. DOZER) (D8A) РАБОЧЕЕ ОБОРУДОВАНИЕ

Схема запчастей Komatsu D85A-21-E - СФЕРИЧ. ОТВАЛ (ДЛЯ УГОЛЬН. DOZER) (D8A) РАБОЧЕЕ ОБОРУДОВАНИЕ
FIT
1:1
100%

Артикул

Название

Примечание

Количество

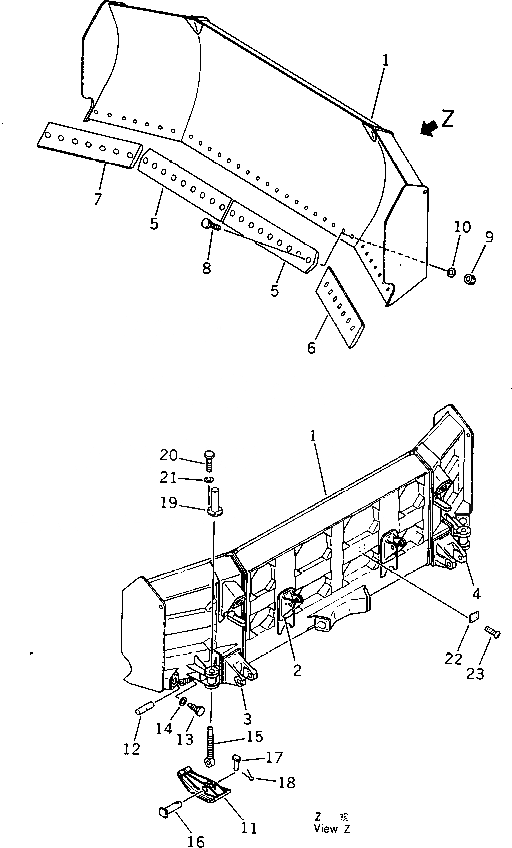
1

154-73-41110

BLADE

SN: 36534-UP

1шт.

2

154-71-41260

BRACKET (WELDED)

SN: 36534-UP

2шт.

3

154-73-31120

BRACKET,L.H. (WELDED)

SN: 36534-UP

1шт.

4

154-73-31130

BRACKET,R.H. (WELDED)

SN: 36534-UP

1шт.

5

175-905-2120

EDGE

SN: 36534-UP

2шт.

6

154-73-31150

EDGE,L.H.

SN: 36534-UP

1шт.

7

154-73-31160

EDGE,R.H.

SN: 36534-UP

1шт.

8

175-70-11170

BOLT

SN: 36534-UP

32шт.

9

154-70-22270

NUT

SN: 36534-UP

32шт.

10

01643-21845

WASHER

SN: 36534-UP

32шт.

11

170-905-1310

EDGE

SN: 36534-UP

2шт.

12

170-905-1350

PIN

SN: 36534-UP

2шт.

13

170-905-1361

BOLT

SN: 36534-UP

2шт.

14

01643-31445

WASHER

SN: 36534-UP

2шт.

15

170-905-1320

BOLT,EYE

SN: 36534-UP

2шт.

16

170-905-1330

PIN

SN: 36534-UP

2шт.

17

170-905-1340

PIN

SN: 36534-UP

2шт.

18

04050-13020

PIN,COTTER

SN: 36534-UP

2шт.

19

175-73-11180

COVER

SN: 36534-UP

2шт.

20

01010-81230

BOLT

SN: 36534-UP

8шт.

21

01643-31232

WASHER

SN: 36534-UP

8шт.

22

09601-00835

PLATE¤ NAME,(LIMITED SUPPLY)

SN: 36534-UP

1шт.

23

04418-03060

SCREW

SN: 36534-UP

4шт.

Выбрано товаров: 23