Запчасти Komatsu D85A-21-E ГИДРОТРАНСФОРМАТОР (/) ГТР CONVERTOR¤ ТРАНСМИССИЯ¤ РУЛЕВ. УПРАВЛЕНИЕ И КОНЕЧНАЯ ПЕРЕДАЧА

Схема запчастей Komatsu D85A-21-E - ГИДРОТРАНСФОРМАТОР (/) ГТР CONVERTOR¤ ТРАНСМИССИЯ¤ РУЛЕВ. УПРАВЛЕНИЕ И КОНЕЧНАЯ ПЕРЕДАЧА
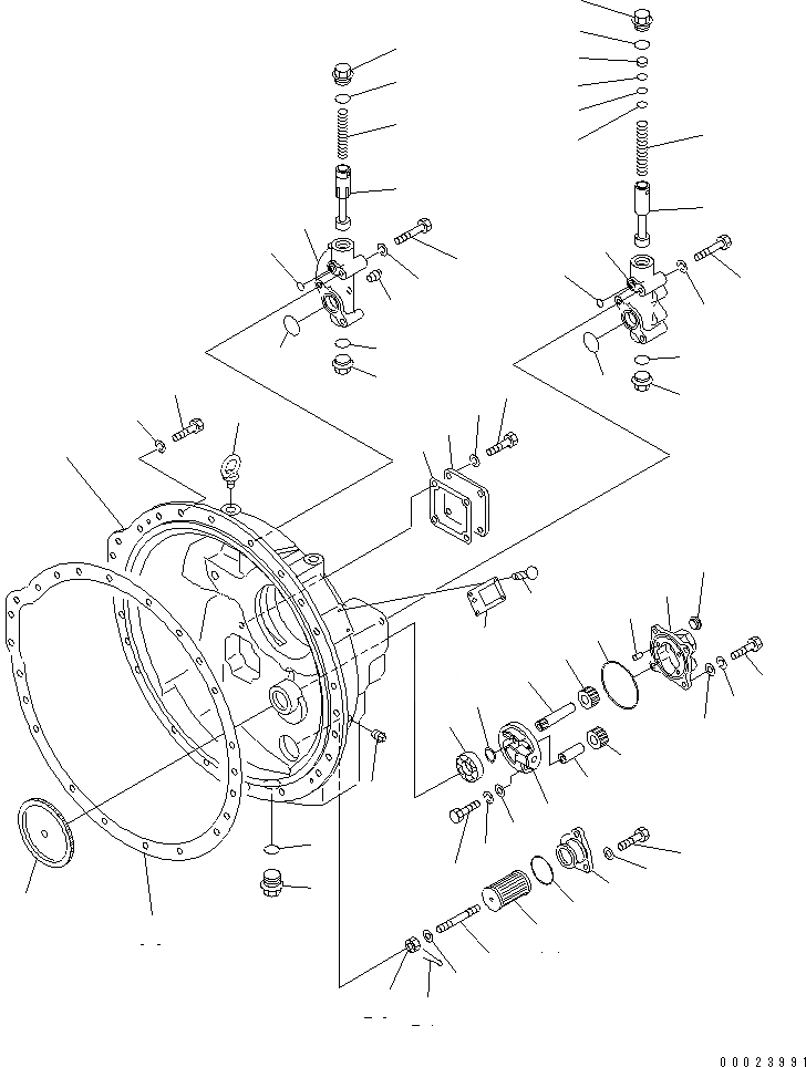
1
2
3
4
5
6
7
8
9
10
11
12
13
14
15
16
17
18
19
20
21
22
23
24
25
26
27
28
29
30
31
32
33
34
35
36
37
38
39
40
41
42
43
44
45
46
47
48
49
50
51
52
53
54
55
56
57
58
59
60
61
62
63
64
65
66
67
68
FIT
1:1
100%

Артикул

Название

Примечание

Количество

|$$1

SERIAL NO. IN ( ) INDICATES TORQUE CONVERTER SERIAL NO.

-1шт.

|1

154-13-00202

TORQUE CONVERTER A.

SN: 36534-UP

1шт.

|$$3

THIS ASSEMBLY CONSISTS OF ALL PARTS SHOWN IN FIGS.F2310-51A0 AND F2310-52A0.

-1шт.

1

154-13-53110

HOUSING

SN: 36534-UP

1шт.

2

07042-70415

PLUG,TAPER

SN: 36534-UP

3шт.

3

175-13-23220

COVER

SN: 36534-UP

1шт.

4

175-13-23232

GASKET (KIT)

SN: 36534-UP

1шт.

5

01010-81225

BOLT

SN: 36534-UP

4шт.

6

01643-31232

WASHER,SPRING

SN: 36534-UP

4шт.

7

04530-01628

BOLT,EYE

SN: 36534-UP

2шт.

8

07044-13620

PLUG,MAGNETIC

SN: 36534-UP

1шт.

9

07002-43634

O-RING (KIT)

SN: 36534-UP

1шт.

10

09607-05080

PLATE¤ NAME

SN: 36534-UP

1шт.

11

04418-13060

SCREW,TAPPING

SN: 36534-UP

4шт.

12

195-13-14111

GEAR

SN: 36534-UP

1шт.

13

19M-13-23370

BEARING

SN: (4544)-UP

1шт.

|13

06030-05206

BEARING

SN: 36534-(4543)

1шт.

14

04064-03015

RING,SNAP

SN: 36534-UP

1шт.

|15

134-13-13400

FILTER ASS'Y

SN: 36534-UP

1шт.

15

134-13-13410

COVER

SN: 36534-UP

1шт.

16

07000-72070

O-RING (KIT)

SN: 36534-UP

1шт.

17

195-13-13420

FILTER

SN: 36534-UP

1шт.

18

134-13-13430

STUD

SN: 36534-UP

1шт.

19

01641-20608

WASHER

SN: 36534-UP

1шт.

20

01590-10607

NUT

SN: 36534-UP

1шт.

21

04050-11212

PIN,COTTER (KIT)

SN: 36534-UP

1шт.

22

01010-81230

BOLT

SN: 36534-UP

3шт.

23

01643-31232

WASHER

SN: 36534-UP

3шт.

|24

175-13-23500

PUMP ASS'Y

SN: 36534-UP

1шт.

|24

175-13-23510

GEAR ASS'Y

SN: 36534-UP

1шт.

24

0

GEAR

SN: 36534-UP

1шт.

25

0

SHAFT

SN: 36534-UP

1шт.

|26

175-13-23520

GEAR ASS'Y

SN: 36534-UP

1шт.

26

0

GEAR

SN: 36534-UP

1шт.

27

0

SHAFT

SN: 36534-UP

1шт.

|28

175-13-00100

CASE ASS'Y

SN: 36534-UP

1шт.

28

0

CASE,PUMP

SN: 36534-UP

1шт.

29

01190-01011

HELISERT

SN: 36534-UP

2шт.

30

175-13-23540

COVER

SN: 36534-UP

1шт.

31

04020-00820

PIN,DOWEL

SN: 36534-UP

2шт.

32

01010-80835

BOLT

SN: 36534-UP

4шт.

33

01602-20825

WASHER,SPRING

SN: 36534-UP

4шт.

34

01641-20812

WASHER

SN: 36534-UP

4шт.

35

07000-72115

O-RING (KIT)

SN: 36534-UP

1шт.

36

01010-81235

BOLT

SN: 36534-UP

4шт.

37

01602-21236

WASHER,SPRING

SN: 36534-UP

4шт.

38

01641-21223

WASHER

SN: 36534-UP

4шт.

|39

195-13-00100

VALVE ASS'Y

SN: 36534-UP

1шт.

39

195-13-16110

BODY,RELIEF VALVE

SN: 36534-UP

1шт.

40

195-13-16450

PLUG

SN: 36534-UP

1шт.

41

07002-43634

O-RING (KIT)

SN: 36534-UP

1шт.

42

195-13-16120

SPOOL,RELIEF VALVE

SN: 36534-UP

1шт.

43

195-13-16131

SPRING,RELIEF VALVE

SN: 36534-UP

1шт.

44

195-13-16141

PLUG

SN: 36534-UP

1шт.

45

07002-43634

O-RING (KIT)

SN: 36534-UP

1шт.

|46

195-13-05010

SHIM KIT

SN: 36534-UP

1шт.

46

0

SHIM¤ 1.0MM

SN: 36534-UP

3шт.

47

0

SHIM¤ 0.3MM

SN: 36534-UP

3шт.

48

0

SHIM¤ 0.1MM

SN: 36534-UP

2шт.

49

195-13-16230

SPACER

SN: 36534-UP

1шт.

50

07000-72018

O-RING (KIT)

SN: 36534-UP

1шт.

51

07000-73045

O-RING (KIT)

SN: 36534-UP

1шт.

52

01010-81290

BOLT

SN: 36534-UP

3шт.

53

01643-31232

WASHER,SPRING

SN: 36534-UP

3шт.

|54

175-13-00150

VALVE ASS'Y

SN: 36534-UP

1шт.

54

175-13-26410

BODY,REGULATOR VALVE

SN: 36534-UP

1шт.

55

195-13-16450

PLUG

SN: 36534-UP

1шт.

56

07002-43634

O-RING (KIT)

SN: 36534-UP

1шт.

57

195-13-16420

SPOOL,REGULATOR VALVE

SN: 36534-UP

1шт.

58

195-13-16430

SPRING,REGULATOR VALVE

SN: 36534-UP

1шт.

59

195-13-16141

PLUG

SN: 36534-UP

1шт.

60

07002-43634

O-RING (KIT)

SN: 36534-UP

1шт.

61

07042-20108

PLUG,TAPER

SN: 36534-UP

1шт.

62

07000-72018

O-RING (KIT)

SN: 36534-UP

1шт.

63

07000-73045

O-RING (KIT)

SN: 36534-UP

1шт.

64

01010-81295

BOLT

SN: 36534-UP

3шт.

65

01643-31232

WASHER,SPRING

SN: 36534-UP

3шт.

66

175-11-11131

GASKET (KIT)

SN: 36534-UP

1шт.

67

01010-31240

BOLT

SN: 36534-UP

23шт.

68

01602-01236

WASHER,SPRING

SN: 36534-UP

23шт.

Выбрано товаров: 80