Запчасти Komatsu D85A-21 НИЖН. ЗАЩИТА И КОРОТК. ВЫХЛОПНАЯ ТРУБА (WOODY МЕСТН. СПЕЦ-Я.)(№-) ЧАСТИ КОРПУСА

Схема запчастей Komatsu D85A-21 - НИЖН. ЗАЩИТА И КОРОТК. ВЫХЛОПНАЯ ТРУБА (WOODY МЕСТН. СПЕЦ-Я.)(№-) ЧАСТИ КОРПУСА
FIT
1:1
100%

Артикул

Название

Примечание

Количество

G-1

0

BOTTOM GUARD GROUP

SN: 35001-UP

1шт.

|$$2

====================

-1шт.

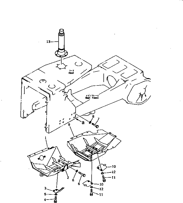
1

154-54-46620

COVER

SN: 35001-UP

1шт.

2

154-54-46670

HINGE (WELDED)

SN: 35001-UP

1шт.

3

154-54-41530

COVER

SN: 35001-UP

1шт.

4

01010-51240

BOLT

SN: 35001-UP

2шт.

5

01643-31232

WASHER

SN: 35001-UP

2шт.

6

01019-32760

BOLT

SN: 35001-UP

1шт.

7

01019-32745

BOLT

SN: 35001-UP

15шт.

8

01643-32780

WASHER

SN: 35001-UP

16шт.

9

154-55-19350

COVER

SN: 35001-UP

1шт.

10

154-54-12182

COVER

SN: 35001-UP

2шт.

11

01010-51230

BOLT

SN: 35001-UP

4шт.

12

01643-31232

WASHER

SN: 35001-UP

4шт.

|$$15

====================

-1шт.

G-2

0

EXHAUST PIPE GROUP,SHORT

SN: 35001-UP

1шт.

|$$17

====================

-1шт.

13

6150-11-5780

PIPE

SN: 35001-UP

1шт.

|$$19

====================

-1шт.

Выбрано товаров: 19