Запчасти Komatsu D85A-21 ЦИЛИНДР ПОДЪЕМА ОТВАЛА (/)(№-) УПРАВЛ-Е РАБОЧИМ ОБОРУДОВАНИЕМ

Схема запчастей Komatsu D85A-21 - ЦИЛИНДР ПОДЪЕМА ОТВАЛА (/)(№-) УПРАВЛ-Е РАБОЧИМ ОБОРУДОВАНИЕМ
FIT
1:1
100%

Артикул

Название

Примечание

Количество

G-1

0

CYLINDER GROUP,BLADE LIFT, L.H.

SN: 35001-UP

1шт.

G-1

0

CYLINDER GROUP,BLADE LIFT, R.H.

SN: 35001-UP

1шт.

|$$3

====================

-1шт.

|$3

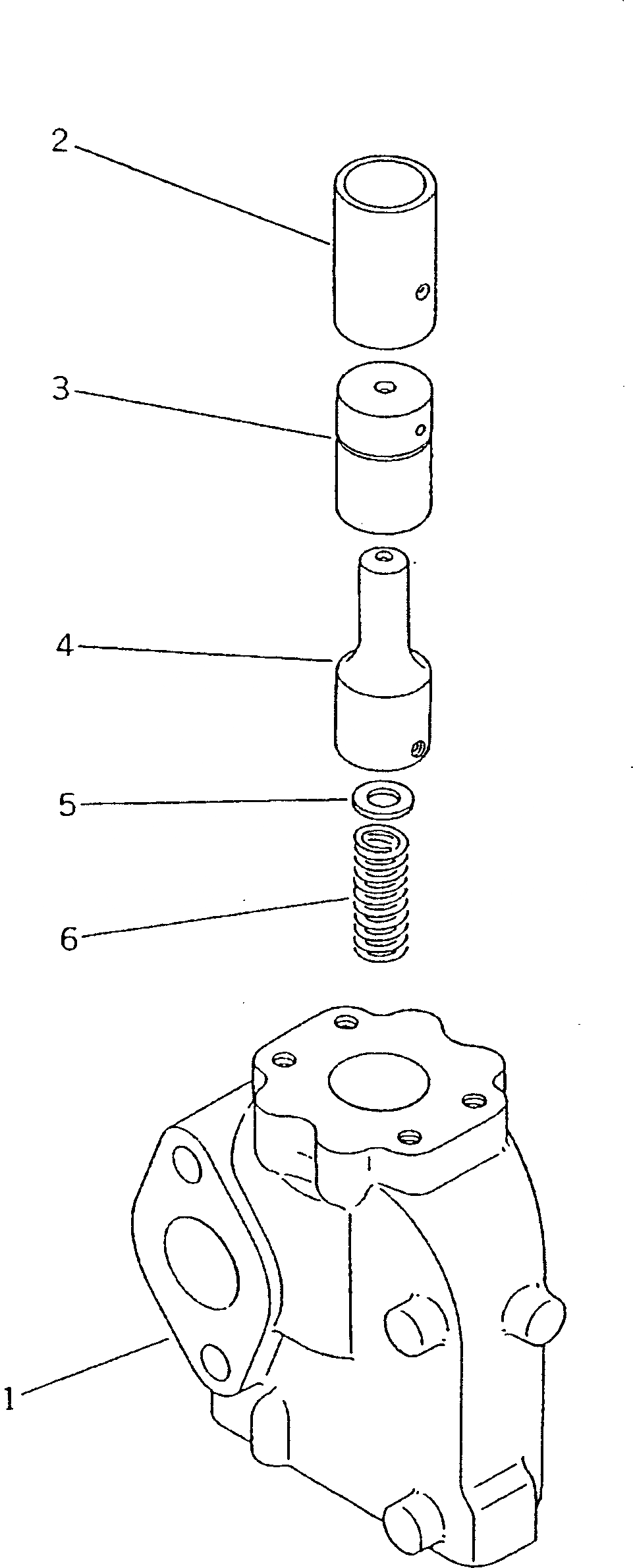
154-63-14100

VALVE ASS'Y

SN: 35001-UP

2шт.

1

0

BODY,QUICK DROP VALVE

SN: 35001-UP

1шт.

2

707-81-10020

COLLAR

SN: 35001-UP

1шт.

3

0

VALVE

SN: 35001-UP

1шт.

4

0

VALVE

SN: 35001-UP

1шт.

5

01642-21216

WASHER

SN: 35001-UP

1шт.

6

195-63-14180

SPRING

SN: 35001-UP

1шт.

|$$11

====================

-1шт.

Выбрано товаров: 11