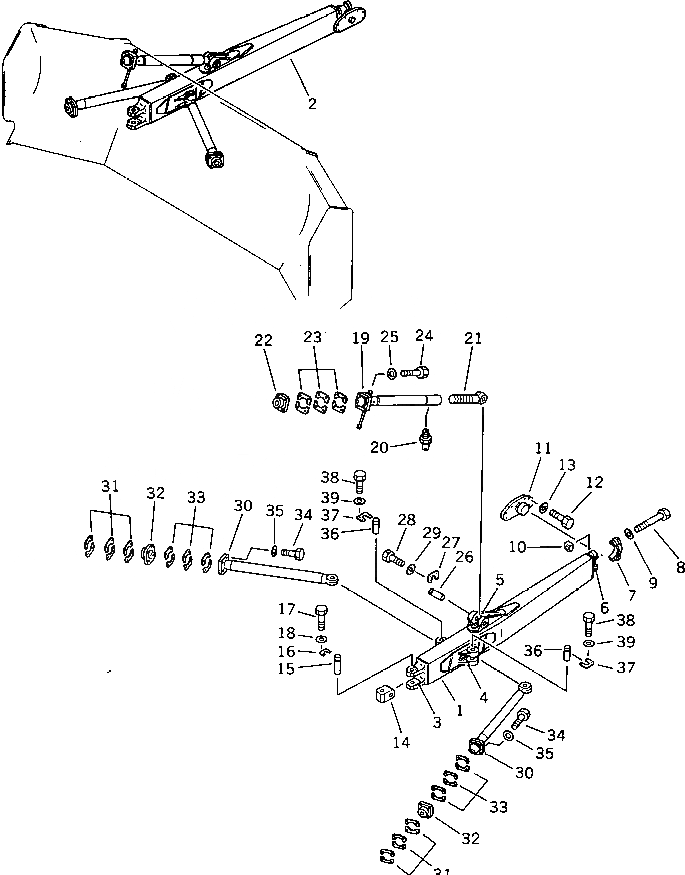
Запчасти Komatsu D85A-21 ПРЯМ. РАМА (ДЛЯ УГОЛЬН. DOZER)(№-) РАБОЧЕЕ ОБОРУДОВАНИЕ

Схема запчастей Komatsu D85A-21 - ПРЯМ. РАМА (ДЛЯ УГОЛЬН. DOZER)(№-) РАБОЧЕЕ ОБОРУДОВАНИЕ
FIT
1:1
100%

Артикул

Название

Примечание

Количество

|$0

154-73-00051

FRAME ASS'Y,L.H.

SN: 35001-UP

1шт.

|$1

154-73-00061

FRAME ASS'Y,R.H.

SN: 35001-UP

1шт.

1

0

FRAME,L.H.

SN: 35001-UP

1шт.

2

0

FRAME,R.H.

SN: 35001-UP

1шт.

3

154-71-22231

BRACKET (WELDED)

SN: 35001-UP

1шт.

4

154-71-22240

BRACKET (WELDED)

SN: 35001-UP

2шт.

5

154-71-31650

BRACKET (WELDED)

SN: 35001-UP

1шт.

|$7

150-70-00240

BRACKET ASS'Y

SN: 35001-UP

1шт.

6

0

BRACKET (WELDED)

SN: 35001-UP

1шт.

7

0

CAP

SN: 35001-UP

1шт.

8

154-71-31420

BOLT

SN: 35001-UP

2шт.

9

01643-32780

WASHER

SN: 35001-UP

2шт.

10

170-70-13141

NUT

SN: 35001-UP

2шт.

11

154-70-13214

TRUNNION

SN: 35001-UP

2шт.

11

154-70-32230

BALL,STUD (WELDED)

SN: 35001-UP

1шт.

12

01010-32250

BOLT

SN: 35001-UP

12шт.

13

01643-32260

WASHER

SN: 35001-UP

12шт.

14

154-71-22261

JOINT

SN: 35001-UP

2шт.

15

154-71-22470

PIN

SN: 35001-UP

4шт.

16

175-71-21330

PLATE,LOCK

SN: 35001-UP

4шт.

17

01010-51435

BOLT

SN: 35001-UP

16шт.

18

01643-31445

WASHER

SN: 35001-UP

16шт.

|$22

154-81-00054

BRACE ASS'Y

SN: 35001-UP

2шт.

19

154-71-22371

BRACE

SN: 35001-UP

1шт.

20

07020-00000

FITTING,GREASE

SN: 35001-UP

1шт.

21

154-71-21531

SCREW

SN: 35001-UP

1шт.

22

154-71-31270

CAP

SN: 35001-UP

2шт.

23

150-71-00017

SHIM ASS'Y

SN: 35001-UP

2шт.

23

0

SHIM, 2.3MM

SN: 35001-UP

2шт.

23

0

SHIM, 1.0MM

SN: 35001-UP

4шт.

23

0

SHIM, 0.5MM

SN: 35001-UP

2шт.

24

01011-32410

BOLT

SN: 35001-UP

8шт.

25

01643-32460

WASHER

SN: 35001-UP

8шт.

26

154-71-21290

PIN

SN: 35001-UP

2шт.

27

175-71-21330

PLATE,LOCK

SN: 35001-UP

2шт.

28

01010-51435

BOLT

SN: 35001-UP

8шт.

29

01643-31445

WASHER

SN: 35001-UP

8шт.

30

154-71-31221

ARM

SN: 35001-UP

4шт.

31

150-71-00017

SHIM ASS'Y

SN: 35001-UP

8шт.

31

0

SHIM, 2.3MM

SN: 35001-UP

2шт.

31

0

SHIM, 1.0MM

SN: 35001-UP

4шт.

31

0

SHIM, 0.5MM

SN: 35001-UP

2шт.

32

154-71-31270

CAP

SN: 35001-UP

4шт.

33

150-71-00017

SHIM ASS'Y

SN: 35001-UP

4шт.

33

0

SHIM, 2.3MM

SN: 35001-UP

2шт.

33

0

SHIM, 1.0MM

SN: 35001-UP

4шт.

33

0

SHIM, 0.5MM

SN: 35001-UP

2шт.

34

01011-32425

BOLT

SN: 35001-UP

16шт.

35

01643-32460

WASHER

SN: 35001-UP

16шт.

36

154-71-22480

PIN

SN: 35001-UP

4шт.

37

154-71-22490

PLATE,LOCK

SN: 35001-UP

4шт.

38

01010-51435

BOLT

SN: 35001-UP

16шт.

39

01643-31445

WASHER

SN: 35001-UP

16шт.

Выбрано товаров: 53