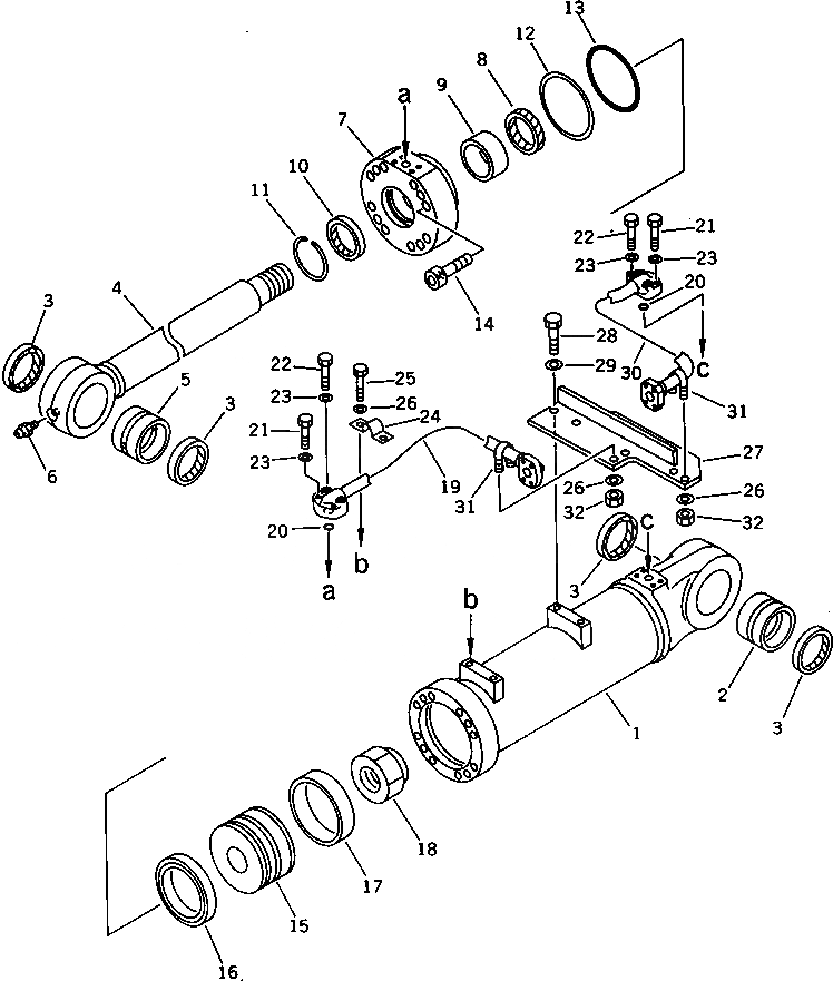
Запчасти Komatsu D85A-21 ЦИЛИНДР РЫХЛИТЕЛЯ(№-) РАБОЧЕЕ ОБОРУДОВАНИЕ

Схема запчастей Komatsu D85A-21 - ЦИЛИНДР РЫХЛИТЕЛЯ(№-) РАБОЧЕЕ ОБОРУДОВАНИЕ
FIT
1:1
100%

Артикул

Название

Примечание

Количество

G-1

0

CYLINDER GROUP,RIPPER LIFT, L.H.

SN: 35001-UP

1шт.

G-1

0

CYLINDER GROUP,RIPPER LIFT, R.H.

SN: 35001-UP

1шт.

|$$3

====================

-1шт.

|$3

154-63-02081

CYLINDER ASS'Y,RIPPER LIFT

SN: 35001-UP

2шт.

1

154-63-44141

CYLINDER

SN: 35001-UP

1шт.

2

154-63-42320

BUSHING

SN: 35001-UP

1шт.

3

07145-00075

SEAL,DUST

SN: 35001-UP

4шт.

4

154-63-44121

ROD

SN: 35001-UP

1шт.

5

154-63-42420

BUSHING

SN: 35001-UP

1шт.

6

07020-00000

FITTING,GREASE

SN: 35001-UP

1шт.

7

707-27-14030

HEAD,CYLINDER

SN: 35001-UP

1шт.

8

707-51-70211

PACKING,ROD

SN: 35001-UP

1шт.

9

07177-07030

BUSHING

SN: 35001-UP

1шт.

10

144-63-95170

SEAL,DUST

SN: 35001-UP

1шт.

11

07179-12084

RING,SNAP

SN: .-UP

1шт.

11

07179-00093

RING,SNAP

SN: 35001-.

1шт.

12

07146-02136

RING,BACK-UP

SN: 35001-UP

1шт.

13

07000-12135

O-RING

SN: 35001-UP

1шт.

14

01252-31675

BOLT

SN: 35001-UP

12шт.

15

707-36-14220

PISTON

SN: 35001-UP

1шт.

16

707-44-14180

RING,PISTON

SN: 35001-UP

1шт.

17

07155-01435

RING,WEAR

SN: 35001-UP

1шт.

18

07165-15252

NUT

SN: 35001-UP

1шт.

19

154-78-42161

TUBE,L.H.

SN: 35001-UP

1шт.

19

154-78-42171

TUBE,R.H.

SN: 35001-UP

1шт.

20

07000-13025

O-RING

SN: 35001-UP

2шт.

21

01010-50835

BOLT

SN: 35001-UP

4шт.

22

01010-50845

BOLT

SN: 35001-UP

4шт.

23

01643-30823

WASHER

SN: 35001-UP

8шт.

24

07282-12288

CLAMP

SN: 35001-UP

1шт.

25

01010-51020

BOLT

SN: 35001-UP

2шт.

26

01643-31032

WASHER

SN: 35001-UP

6шт.

27

707-88-11421

BRACKET,L.H.

SN: 35001-UP

1шт.

27

707-88-11431

BRACKET,R.H.

SN: 35001-UP

1шт.

28

01010-51230

BOLT

SN: 35001-UP

2шт.

29

01643-31232

WASHER

SN: 35001-UP

2шт.

30

154-78-42141

TUBE,L.H.

SN: 35001-UP

1шт.

30

154-78-42151

TUBE,R.H.

SN: 35001-UP

1шт.

31

07283-22236

CLIP

SN: 35001-UP

2шт.

32

01599-01011

NUT

SN: 35001-UP

4шт.

|$$41

====================

-1шт.

Выбрано товаров: 41