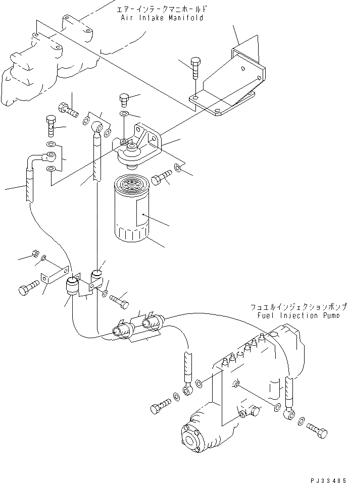
Запчасти Komatsu S6D125-1CC-FW ТОПЛИВН. ФИЛЬТР. И ТРУБЫ(№-) ДВИГАТЕЛЬ

Схема запчастей Komatsu S6D125-1CC-FW - ТОПЛИВН. ФИЛЬТР. И ТРУБЫ(№-) ДВИГАТЕЛЬ
1
2
3
4
5
6
7
8
9
10
11
11
12
12
13
14
14
15
16
17
18
18
19
20
21
1
2
3
4
5
6
7
8
9
10
11
11
12
12
13
14
14
15
16
17
18
18
19
20
21
FIT
1:1
100%

Артикул

Название

Примечание

Количество

|$0

6114-71-6201

FUEL FILTER ASS'Y

SN: 22313-UP

1шт.

|$1

0

FUEL FILTER ASS'Y

SN: (22313-46554)

1шт.

1

6114-71-6210

HEAD

SN: 22313-UP

1шт.

2

6110-73-6231

PLUG

SN: 22313-UP

1шт.

3

07005-00812

SEAL, WASHER (K2)

SN: 22313-UP

1шт.

4

600-311-8292

CARTRIDGE

SN: 22313-UP

1шт.

4

0

CARTRIDGE

SN: (22313-46554)

1шт.

4

6110-73-6231

PLUG

SN: 22313-UP

1шт.

4

07005-00812

SEAL, WASHER

SN: 22313-UP

1шт.

5

6151-71-6231

BRACKET

SN: 23885-UP

1шт.

5

6151-71-6230

BRACKET

SN: 22313-23884

1шт.

6

01010-51030

BOLT

SN: 23885-UP

4шт.

6

01010-51025

BOLT

SN: 22313-23884

4шт.

7

01010-51025

BOLT

SN: 22313-UP

2шт.

8

01640-21016

WASHER

SN: 22313-UP

2шт.

9

07271-11480

HOSE

SN: 37479-UP

1шт.

9

07271-01480

HOSE

SN: 22313-37478

1шт.

9

6151-71-6870

HOSE,(FOR SLAG HANDLING)

SN: 50884-UP

1шт.

10

6150-71-5450

HOSE

SN: 37479-UP

1шт.

10

6150-71-5440

HOSE

SN: 22313-37478

1шт.

10

6151-71-6860

HOSE,(FOR SLAG HANDLING)

SN: 50884-UP

1шт.

11

07206-31014

BOLT,JOINT

SN: 22313-UP

2шт.

12

07005-01412

SEAL, WASHER (K2)

SN: 22313-UP

4шт.

13

04434-52511

CLIP

SN: 22313-UP

2шт.

13

6150-51-9490

CLIP,(FOR SLAG HANDLING)

SN: 50884-UP

2шт.

14

07095-20318

CUSHION,(EXCEPT SLAG HANDLING)

SN: 22313-UP

2шт.

15

6151-51-8280

BRACKET

SN: 22313-UP

1шт.

16

01010-51025

BOLT

SN: 22313-UP

1шт.

16

01010-51020

BOLT,(FOR SLAG HANDLING)

SN: 50884-UP

1шт.

17

01580-11008

NUT

SN: 22313-UP

1шт.

18

01640-21016

WASHER

SN: 22313-UP

2шт.

18

01640-21016

WASHER,(FOR SLAG HANDLING)

SN: 50884-UP

1шт.

19

205-62-72140

COVER

SN: 34291-UP

2шт.

20

08034-00519

BAND

SN: 34291-UP

2шт.

20

08034-00414

BAND

SN: 22313-34290

2шт.

21

600-311-8532

PLATE, CAUTION,(ENGLISH-ITALIAN)

SN: 22313-UP

1шт.

21

600-311-8542

PLATE, CAUTION,(ENGLISH-INDONESIAN)

SN: 22313-UP

1шт.

21

600-311-8552

PLATE, CAUTION,(ENGLISH-GREEK)

SN: 22313-UP

1шт.

21

600-311-8562

PLATE, CAUTION,(CHINESE)

SN: 22313-UP

1шт.

21

600-311-8612

PLATE, CAUTION,(ENGLISH)

SN: 22313-UP

1шт.

21

600-311-8622

PLATE, CAUTION,(ENGLISH-SPANISH)

SN: 22313-UP

1шт.

21

600-311-8632

PLATE, CAUTION,(ENGLISH-GERMAN)

SN: 22313-UP

1шт.

21

600-311-8643

PLATE, CAUTION,(ENGLISH-FRENCH)

SN: 22313-UP

1шт.

21

600-311-8652

PLATE, CAUTION,(ENGLISH-ARABIC)

SN: 22313-UP

1шт.

21

600-311-8662

PLATE, CAUTION,(RUSSIAN-ENGLISH)

SN: 22313-UP

1шт.

21

600-311-8692

PLATE, CAUTION,(ENGLISH-PORTUGUESE)

SN: 22313-UP

1шт.

21

600-311-8850

PLATE, CAUTION,(ENGLISH-PERSIAN)

SN: 22313-UP

1шт.

|$0

6114-71-6201

FUEL FILTER ASS'Y

SN: 22313-UP

1шт.

|$1

0

FUEL FILTER ASS'Y

SN: (22313-46554)

1шт.

1

6114-71-6210

HEAD

SN: 22313-UP

1шт.

2

6110-73-6231

PLUG

SN: 22313-UP

1шт.

3

07005-00812

SEAL, WASHER (K2)

SN: 22313-UP

1шт.

4

600-311-8292

CARTRIDGE

SN: 22313-UP

1шт.

4

0

CARTRIDGE

SN: (22313-46554)

1шт.

4

6110-73-6231

PLUG

SN: 22313-UP

1шт.

4

07005-00812

SEAL, WASHER

SN: 22313-UP

1шт.

5

6151-71-6231

BRACKET

SN: 23885-UP

1шт.

5

6151-71-6230

BRACKET

SN: 22313-23884

1шт.

6

01010-51030

BOLT

SN: 23885-UP

4шт.

6

01010-51025

BOLT

SN: 22313-23884

4шт.

7

01010-51025

BOLT

SN: 22313-UP

2шт.

8

01640-21016

WASHER

SN: 22313-UP

2шт.

9

07271-11480

HOSE

SN: 37479-UP

1шт.

9

07271-01480

HOSE

SN: 22313-37478

1шт.

9

6151-71-6870

HOSE,(FOR SLAG HANDLING)

SN: 50884-UP

1шт.

10

6150-71-5450

HOSE

SN: 37479-UP

1шт.

10

6150-71-5440

HOSE

SN: 22313-37478

1шт.

10

6151-71-6860

HOSE,(FOR SLAG HANDLING)

SN: 50884-UP

1шт.

11

07206-31014

BOLT,JOINT

SN: 22313-UP

2шт.

12

07005-01412

SEAL, WASHER (K2)

SN: 22313-UP

4шт.

13

04434-52511

CLIP

SN: 22313-UP

2шт.

13

6150-51-9490

CLIP,(FOR SLAG HANDLING)

SN: 50884-UP

2шт.

14

07095-20318

CUSHION,(EXCEPT SLAG HANDLING)

SN: 22313-UP

2шт.

15

6151-51-8280

BRACKET

SN: 22313-UP

1шт.

16

01010-51025

BOLT

SN: 22313-UP

1шт.

16

01010-51020

BOLT,(FOR SLAG HANDLING)

SN: 50884-UP

1шт.

17

01580-11008

NUT

SN: 22313-UP

1шт.

18

01640-21016

WASHER

SN: 22313-UP

2шт.

18

01640-21016

WASHER,(FOR SLAG HANDLING)

SN: 50884-UP

1шт.

19

205-62-72140

COVER

SN: 34291-UP

2шт.

20

08034-00519

BAND

SN: 34291-UP

2шт.

20

08034-00414

BAND

SN: 22313-34290

2шт.

21

600-311-8532

PLATE, CAUTION,(ENGLISH-ITALIAN)

SN: 22313-UP

1шт.

21

600-311-8542

PLATE, CAUTION,(ENGLISH-INDONESIAN)

SN: 22313-UP

1шт.

21

600-311-8552

PLATE, CAUTION,(ENGLISH-GREEK)

SN: 22313-UP

1шт.

21

600-311-8562

PLATE, CAUTION,(CHINESE)

SN: 22313-UP

1шт.

21

600-311-8612

PLATE, CAUTION,(ENGLISH)

SN: 22313-UP

1шт.

21

600-311-8622

PLATE, CAUTION,(ENGLISH-SPANISH)

SN: 22313-UP

1шт.

21

600-311-8632

PLATE, CAUTION,(ENGLISH-GERMAN)

SN: 22313-UP

1шт.

21

600-311-8643

PLATE, CAUTION,(ENGLISH-FRENCH)

SN: 22313-UP

1шт.

21

600-311-8652

PLATE, CAUTION,(ENGLISH-ARABIC)

SN: 22313-UP

1шт.

21

600-311-8662

PLATE, CAUTION,(RUSSIAN-ENGLISH)

SN: 22313-UP

1шт.

21

600-311-8692

PLATE, CAUTION,(ENGLISH-PORTUGUESE)

SN: 22313-UP

1шт.

21

600-311-8850

PLATE, CAUTION,(ENGLISH-PERSIAN)

SN: 22313-UP

1шт.

Выбрано товаров: 94