Запчасти Komatsu D85A-21 РАСПРЕДЕЛИТЕЛЬ. (/)(№-7) КАБИНА ОПЕРАТОРА И СИСТЕМА УПРАВЛЕНИЯ

Схема запчастей Komatsu D85A-21 - РАСПРЕДЕЛИТЕЛЬ. (/)(№-7) КАБИНА ОПЕРАТОРА И СИСТЕМА УПРАВЛЕНИЯ
FIT
1:1
100%

Артикул

Название

Примечание

Количество

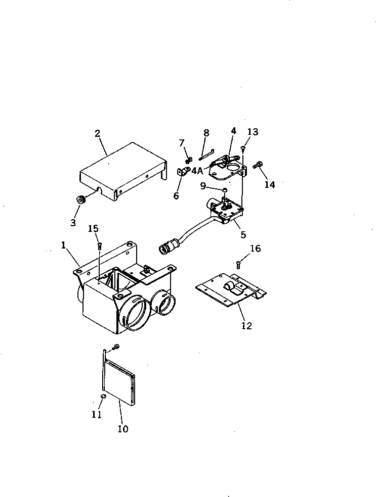
G-1

0

DISTRIBUTOR GROUP

SN: 36534-37532

1шт.

|$$2

====================

-1шт.

|$3

195-Z11-5400

DISTRIBUTOR ASS'Y

SN: 36534-@

1шт.

1

195-Z11-6490

CASE

SN: 36534-@

1шт.

2

195-Z11-6520

PROTECTOR

SN: 36534-@

1шт.

3

195-Z11-7150

GROMMET

SN: 36534-@

1шт.

4

195-Z11-6530

LINK

SN: 36534-@

1шт.

4A

195-Z11-6640

BUSHING

SN: 36534-@

1шт.

5

195-Z11-7140

ACTUATOR ASS'Y

SN: 36534-@

1шт.

6

195-Z11-6540

LEVER

SN: 36534-@

1шт.

7

195-Z11-6640

BUSHING

SN: 36534-@

1шт.

8

195-Z11-6560

SHAFT

SN: 36534-@

1шт.

9

195-Z11-6280

BUSHING

SN: 36534-@

1шт.

10

195-Z11-6550

DAMPER

SN: 36534-@

1шт.

11

195-Z11-6570

INSERT

SN: 36534-@

2шт.

12

195-Z11-6510

PLATE

SN: 36534-@

1шт.

13

01370-00412

SCREW

SN: 36534-@

4шт.

14

01010-80812

BOLT

SN: 36534-@

7шт.

15

01220-40512

SCREW

SN: 36534-@

6шт.

16

01220-40616

SCREW

SN: 36534-@

1шт.

|$$21

====================

-1шт.

Выбрано товаров: 21