Запчасти Komatsu D85A-21 ГИДР. НАСОС. (ДЛЯ ТЯГОВ. ЛЕБЕДКИ) ОСНОВН. КОМПОНЕНТЫ И РЕМКОМПЛЕКТЫ

Схема запчастей Komatsu D85A-21 - ГИДР. НАСОС. (ДЛЯ ТЯГОВ. ЛЕБЕДКИ) ОСНОВН. КОМПОНЕНТЫ И РЕМКОМПЛЕКТЫ
FIT
1:1
100%

Артикул

Название

Примечание

Количество

G-1

0

CONTROL GROUP

SN: 36534-UP

1шт.

|$$2

====================

-1шт.

|$2

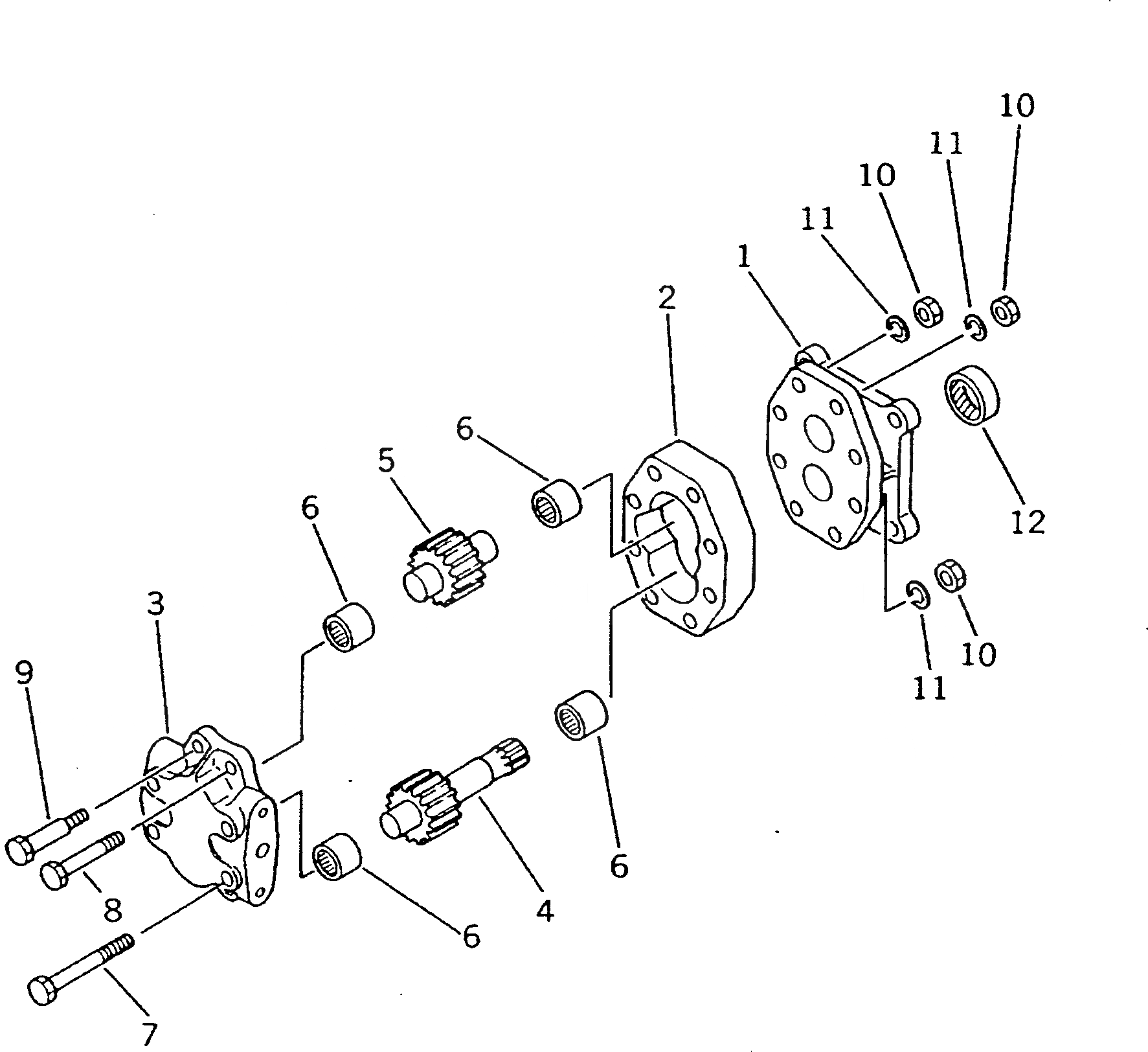
07429-72101

PUMP ASS'Y (FAR28)

SN: 36534-UP

1шт.

1

0

BRACKET

SN: 36534-UP

1шт.

2

0

CASE,GEAR

SN: 36534-UP

1шт.

3

0

HOUSING

SN: 36534-UP

1шт.

4

0

GEAR,DRIVE

SN: 36534-UP

1шт.

5

0

GEAR,DRIVEN

SN: 36534-UP

1шт.

6

0

BEARING,NEEDLE

SN: 36534-UP

4шт.

7

0

BOLT

SN: 36534-UP

4шт.

8

0

BOLT

SN: 36534-UP

2шт.

9

0

BOLT,REAMER

SN: 36534-UP

2шт.

10

0

NUT

SN: 36534-UP

8шт.

11

0

WASHER,SPRING

SN: 36534-UP

8шт.

12

07426-71160

SEAL,OIL

SN: 36534-UP

1шт.

|$$16

====================

-1шт.

Выбрано товаров: 16