Запчасти Komatsu D85A-21A ПОВОРОТН. СЦЕПНОЕ УСТРОЙСТВО(№-) ЧАСТИ КОРПУСА

Схема запчастей Komatsu D85A-21A - ПОВОРОТН. СЦЕПНОЕ УСТРОЙСТВО(№-) ЧАСТИ КОРПУСА
FIT
1:1
100%

Артикул

Название

Примечание

Количество

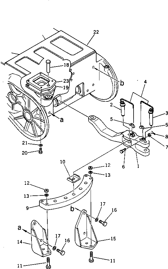
1

154-69-11111

DRAWBAR

SN: 35001-UP

1шт.

2

154-69-11181

PIN

SN: 35001-UP

1шт.

3

154-69-11240

PIN

SN: 35001-UP

1шт.

4

09245-24836

CHAIN

SN: 35001-UP

2шт.

5

09249-10016

LATCH

SN: 35001-UP

2шт.

6

01052-51675

BOLT

SN: 35001-UP

2шт.

7

01592-11619

NUT

SN: 35001-UP

2шт.

8

04050-14030

PIN,COTTER

SN: 35001-UP

2шт.

9

154-69-11171

PLATE

SN: 35001-UP

1шт.

10

175-819-2230

WASHER

SN: 35001-UP

1шт.

11

01011-83350

BOLT

SN: 35001-UP

4шт.

12

01580-13326

NUT

SN: 35001-UP

4шт.

13

01643-33380

WASHER

SN: 35001-UP

4шт.

14

154-69-11151

BRACKET,L.H.

SN: 35001-UP

1шт.

15

154-69-11161

BRACKET,R.H.

SN: 35001-UP

1шт.

16

01010-83385

BOLT

SN: 35001-UP

6шт.

17

01643-33380

WASHER

SN: 35001-UP

6шт.

18

154-69-11132

PIN

SN: 35001-UP

1шт.

19

154-69-11123

BRACKET

SN: 35001-UP

1шт.

20

01011-63070

BOLT

SN: 35001-UP

4шт.

21

01643-33080

WASHER

SN: 35001-UP

4шт.

|21

154-21-41300

CASE FRAME ASS'Y

SN: 35001-UP

1шт.

22

154-69-11232

CASE

SN: 35001-UP

1шт.

23

154-69-11194

SEAT (WELDED)

SN: 35001-UP

1шт.

Выбрано товаров: 24