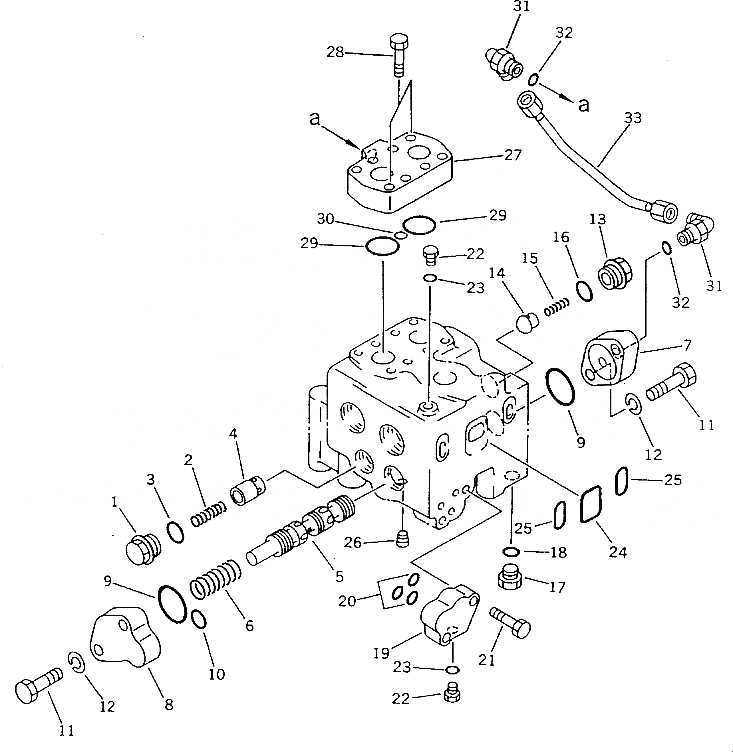
Запчасти Komatsu D85A-21A ОТВАЛ УПРАВЛЯЮЩ. КЛАПАН (/) (С СКРЕППЕР)(№-) УПРАВЛ-Е РАБОЧИМ ОБОРУДОВАНИЕМ

Схема запчастей Komatsu D85A-21A - ОТВАЛ УПРАВЛЯЮЩ. КЛАПАН (/) (С СКРЕППЕР)(№-) УПРАВЛ-Е РАБОЧИМ ОБОРУДОВАНИЕМ
FIT
1:1
100%

Артикул

Название

Примечание

Количество

|1

709-62-31301

VALVE ASS'Y

SN: 36345-UP

1шт.

|1

0

VALVE ASS'Y

SN: 36019-36344

1шт.

|1

709-62-31103

VALVE ASS'Y

SN: 35001-36018

1шт.

|1

0

VALVE ASS'Y

SN: (35001-36018)

1шт.

|$$5

THESE ASSEMBLIES CONSIST OF ALL PARTS SHOWN IN FIGS.6211 TO 6215.

-1шт.

|1

709-62-00051

VALVE SUB ASS'Y

SN: 36345-UP

1шт.

|1

709-62-00050

VALVE SUB ASS'Y

SN: 36019-36344

1шт.

|1

709-62-00031

VALVE SUB ASS'Y

SN: 35001-36018

1шт.

|1

0

VALVE SUB ASS'Y

SN: (35001-36018)

1шт.

|$$10

THESE ASSEMBLIES CONSIST OF ALL PARTS SHOWN IN FIGS.6212 AND 6213.

-1шт.

1

700-22-11370

PLUG

SN: 35001-UP

1шт.

2

701-13-31130

SPRING

SN: 35001-UP

1шт.

3

07002-12434

O-RING

SN: 35001-UP

1шт.

4

701-13-31120

VALVE

SN: 35001-UP

1шт.

5

0

SPOOL

SN: 36019-UP

1шт.

|5

0

SPOOL

SN: 35001-36018

1шт.

6

709-62-31260

SPRING

SN: 35001-UP

1шт.

7

709-62-31430

PLATE

SN: 36019-UP

1шт.

|7

709-62-31310

PLATE

SN: 35001-36018

1шт.

8

709-62-31320

PLATE

SN: 35001-UP

1шт.

9

07000-13038

O-RING

SN: 35001-UP

2шт.

10

07000-02021

O-RING

SN: 35001-UP

1шт.

11

01010-51245

BOLT

SN: 35001-UP

4шт.

12

01602-21236

WASHER

SN: 35001-UP

4шт.

13

709-62-31240

PLUG

SN: 35001-UP

1шт.

14

700-22-11340

VALVE,CHECK

SN: 35001-UP

1шт.

15

700-72-31210

SPRING

SN: 36019-UP

1шт.

|15

709-20-51270

SPRING

SN: 35001-36018

1шт.

16

07002-12434

O-RING

SN: 35001-UP

1шт.

17

07040-11612

PLUG

SN: 35001-UP

4шт.

18

07002-11623

O-RING

SN: 35001-UP

4шт.

19

709-62-31271

PLATE

SN: 35001-UP

1шт.

20

07000-12015

O-RING

SN: 35001-UP

3шт.

21

01010-51040

BOLT

SN: 35001-UP

2шт.

22

07040-11007

PLUG

SN: 35001-UP

2шт.

23

07002-11023

O-RING

SN: 35001-UP

2шт.

24

07000-13040

O-RING

SN: 35001-UP

1шт.

25

709-62-31280

O-RING

SN: 35001-UP

2шт.

26

0

PLUG

SN: 35001-UP

1шт.

27

709-62-31450

PLATE

SN: 36019-UP

1шт.

28

01010-51040

BOLT

SN: 36019-UP

2шт.

29

07000-13035

O-RING

SN: 36019-UP

2шт.

30

07000-12010

O-RING

SN: 36019-UP

1шт.

31

07235-10210

ELBOW

SN: 36019-UP

2шт.

32

07002-11423

O-RING

SN: 36019-UP

2шт.

33

709-62-31440

TUBE

SN: 36019-UP

1шт.

Выбрано товаров: 46