Запчасти Komatsu D85A-21A ЭЛЕКТРИКА (/)(№-) КОМПОНЕНТЫ ДВИГАТЕЛЯ И ЭЛЕКТРИКА

Схема запчастей Komatsu D85A-21A - ЭЛЕКТРИКА (/)(№-) КОМПОНЕНТЫ ДВИГАТЕЛЯ И ЭЛЕКТРИКА
FIT
1:1
100%

Артикул

Название

Примечание

Количество

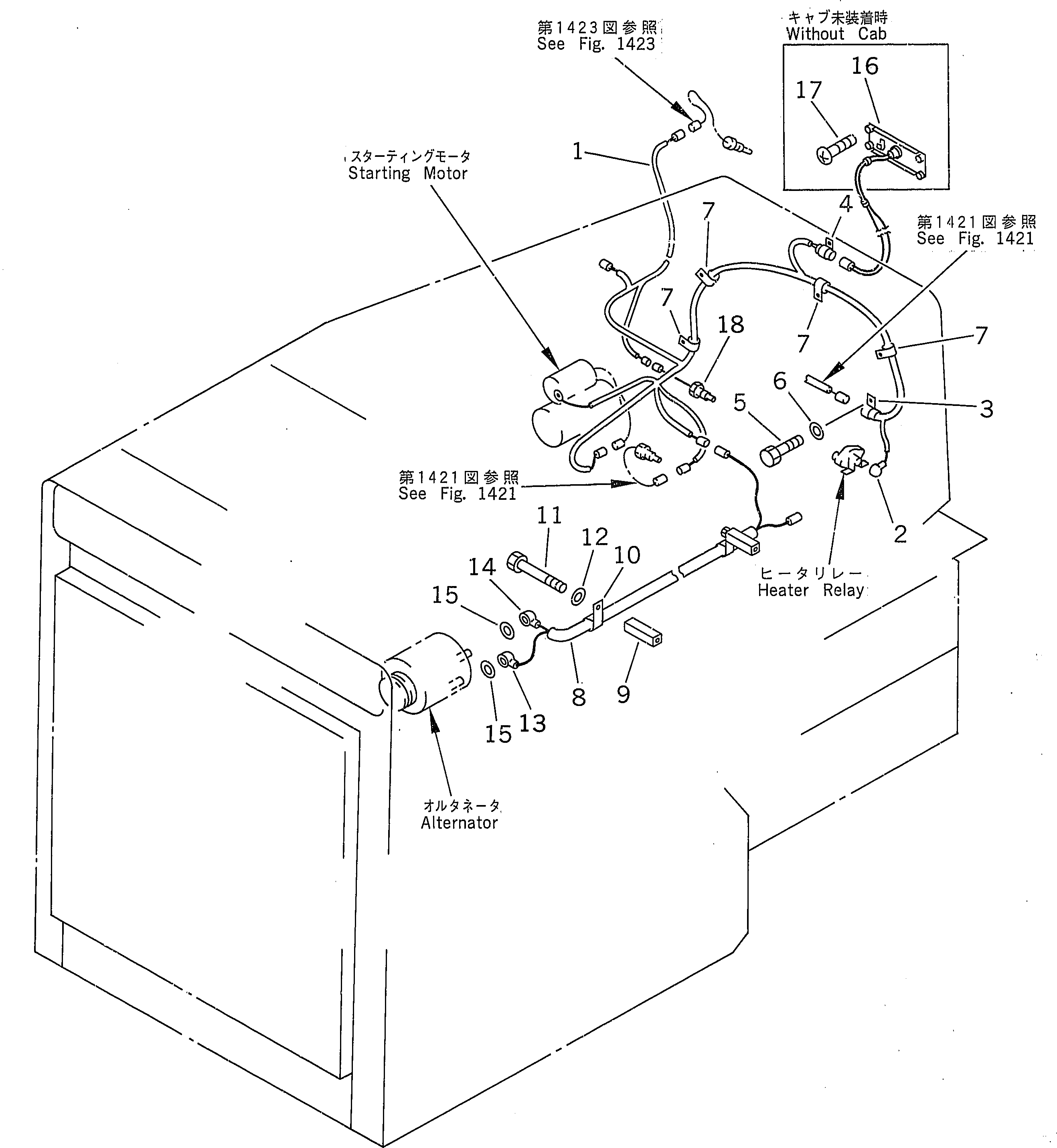
1

154-06-41370

WIRING HARNESS

SN: 35001-UP

1шт.

2

08038-02027

CAP

SN: 35001-UP

1шт.

3

195-06-41830

CLIP

SN: 35001-UP

1шт.

4

195-06-41820

CLIP

SN: 35001-UP

1шт.

5

01010-51220

BOLT

SN: 35001-UP

1шт.

6

01643-31232

WASHER

SN: 35001-UP

1шт.

7

08036-11214

CLIP

SN: 35001-UP

4шт.

8

154-06-41150

WIRING HARNESS

SN: 35001-UP

1шт.

9

195-01-16420

COLLAR

SN: 35001-UP

2шт.

10

08035-02508

CLIP

SN: 35001-UP

2шт.

11

01011-51030

BOLT

SN: 35357-UP

2шт.

|11

01011-51025

BOLT

SN: 35001-35356

2шт.

12

01643-31032

WASHER

SN: 35001-UP

2шт.

13

140-06-18260

CAP

SN: 35001-UP

1шт.

14

08038-02027

CAP

SN: 35001-UP

1шт.

15

01640-20610

WASHER

SN: 35001-UP

2шт.

16

195-06-41360

DISPLAY ASS'Y

SN: 35001-UP

1шт.

17

01220-70625

SCREW

SN: 35001-UP

4шт.

18

7861-91-3310

SENSOR,TORQUE CONVERTOR OIL TEMP.

SN: 35001-UP

1шт.

Выбрано товаров: 19