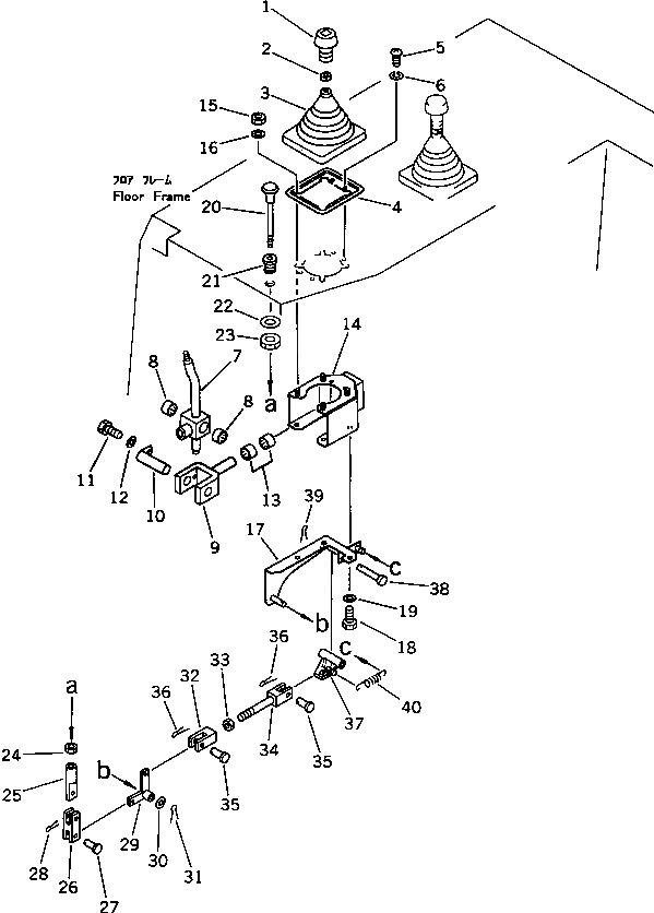
Запчасти Komatsu D85A-21A НАКЛОН. РЫЧАГ УПРАВЛЕНИЯ ОТВАЛОМ(№-) УПРАВЛ-Е РАБОЧИМ ОБОРУДОВАНИЕМ

Схема запчастей Komatsu D85A-21A - НАКЛОН. РЫЧАГ УПРАВЛЕНИЯ ОТВАЛОМ(№-) УПРАВЛ-Е РАБОЧИМ ОБОРУДОВАНИЕМ
FIT
1:1
100%

Артикул

Название

Примечание

Количество

G-1

0

CONTROL LEVER GROUP,BLADE

SN: 35001-UP

1шт.

|$$2

====================

-1шт.

1

195-61-45150

KNOB

SN: 35001-UP

1шт.

2

195-43-44220

NUT

SN: 35001-UP

1шт.

3

195-61-45140

BOOT

SN: 35001-UP

1шт.

4

195-61-45130

BASE

SN: 35001-UP

1шт.

5

01220-40508

SCREW

SN: 35001-UP

4шт.

6

01601-20513

WASHER,SPRING

SN: 35001-UP

4шт.

7

195-61-45160

LEVER

SN: 35001-UP

1шт.

8

195-61-34130

BEARING,NEEDLE

SN: 35001-UP

2шт.

9

195-61-45180

YOKE

SN: 35001-UP

1шт.

10

195-61-45170

PIN

SN: 35001-UP

1шт.

11

01010-50816

BOLT

SN: 35001-UP

1шт.

12

01643-30823

WASHER

SN: 35001-UP

1шт.

13

195-61-45440

BEARING,NEEDLE

SN: 35565-UP

2шт.

|13

198-09-11330

BEARING,NEEDLE

SN: 35001-35564

2шт.

14

195-61-45110

BRACKET

SN: 35001-UP

1шт.

15

01580-10806

NUT

SN: 35001-UP

4шт.

16

01643-30823

WASHER

SN: 35001-UP

4шт.

17

195-61-45240

BRACKET

SN: 35001-UP

1шт.

18

01010-50816

BOLT

SN: 35001-UP

3шт.

19

01643-30823

WASHER

SN: 35001-UP

3шт.

20

195-61-45211

KNOB

SN: 35001-UP

1шт.

21

195-61-45220

BOSS

SN: 35001-UP

1шт.

22

01640-22232

WASHER

SN: 35001-UP

1шт.

23

195-61-45230

NUT

SN: 35001-UP

1шт.

24

01580-10806

NUT

SN: 35001-UP

1шт.

25

04216-20835

JOINT

SN: 35001-UP

1шт.

26

04213-20830

YOKE

SN: 35001-UP

1шт.

27

04205-10822

PIN

SN: 35001-UP

2шт.

28

04050-12015

PIN,COTTER

SN: 35001-UP

2шт.

29

195-61-45260

LEVER

SN: 35001-UP

1шт.

30

01641-20812

WASHER

SN: 35001-UP

1шт.

31

04050-12015

PIN,COTTER

SN: 35001-UP

1шт.

32

04210-20832

YOKE

SN: 35001-UP

1шт.

33

01580-10806

NUT

SN: 35001-UP

1шт.

34

04244-40810

ROD

SN: 35001-UP

1шт.

35

04205-10822

PIN

SN: 35001-UP

2шт.

36

04050-12015

PIN,COTTER

SN: 35001-UP

2шт.

37

195-61-45270

LEVER

SN: 35001-UP

1шт.

38

195-61-45280

PIN

SN: 35001-UP

1шт.

39

04050-12015

PIN,COTTER

SN: 35001-UP

1шт.

40

195-61-45290

SPRING

SN: 35001-UP

1шт.

|$$44

====================

-1шт.

Выбрано товаров: 0