Запчасти Komatsu D85A-21A УПРАВЛ-Е ТРАНСМИССИЕЙ МЕХАНИЗМ (/)(№-) СИСТЕМА УПРАВЛЕНИЯ

Схема запчастей Komatsu D85A-21A - УПРАВЛ-Е ТРАНСМИССИЕЙ МЕХАНИЗМ (/)(№-) СИСТЕМА УПРАВЛЕНИЯ
FIT
1:1
100%

Артикул

Название

Примечание

Количество

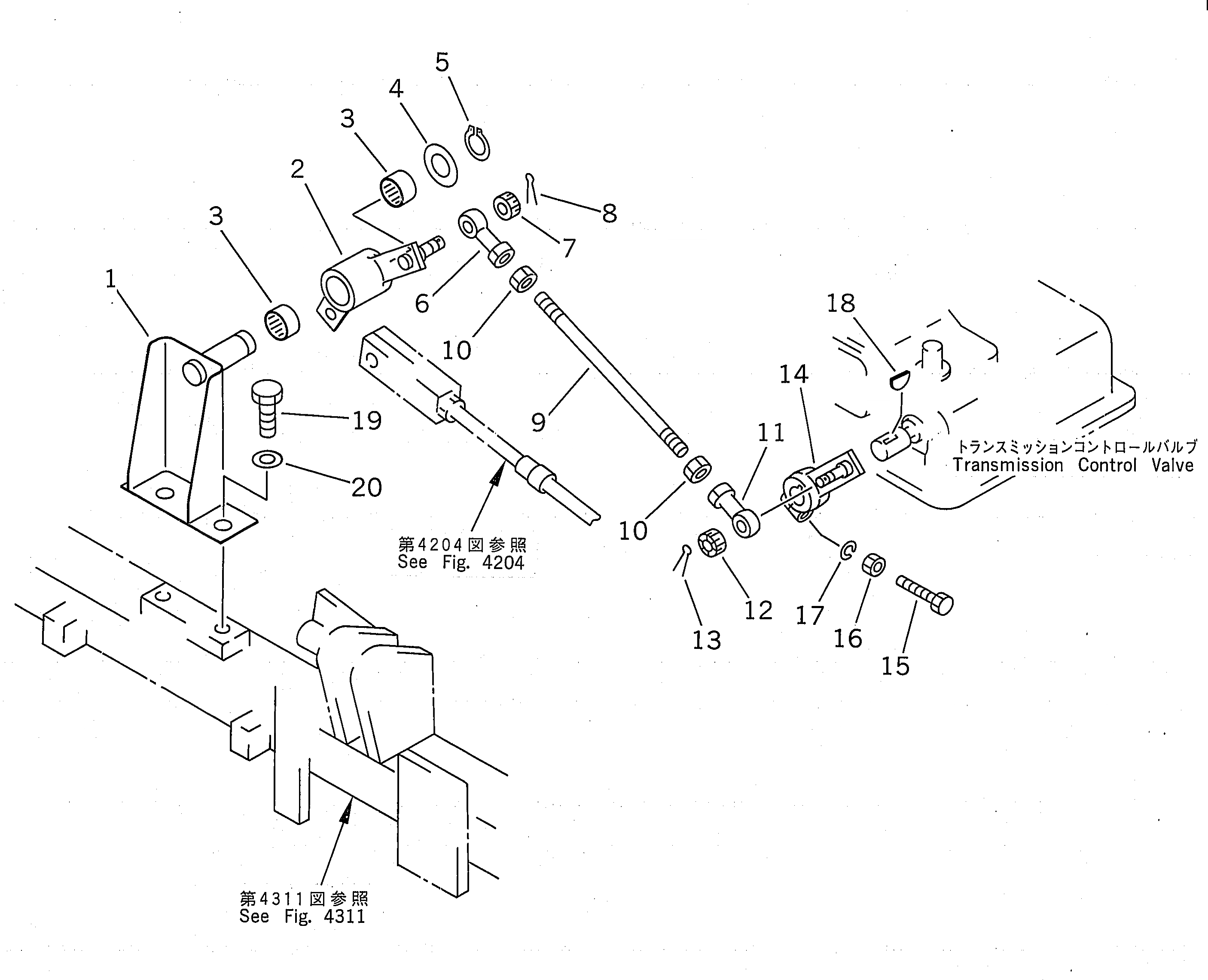
G-1

0

JOINT GROUP

SN: 35001-UP

1шт.

|$$2

====================

-1шт.

1

154-43-43170

BRACKET

SN: 35001-UP

1шт.

2

154-43-43180

LEVER

SN: 35001-UP

1шт.

3

195-43-43190

BEARING

SN: 35001-UP

2шт.

4

01640-22032

WASHER

SN: 35001-UP

1шт.

5

04064-02012

RING,SNAP

SN: 35001-UP

1шт.

6

04250-81056

END,ROD

SN: 35001-UP

1шт.

7

01593-11008

NUT

SN: 35001-UP

1шт.

8

04050-12018

PIN,COTTER

SN: 35001-UP

1шт.

|$$11

====================

-1шт.

9

04245-41023

ROD

SN: 35001-UP

1шт.

10

01582-11008

NUT

SN: 35001-UP

2шт.

11

04250-81056

END,ROD

SN: 35001-UP

1шт.

12

01593-11008

NUT

SN: 35001-UP

1шт.

13

04050-12018

PIN,COTTER

SN: 35001-UP

1шт.

14

154-43-43190

LEVER

SN: 35001-UP

1шт.

15

01016-50850

BOLT

SN: 35001-UP

1шт.

16

01580-10806

NUT

SN: 35001-UP

1шт.

17

01602-20825

WASHER,SPRING

SN: 35001-UP

1шт.

18

04010-00516

KEY

SN: 35001-UP

1шт.

19

01010-51225

BOLT

SN: 35001-UP

2шт.

20

01643-31232

WASHER

SN: 35001-UP

2шт.

Выбрано товаров: 23