Запчасти Komatsu 6D140-1A ГЛУШИТЕЛЬ И КРЕПЛЕНИЕ(№-) ГОЛОВКА ЦИЛИНДРОВ

Схема запчастей Komatsu 6D140-1A - ГЛУШИТЕЛЬ И КРЕПЛЕНИЕ(№-) ГОЛОВКА ЦИЛИНДРОВ
FIT
1:1
100%

Артикул

Название

Примечание

Количество

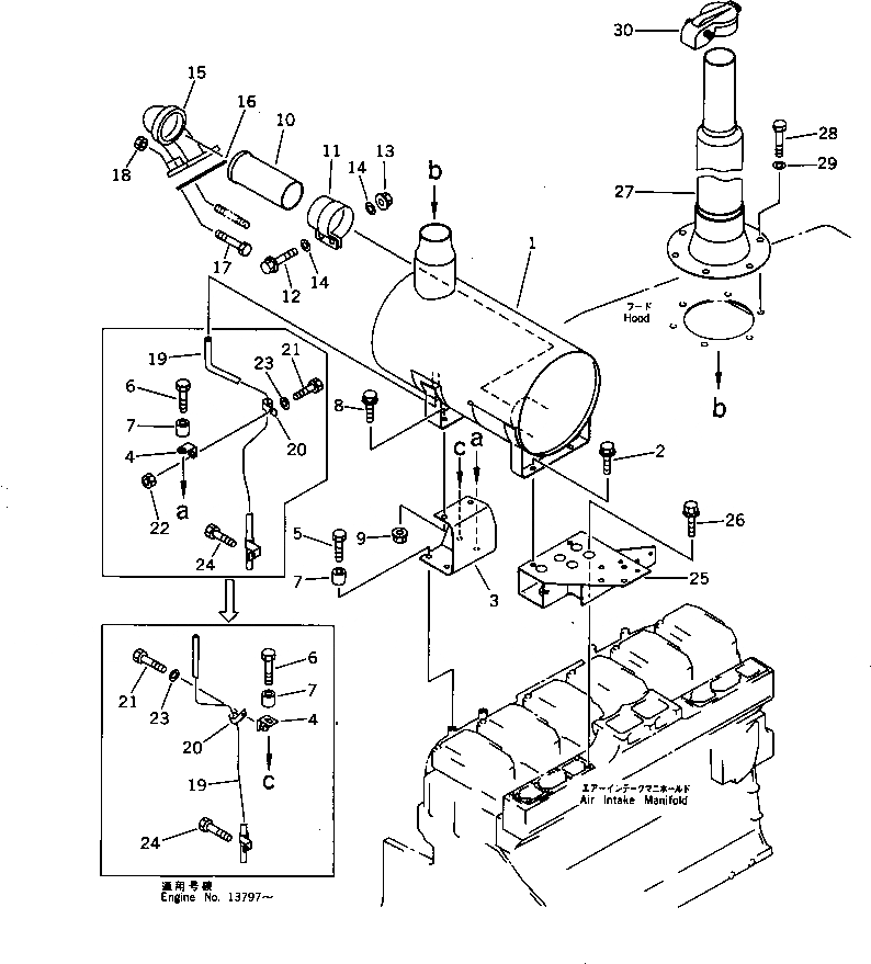
1

6210-11-5111

MUFFLER

SN: 11200-@

1шт.

2

01435-01030

BOLT

SN: 11200-@

2шт.

3

6210-11-5930

BRACKET

SN: 11200-@

1шт.

4

6210-11-5950

PLATE

SN: 13797-@

1шт.

|4

6127-11-4421

PLATE

SN: 11200-13796

1шт.

5

01010-61040

BOLT

SN: 11200-@

3шт.

6

01010-61045

BOLT

SN: 11200-@

1шт.

7

6631-11-5630

SPACER

SN: 11200-@

4шт.

8

01435-01030

BOLT

SN: 11200-@

2шт.

9

01584-01008

NUT

SN: 11200-@

2шт.

10

6210-11-5220

TUBE

SN: 11200-15404

1шт.

11

6210-11-5232

CLAMP

SN: 15222-@

1шт.

|11

0

CLAMP

SN: 11942-15221

1шт.

|11

6210-11-5231

CLAMP (K1)

SN: 11200-11941

1шт.

12

01010-51230

BOLT

SN: 11200-@

2шт.

13

01580-01210

NUT

SN: 11200-@

2шт.

14

01643-51232

WASHER

SN: 11200-@

4шт.

15

6210-11-5211

CONNECTOR

SN: 11200-15404

1шт.

16

6151-11-5710

GASKET (K1)

SN: 11200-@

1шт.

17

6138-13-4510

BOLT

SN: 11200-@

2шт.

18

6114-11-5590

NUT

SN: 11200-@

4шт.

19

6210-11-5922

TUBE

SN: 13797-@

1шт.

|19

6210-11-5921

TUBE

SN: 11200-13796

1шт.

20

6991-11-5990

CLAMP

SN: 11200-@

1шт.

21

01010-31020

BOLT

SN: 13797-@

1шт.

|21

01010-31025

BOLT

SN: 11200-13796

1шт.

22

01580-01008

NUT

SN: 11200-13796

1шт.

23

01640-21016

WASHER

SN: 11200-@

1шт.

24

01010-31016

BOLT

SN: 11200-@

1шт.

25

6210-11-5942

BRACKET

SN: 15255-@

1шт.

|25

6210-11-5941

BRACKET

SN: 11200-15254

1шт.

26

01435-01030

BOLT

SN: 11200-@

5шт.

27

6150-11-5761

PIPE,EXHAUST

SN: 11396-@

1шт.

|27

0

PIPE,EXHAUST

SN: 11200-11395

1шт.

28

01010-51230

BOLT

SN: 11200-@

6шт.

29

175-54-34170

WASHER

SN: 11200-@

6шт.

30

6150-11-5770

CAP

SN: 11200-@

1шт.

1

6210-11-5111

MUFFLER

SN: 11200-@

1шт.

2

01435-01030

BOLT

SN: 11200-@

2шт.

3

6210-11-5930

BRACKET

SN: 11200-@

1шт.

4

6210-11-5950

PLATE

SN: 13797-@

1шт.

|4

6127-11-4421

PLATE

SN: 11200-13796

1шт.

5

01010-61040

BOLT

SN: 11200-@

3шт.

6

01010-61045

BOLT

SN: 11200-@

1шт.

7

6631-11-5630

SPACER

SN: 11200-@

4шт.

8

01435-01030

BOLT

SN: 11200-@

2шт.

9

01584-01008

NUT

SN: 11200-@

2шт.

10

6210-11-5220

TUBE

SN: 11200-15404

1шт.

11

6210-11-5232

CLAMP

SN: 15222-@

1шт.

|11

0

CLAMP

SN: 11942-15221

1шт.

|11

6210-11-5231

CLAMP (K1)

SN: 11200-11941

1шт.

12

01010-51230

BOLT

SN: 11200-@

2шт.

13

01580-01210

NUT

SN: 11200-@

2шт.

14

01643-51232

WASHER

SN: 11200-@

4шт.

15

6210-11-5211

CONNECTOR

SN: 11200-15404

1шт.

16

6151-11-5710

GASKET (K1)

SN: 11200-@

1шт.

17

6138-13-4510

BOLT

SN: 11200-@

2шт.

18

6114-11-5590

NUT

SN: 11200-@

4шт.

19

6210-11-5922

TUBE

SN: 13797-@

1шт.

|19

6210-11-5921

TUBE

SN: 11200-13796

1шт.

20

6991-11-5990

CLAMP

SN: 11200-@

1шт.

21

01010-31020

BOLT

SN: 13797-@

1шт.

|21

01010-31025

BOLT

SN: 11200-13796

1шт.

22

01580-01008

NUT

SN: 11200-13796

1шт.

23

01640-21016

WASHER

SN: 11200-@

1шт.

24

01010-31016

BOLT

SN: 11200-@

1шт.

25

6210-11-5942

BRACKET

SN: 15255-@

1шт.

|25

6210-11-5941

BRACKET

SN: 11200-15254

1шт.

26

01435-01030

BOLT

SN: 11200-@

5шт.

27

6150-11-5761

PIPE,EXHAUST

SN: 11396-@

1шт.

|27

0

PIPE,EXHAUST

SN: 11200-11395

1шт.

28

01010-51230

BOLT

SN: 11200-@

6шт.

29

175-54-34170

WASHER

SN: 11200-@

6шт.

30

6150-11-5770

CAP

SN: 11200-@

1шт.

Выбрано товаров: 74