Запчасти Komatsu 6D140-1A БЛОК ЦИЛИНДРОВ (/) БЛОК ЦИЛИНДРОВ

Схема запчастей Komatsu 6D140-1A - БЛОК ЦИЛИНДРОВ (/) БЛОК ЦИЛИНДРОВ
FIT
1:1
100%

Артикул

Название

Примечание

Количество

|1

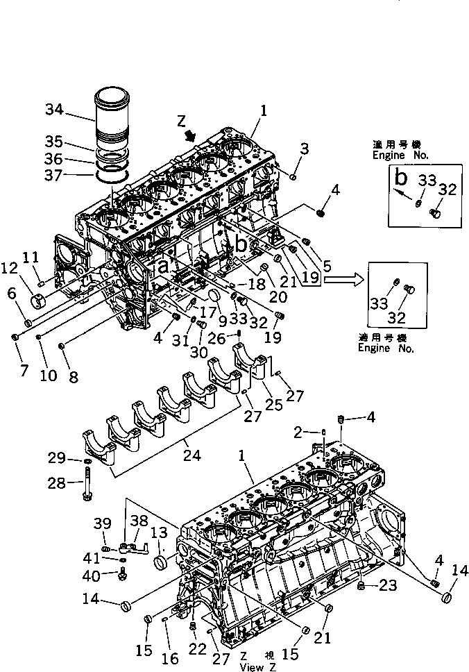
6211-21-1103

CYLINDER BLOCK ASS'Y

SN: .-UP

1шт.

|1

0

CYLINDER BLOCK ASS'Y

SN: 11200-.

1шт.

1

0

BLOCK,CYLINDER

SN: .-UP

1шт.

|1

0

BLOCK,CYLINDER

SN: 11200-.

1шт.

2

04020-00820

PIN,DOWEL

SN: 11200-UP

12шт.

3

6150-41-2430

PIN,DOWEL

SN: 13963-UP

12шт.

|3

0

PIN,DOWEL

SN: 11200-13962

12шт.

4

07043-70108

PLUG

SN: 11200-UP

11шт.

5

07042-70108

PLUG

SN: 11200-UP

2шт.

6

07046-42516

PLUG

SN: 11200-UP

2шт.

7

07046-41810

PLUG

SN: 11200-UP

2шт.

8

07046-11816

PLUG

SN: 11200-UP

2шт.

9

6210-21-1790

BUSHING

SN: 11200-UP

2шт.

10

07046-41008

PLUG

SN: 11200-UP

1шт.

11

6210-21-1910

PIN

SN: 11200-UP

3шт.

12

6210-21-1490

BUSHING,CAMSHAFT

SN: 11200-UP

7шт.

13

07046-47020

PLUG

SN: 11200-UP

1шт.

14

07046-43516

PLUG

SN: 11200-UP

7шт.

15

6210-81-9210

PLUG

SN: 11200-UP

2шт.

16

6150-21-4770

PIN,DOWEL

SN: 11200-UP

2шт.

17

6150-21-5910

BUSHING

SN: 11200-UP

1шт.

18

04020-01024

PIN,DOWEL

SN: 11200-UP

2шт.

19

07043-00211

PLUG

SN: .-UP

1шт.

|19

07043-00211

PLUG

SN: 11200-.

2шт.

20

07046-42010

PLUG

SN: 11200-UP

1шт.

21

07046-42816

PLUG

SN: 11200-UP

2шт.

22

07043-00415

PLUG

SN: 11200-UP

1шт.

23

07043-71019

PLUG

SN: 11200-UP

1шт.

24

0

CAP,MAIN METAL¤ NO.1¤2¤3¤4¤5¤6

SN: 11200-UP

6шт.

25

0

CAP,MAIN METAL¤ NO.7

SN: 11200-UP

1шт.

26

04020-00514

PIN,DOWEL

SN: 11200-UP

2шт.

27

6210-21-1390

PIN

SN: 11200-UP

6шт.

28

6210-21-1710

BOLT

SN: 11200-UP

14шт.

29

01643-31845

WASHER

SN: 11200-UP

14шт.

30

07040-11007

PLUG

SN: .-UP

2шт.

|30

07040-11007

PLUG

SN: 11200-.

1шт.

31

07005-01012

GASKET (K2)

SN: .-UP

2шт.

|31

07005-01012

GASKET (K2)

SN: 11200-.

1шт.

32

07040-11409

PLUG

SN: .-UP

4шт.

|32

07040-11409

PLUG

SN: 11200-.

1шт.

33

07005-01412

GASKET (K2)

SN: .-UP

4шт.

|33

07005-01412

GASKET (K2)

SN: 11200-.

1шт.

34

6211-21-2220

LINER,CYLINDER

SN: 11200-UP

6шт.

35

6210-21-2250

SEAL,CREVICE (K2)

SN: 11200-UP

6шт.

36

6210-21-2240

O-RING,CENTER (K2)

SN: 11200-UP

6шт.

37

6210-21-2230

O-RING,LOWER (K2)

SN: 11200-UP

6шт.

|38

6211-21-1800

NOZZLE ASS'Y

SN: 11200-UP

6шт.

38

6211-21-1820

NOZZLE

SN: 11200-UP

1шт.

39

02720-40104

PLUG

SN: 11200-UP

1шт.

40

6150-81-9120

BOLT

SN: 11200-UP

6шт.

41

01641-21016

WASHER

SN: 11200-UP

6шт.

|1

6211-21-1103

CYLINDER BLOCK ASS'Y

SN: .-UP

1шт.

|1

0

CYLINDER BLOCK ASS'Y

SN: 11200-.

1шт.

1

0

BLOCK,CYLINDER

SN: .-UP

1шт.

|1

0

BLOCK,CYLINDER

SN: 11200-.

1шт.

2

04020-00820

PIN,DOWEL

SN: 11200-UP

12шт.

3

6150-41-2430

PIN,DOWEL

SN: 13963-UP

12шт.

|3

0

PIN,DOWEL

SN: 11200-13962

12шт.

4

07043-70108

PLUG

SN: 11200-UP

11шт.

5

07042-70108

PLUG

SN: 11200-UP

2шт.

6

07046-42516

PLUG

SN: 11200-UP

2шт.

7

07046-41810

PLUG

SN: 11200-UP

2шт.

8

07046-11816

PLUG

SN: 11200-UP

2шт.

9

6210-21-1790

BUSHING

SN: 11200-UP

2шт.

10

07046-41008

PLUG

SN: 11200-UP

1шт.

11

6210-21-1910

PIN

SN: 11200-UP

3шт.

12

6210-21-1490

BUSHING,CAMSHAFT

SN: 11200-UP

7шт.

13

07046-47020

PLUG

SN: 11200-UP

1шт.

14

07046-43516

PLUG

SN: 11200-UP

7шт.

15

6210-81-9210

PLUG

SN: 11200-UP

2шт.

16

6150-21-4770

PIN,DOWEL

SN: 11200-UP

2шт.

17

6150-21-5910

BUSHING

SN: 11200-UP

1шт.

18

04020-01024

PIN,DOWEL

SN: 11200-UP

2шт.

19

07043-00211

PLUG

SN: .-UP

1шт.

|19

07043-00211

PLUG

SN: 11200-.

2шт.

20

07046-42010

PLUG

SN: 11200-UP

1шт.

21

07046-42816

PLUG

SN: 11200-UP

2шт.

22

07043-00415

PLUG

SN: 11200-UP

1шт.

23

07043-71019

PLUG

SN: 11200-UP

1шт.

24

0

CAP,MAIN METAL¤ NO.1¤2¤3¤4¤5¤6

SN: 11200-UP

6шт.

25

0

CAP,MAIN METAL¤ NO.7

SN: 11200-UP

1шт.

26

04020-00514

PIN,DOWEL

SN: 11200-UP

2шт.

27

6210-21-1390

PIN

SN: 11200-UP

6шт.

28

6210-21-1710

BOLT

SN: 11200-UP

14шт.

29

01643-31845

WASHER

SN: 11200-UP

14шт.

30

07040-11007

PLUG

SN: .-UP

2шт.

|30

07040-11007

PLUG

SN: 11200-.

1шт.

31

07005-01012

GASKET (K2)

SN: .-UP

2шт.

|31

07005-01012

GASKET (K2)

SN: 11200-.

1шт.

32

07040-11409

PLUG

SN: .-UP

4шт.

|32

07040-11409

PLUG

SN: 11200-.

1шт.

33

07005-01412

GASKET (K2)

SN: .-UP

4шт.

|33

07005-01412

GASKET (K2)

SN: 11200-.

1шт.

34

6211-21-2220

LINER,CYLINDER

SN: 11200-UP

6шт.

35

6210-21-2250

SEAL,CREVICE (K2)

SN: 11200-UP

6шт.

36

6210-21-2240

O-RING,CENTER (K2)

SN: 11200-UP

6шт.

37

6210-21-2230

O-RING,LOWER (K2)

SN: 11200-UP

6шт.

|38

6211-21-1800

NOZZLE ASS'Y

SN: 11200-UP

6шт.

38

6211-21-1820

NOZZLE

SN: 11200-UP

1шт.

39

02720-40104

PLUG

SN: 11200-UP

1шт.

40

6150-81-9120

BOLT

SN: 11200-UP

6шт.

41

01641-21016

WASHER

SN: 11200-UP

6шт.

Выбрано товаров: 102