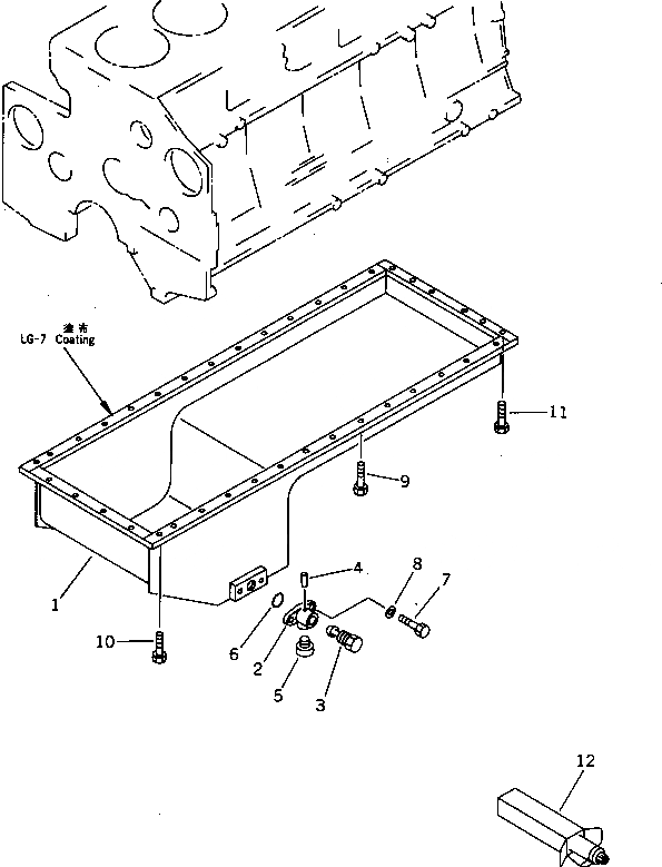
Запчасти Komatsu 6D140-1A МАСЛЯНЫЙ ПОДДОН(№-8) БЛОК ЦИЛИНДРОВ

Схема запчастей Komatsu 6D140-1A - МАСЛЯНЫЙ ПОДДОН(№-8) БЛОК ЦИЛИНДРОВ
FIT
1:1
100%

Артикул

Название

Примечание

Количество

1

\4\6210-21-5172

PAN,OIL

SN: 11823-@

1шт.

|$$2

(6210-21-5173{6210-51-6113¤}

-1шт.

|$$3

6210-51-6131{6150-81-9230(6)¤}

-1шт.

|$$4

01010-51030(6))

-1шт.

|1

0

PAN,OIL

SN: 11200-11822

1шт.

|2

6693-22-5600

VALVE ASS'Y

SN: 11200-@

1шт.

2

0

BODY

SN: 11200-@

1шт.

3

0

VALVE

SN: 11200-@

1шт.

4

04020-00514

PIN,DOWEL

SN: 11200-@

1шт.

5

07040-02412

PLUG

SN: 11200-@

1шт.

6

07000-63028

O-RING (K2)

SN: 11200-@

1шт.

7

01010-31025

BOLT

SN: 11200-@

2шт.

8

01640-21016

WASHER

SN: 11200-@

2шт.

9

01010-51030

BOLT

SN: 11200-@

26шт.

10

01010-51025

BOLT

SN: 11200-@

6шт.

11

6150-81-9120

BOLT

SN: 11200-@

6шт.

12

09920-00150

LIQUID GASKET,LG-7¤ 150G

SN: 11200-12803

-2шт.

1

\4\6210-21-5172

PAN,OIL

SN: 11823-@

1шт.

|$$2

(6210-21-5173{6210-51-6113¤}

-1шт.

|$$3

6210-51-6131{6150-81-9230(6)¤}

-1шт.

|$$4

01010-51030(6))

-1шт.

|1

0

PAN,OIL

SN: 11200-11822

1шт.

|2

6693-22-5600

VALVE ASS'Y

SN: 11200-@

1шт.

2

0

BODY

SN: 11200-@

1шт.

3

0

VALVE

SN: 11200-@

1шт.

4

04020-00514

PIN,DOWEL

SN: 11200-@

1шт.

5

07040-02412

PLUG

SN: 11200-@

1шт.

6

07000-63028

O-RING (K2)

SN: 11200-@

1шт.

7

01010-31025

BOLT

SN: 11200-@

2шт.

8

01640-21016

WASHER

SN: 11200-@

2шт.

9

01010-51030

BOLT

SN: 11200-@

26шт.

10

01010-51025

BOLT

SN: 11200-@

6шт.

11

6150-81-9120

BOLT

SN: 11200-@

6шт.

12

09920-00150

LIQUID GASKET,LG-7¤ 150G

SN: 11200-12803

-2шт.

Выбрано товаров: 34